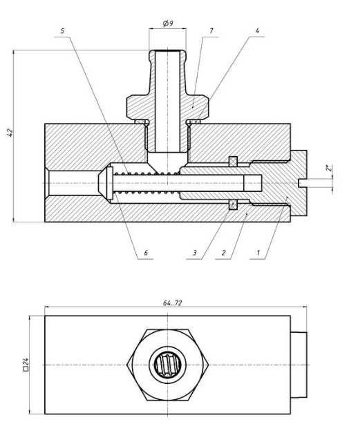
Для студентов МГТУ им. Н.Э.Баумана по предмету Технология машиностроения (ТМ)Сборка узла «Клапан антикавитационный» и изготовление детали «Корпус» Сборка узла «Клапан антикавитационный» и изготовление детали «Корпус»
4,78522272
2017-12-222017-12-22СтудИзба
Курсовая работа: Сборка узла «Клапан антикавитационный» и изготовление детали «Корпус»
Описание


Характеристики курсовой работы
Учебное заведение
Просмотров
428
Качество
Идеальное компьютерное
Размер
10,09 Mb
Список файлов
Сборка узла «Клапан антикавитационный» и изготовление детали «Корпус»
Сборка
1_-_Tekh_marshrut_proektiruemy.cdw
2Pn8CfrJyfU.jpg
2_-_Operatsionka_list_1.frw
3_-_Operatsionka_list2.frw
4_-_Tekhnologichesky_skhemy.cdw
5_-_Prisposoblenia.cdw
6eHmFx424e8.jpg
Polnostyu.doc
ntZxVp60Yls (1).jpg
ntZxVp60Yls.jpg
ny9TFaMicaE.jpg
t_DUDjJBJIs.jpg
Юра
Klapan.dwg
Klapan.frw
~$Klapan.fr~
~$Чертеж.fr~
Чертеж.dwg
Чертеж.frw
Klapan_anitkavitatsionny.dwg
Klapan_anitkavitatsionny.frw
LIST4.01.00.СБ.xls
LIST_1.cdw
LIST_1.cdw.bak
LIST_2.cdw
LIST_2.cdw.bak
LIST_2_1.cdw
LIST_2_1.cdw.bak
LIST_3.cdw

Зарабатывай на студизбе! Просто выкладывай то, что так и так делаешь для своей учёбы: ДЗ, шпаргалки, решённые задачи и всё, что тебе пригодилось.
Начать зарабатывать
Начать зарабатывать