Для студентов МГТУ им. Н.Э.Баумана по предмету Технология конструкционных материалов (ТКМ)Разработка технологии изготовления отливок - СтаканРазработка технологии изготовления отливок - Стакан
5,0054
2023-05-012023-05-01СтудИзба
ДЗ 1: Разработка технологии изготовления отливок - Стакан вариант 2
Описание
Принято Бекаевым
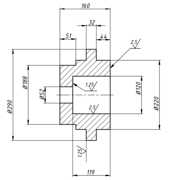
По заданному эскизу детали требуется изобразить форму отливки, определить коэффициент использования материала (КИМ), из нескольких возможных вариантов литья в песчаную форму выбрать наиболее рациональный и для него проработать литейную форму с модельным комплектом.
С учебной целью упрощения выполнения домашнего задания принимаем следующие допущения, используя справочник [1]:
● все отливки получаем литьем в песчаные формы с использованием или без использования стержней;
● все отливки имеют 7-12 класс точности;
● радиусы округления пересекающихся поверхностей (галтели) составляет 5-7 мм для наружных поверхностей, 7-9 мм – для внутренних;
● формовочные уклоны и припуски под дальнейшую механообработку определять по таблицам 7 и 8, справочника [1] (стр. 93-94);
● размеры стержневых знаков выбрать из таблиц 9 и 10, справочника [1] (стр. 94);
● при подсчѐте КИМ не учитывать объѐм металла, идущий на заполнение литниковой системы с последующим застыванием в ней.
![]()
По заданному эскизу детали требуется изобразить форму отливки, определить коэффициент использования материала (КИМ), из нескольких возможных вариантов литья в песчаную форму выбрать наиболее рациональный и для него проработать литейную форму с модельным комплектом.
С учебной целью упрощения выполнения домашнего задания принимаем следующие допущения, используя справочник [1]:
● все отливки получаем литьем в песчаные формы с использованием или без использования стержней;
● все отливки имеют 7-12 класс точности;
● радиусы округления пересекающихся поверхностей (галтели) составляет 5-7 мм для наружных поверхностей, 7-9 мм – для внутренних;
● формовочные уклоны и припуски под дальнейшую механообработку определять по таблицам 7 и 8, справочника [1] (стр. 93-94);
● размеры стержневых знаков выбрать из таблиц 9 и 10, справочника [1] (стр. 94);
● при подсчѐте КИМ не учитывать объѐм металла, идущий на заполнение литниковой системы с последующим застыванием в ней.

Характеристики домашнего задания
Учебное заведение
Номер задания
Вариант
Просмотров
177
Качество
Идеальное компьютерное
Размер
1,4 Mb
Список файлов
DZ1.pdf
Комментарии
Нет комментариев
Стань первым, кто что-нибудь напишет!
МГТУ им. Н.Э.Баумана


















