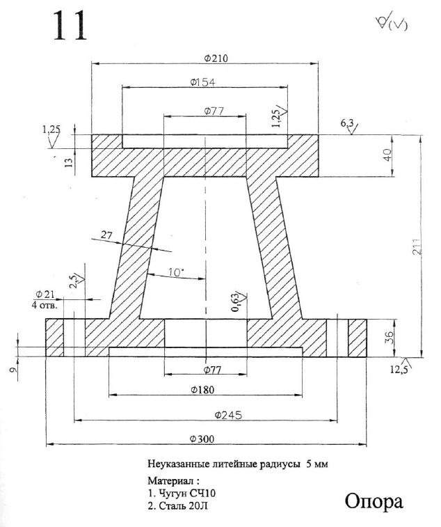
Для студентов МГТУ им. Н.Э.Баумана по предмету Технология конструкционных материалов (ТКМ)Разработка технологии изготовления отливок - ОпораРазработка технологии изготовления отливок - Опора
5,0059
2013-10-202024-09-01СтудИзба
ДЗ 1: Разработка технологии изготовления отливок - Опора вариант 11
-51%
Описание
Содержание
- 1, Расчет массы изготовляемой детали
- 2. Анализ чертежа детали. Паспорт детали
- 3. Выбор метода и способа изготовления заготовки
- 4. Разработка чертежа модели и эскиза литейной формы
- 4.1 Уточнение чертежа детали
- 4.2 Выбор расположения модели отливки в литейной форме
- 4.3 Расчет припуска на механическую обработку
- 4.4 Выбор величины формовочных уклонов
- 4.5 Расчет скруглений между пересекающимися поверхностями
- 4.6 Определение количества стержней, их границ и размеров стержневых знаков
- 4.7 Выбор припуска на усадку
- 4.8 Проектирование литниковой системы
- 4.9. Определение времени заливки литейной формы
- 5.Анализ технологичности конструкции литой детали
- 6. Механическая обработка
- Список использованной литературы
Чертежи
- Отливка
- Литейная форма
Характеристики домашнего задания
Учебное заведение
Номер задания
Вариант
Просмотров
1794
Качество
Идеальное компьютерное
Размер
136,81 Kb
Список файлов
Разработка технологии изготовления отливок - Опора
Разработка технологии изготовления отливок - Опора.doc
Чертежи.dwg
Чертежи.frw

Вам все понравилось? Получите кэшбэк - 40 рублей на Ваш счёт при покупке. Поставьте оценку и напишите положительный комментарий к купленному файлу. После Вы получите деньги на ваш счет.