Для студентов МГТУ им. Н.Э.Баумана по предмету Сопротивление материаловРастяжение — сжатие, КручениеРастяжение — сжатие, Кручение
5,0057
2013-08-172024-11-23СтудИзба
ДЗ 2: Растяжение — сжатие, Кручение вариант 23
-30%
Описание
Нужна только одна задача из всех? - Нажимай на ссылку
![]() | ![]() | ![]() |
Образец ![]()
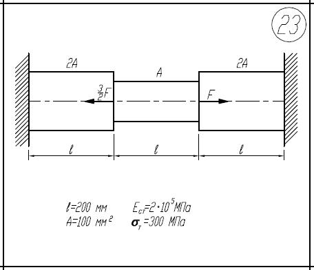
Показать/скрыть дополнительное описаниеОпределить коэффициент запаса по текучести n/Т. Как изменится коэффициент запаса, если стержень 1 нагреть на ΔT? F=8кН; l=1м; A=200мм2/; E=2*105/МПа; σ/Т=240МПа; ΔT=50°С; α=12*10-6/1/град 1)Определить силу F, при которой в системе возникнут первые пластические деформации. 2)Построить эпюры N,σ,w для стержня и трубки при этом значении силы F. l=200мм; A=100мм2/; E=2*105/МПа; σ/Т=300МПа При каком значении момента Х вал будет равнопрочным? Для найденного значения Х построить эпюры М/к, τ/max, φ. Вычислить коэффициент запаса по текучести, если: τ/Т=240МПа; d=0,01м=10мм; М=140Нм; l=0,5м=500мм; G=8*104/МПа.
Файлы условия, демо
Характеристики домашнего задания
Предмет
Учебное заведение
Семестр
Номер задания
Вариант
Программы
Теги
Просмотров
4542
Качество
Идеальное компьютерное
Размер
585,51 Kb
Список файлов
Вариант 23 - Задача 2.1.pdf
Вариант 23 - Задача 2.2.pdf
Вариант 23 - Задача 3.pdf
Вариант 23 - Растяжение-сжатие, Кручение.pdf

Вам все понравилось? Получите кэшбэк - 40 рублей на Ваш счёт при покупке. Поставьте оценку и напишите положительный комментарий к купленному файлу. После Вы получите деньги на ваш счет.