Для студентов МГТУ им. Н.Э.Баумана по предмету Сопротивление материаловСтатически определимые балкиСтатически определимые балки
5,0059
2022-04-092025-10-21СтудИзба
ДЗ 3: Статически определимые балки вариант 7
-69%
Описание
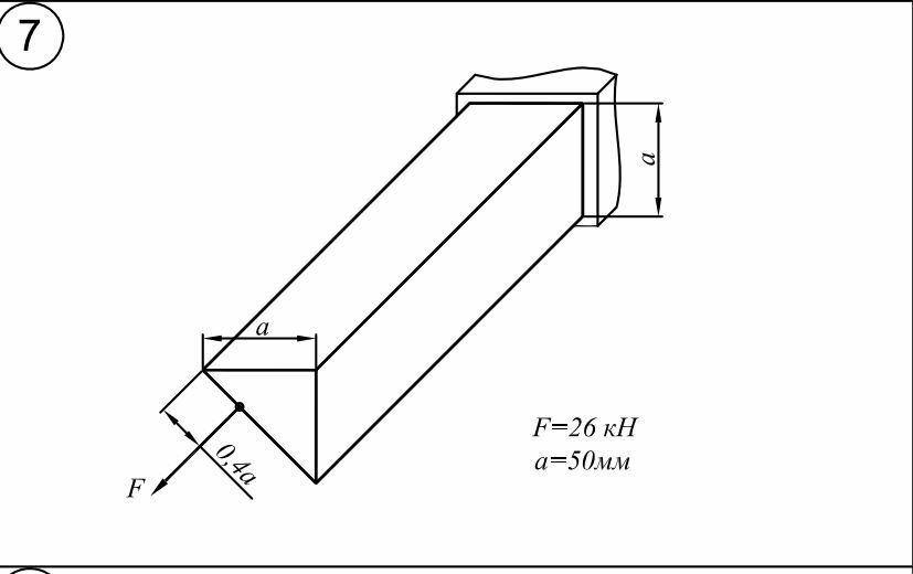
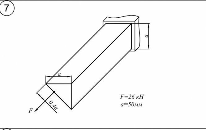
2022г Вариант 7 - ДЗ №4 - Статически определимые балки - Задача 1 + Задача 2
Задача 2
Зачтено на максимальный балл
Задача 1



Задача 2



Характеристики домашнего задания
Предмет
Учебное заведение
Семестр
Номер задания
Вариант
Теги
Просмотров
605
Качество
Фото рукописных листов
Размер
10,63 Mb
Список файлов
1.jpg
2.JPG
3.jpg
4.jpg
5.jpg
6.jpg
7.jpg
8.jpg
9.jpg
10.jpg
11.jpg
12.jpg
13.jpg

Друзья, спасибо за доверие! Если вам понравилась работа – поставьте 5⭐ и напишите отзыв. Это поможет другим студентам, а мне даст силы делать ещё больше качественных материалов для вас 🔥