Для студентов МФПУ «Синергия» по предмету Системы газоснабжения предприятий теплоэнергетикиСистемы газоснабжения предприятий теплоэнергетики Итоговый, компетентностный тестСистемы газоснабжения предприятий теплоэнергетики Итоговый, компетентностный тест
4,99521143
2025-05-252025-05-25СтудИзба
📚 Коллекция ответов по предмету Системы газоснабжения предприятий теплоэнергетики в Синергии – большая база! 💯
Ответы к заданиям Итоговый: Системы газоснабжения предприятий теплоэнергетики Итоговый, компетентностный тест
Описание
Крупная база ответов к предмету🔥 Системы газоснабжения предприятий теплоэнергетики 🔥
С помощью данной коллекции вы 100% сдадите ЛЮБОЙ тест.
▶️ Готовые практики / Готовые базы ответов / Отдельные ответы ◀️
➡️ Любой тест / Любая практика / Любая НИР ⬅️
🗝️ Сессия под ключ 🗝️
(жми на нужную ссылку! 😉 )
С помощью данной коллекции вы 100% сдадите ЛЮБОЙ тест.
▶️ Готовые практики / Готовые базы ответов / Отдельные ответы ◀️
➡️ Любой тест / Любая практика / Любая НИР ⬅️
🗝️ Сессия под ключ 🗝️
(жми на нужную ссылку! 😉 )
- Итоговая аттестация
- Итоговый тест
- Компетентностный тест
- Заключение
Список вопросов
Производительность бытовых горелок для котлов малой мощности, составляет …
К примесям газообразного топлива относят …
Все природные газы…
Газы, добываемые из чисто газовых месторождений …
Газы, которые выделяются из скважин нефтяных месторождений …
В состав попутного нефтяного газа входят углеводороды …
… – это твердые и жидкие вещества, входящие в состав газа и снижающие его теплоту сгорания
Для компенсации потери энергии газа при движении по трубопроводу примерно через 150 км друг от друга располагают …
Коррозия, возникающая при соприкосновении металла с влагой почвы, содержащей растворенный кислород, называется …
Исходя из приведенного рисунка, можно утверждать, что затвор обозначен цифрой … ![]()

Участок газопровода от отключающего устройства на вводе в здание до внутреннего газопровода – это … участок
Для предупреждения возможности повышения давления газа сверх установленных пределов используют …
Для автоматического прекращения движения газа к аварийному участку при нарушении заданного режима используют …
Прокладку газопроводов в грунтах с включением строительного мусора и перегноя следует предусматривать с устройством под газопровод основания из мягкого или песчаного грунта толщиной не менее…
Единица измерения удельной теплоты сгорания газа …
Минимальному количеству газа в смеси, при которых происходит воспламенение и самопроизвольное распространение пламени, соответствует …
При разбавлении горючей смеси воздухом, кислородом или газом, тепловые потери …
При большой скорости движения газовоздушной смеси наблюдается … – количественное отделение пламени
Нормы расхода газа на производство тепла не подразделяются на …
Для подачи питательной воды в котел предназначены … насосы
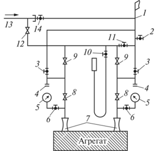
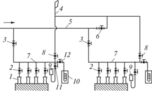
Исходя из приведенного рисунка, можно утверждать, что представлена схема газопроводов на агрегатах, оборудованных… ![]()

Проект газоснабжения переходит в стадию реализации после …
Отношения по территориальному планированию, градостроительному зонированию, планировке территории, архитектурно-строительному проектированию, отношения по строительству объектов капитального строительства, их реконструкции, капитальному ремонту, сносу, а также по эксплуатации зданий, сооружений регулирует…
Согласно техническому регламенту №870 о безопасности сетей газораспределения и газопотребления в помещениях категорий А и П взрывопожарной опасности, если только это не пункт учета газа или здание ГРП, запрещено проектирование систем газоснабжения …
Оценка соответствия проектной документации требованиям законов и подзаконных актов и проверка достоверности определения сметной стоимости строительства объектов, если такой проверки требует закон, является предметом экспертизы проектной документации в соответствии …
Газы, которые добывают из конденсатных месторождений …
В основе … метода осушки лежит искусственное охлаждение газов, компримирование их, а также сочетание компримирования с охлаждением
Для возможности проведения ремонтов не реже чем через 25 км предусматривают установку …
Для выравнивания сезонной неравномерности потребления газа служат …
Коррозия, протекающая во влажном воздухе при обычной температуре, при которой поверхность металла покрывается пленкой влаги с растворенным кислородом, называется …
Газопроводы … давления служат для транспортирования газа в жилые и общественные здания, предприятия общественного питания, а также во встроенные в жилые и общественные здания отопительные котельные и предприятия бытового обслуживания
… газопровод предназначен для вывода в атмосферу над цехом из основного газопровода газовой среды, находящейся в нем перед подачей природного газа к горелкам топки в период их пуска
Исходя из приведенного рисунка с формами пьезометров, можно утверждать, что линия, получаемая при больших потерях давления на головных участках, обозначена цифрой … ![]()

… гласит, что алгебраическая сумма потерь давления на участках с движением газа по направлению часовой стрелки равна алгебраической сумме потерь давления газа против часовой стрелки
При подземном пересечении автострад газопровод прокладывают в специальные футляры, а концы футляров для герметичности уплотняют просмоленной льняной прядью с заливкой битумом. В этих местах газопроводы общей сети прокладывают на глубину …
Прокладка газопроводов, транспортирующих неосушенный газ, должна предусматриваться ниже зоны сезонного промерзания грунта с уклоном к конденсатосборникам не менее…
Если содержание газа в смеси превышает верхний предел воспламеняемости, такая смесь …
Температура продуктов адиабатического сгорания не зависит от …
Фронт пламени может быть остановлен, если создать встречное движение горючей смеси со скоростью, …
В вершине конуса горения скорость распространения пламени…
У основания конуса горения скорость распространения пламени…
При масштабах турбулентности, не превышающих толщину зоны ламинарного горения, конусный фронт пламени …
Исходя из приведенной схемы методов сжигания газа, можно утверждать, что буквой «а» обозначен … ![]()

Исходя из приведенной схемы методов сжигания газа, можно утверждать, что буквой «б» обозначен … ![]()

Смешивание воздуха и газа при горении происходит в … горелках
Промышленные газовые горелки – это горелки, производительность которых варьируется …
Минимальному количеству газа в смеси, при которых происходит воспламенение и самопроизвольное распространение пламени, соответствует …
Исходя из приведенного рисунка, можно утверждать, что представлена схема газопроводов на агрегатах, оборудованных… ![]()

… – это государственные подзаконные нормативные правовые акты с описаниями и требованиями безопасных и безвредных для человека, популяции людей и потомков факторов среды обитания и их оптимальных и безопасных количественных параметров
Характеристики ответов (шпаргалок) к заданиям
Тип
Коллекция: Ответы (шпаргалки) к заданиям
Учебное заведение
Номер задания
Программы
Просмотров
3
Качество
Идеальное компьютерное
Количество вопросов


Гарантия сдачи без лишних хлопот! ✅🎓 Ответы на тесты по любым дисциплинам, базы вопросов, работы и услуги для Синергии, МЭИ и других вузов – всё уже готово! 🚀 🎯📚 Гарантия качества – или возврат денег! 💰✅