Исходя из приведенного рисунка с формами пьезометров, можно утверждать, что линия, получаемая при больших потерях давления на головных участках, обозначена цифрой …
… – это государственные подзаконные нормативные правовые акты с описаниями и требованиями безопасных и безвредных для человека, популяции людей и потомков факторов среды обитания и их оптимальных и безопасных количественных параметров
Прокладка газопроводов, транспортирующих неосушенный газ, должна предусматриваться ниже зоны сезонного промерзания грунта с уклоном к конденсатосборникам не менее…
При подземном пересечении автострад газопровод прокладывают в специальные футляры, а концы футляров для герметичности уплотняют просмоленной льняной прядью с заливкой битумом. В этих местах газопроводы общей сети прокладывают на глубину …
… гласит, что алгебраическая сумма потерь давления на участках с движением газа по направлению часовой стрелки равна алгебраической сумме потерь давления газа против часовой стрелки
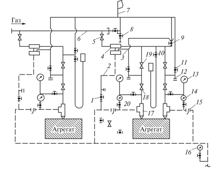
… газопровод предназначен для вывода в атмосферу над цехом из основного газопровода газовой среды, находящейся в нем перед подачей природного газа к горелкам топки в период их пуска
Газопроводы … давления служат для транспортирования газа в жилые и общественные здания, предприятия общественного питания, а также во встроенные в жилые и общественные здания отопительные котельные и предприятия бытового обслуживания
Коррозия, протекающая во влажном воздухе при обычной температуре, при которой поверхность металла покрывается пленкой влаги с растворенным кислородом, называется …
Оценка соответствия проектной документации требованиям законов и подзаконных актов и проверка достоверности определения сметной стоимости строительства объектов, если такой проверки требует закон, является предметом экспертизы проектной документации в соответствии …
Согласно техническому регламенту №870 о безопасности сетей газораспределения и газопотребления в помещениях категорий А и П взрывопожарной опасности, если только это не пункт учета газа или здание ГРП, запрещено проектирование систем газоснабжения …
Отношения по территориальному планированию, градостроительному зонированию, планировке территории, архитектурно-строительному проектированию, отношения по строительству объектов капитального строительства, их реконструкции, капитальному ремонту, сносу, а также по эксплуатации зданий, сооружений регулирует…
Прокладку газопроводов в грунтах с включением строительного мусора и перегноя следует предусматривать с устройством под газопровод основания из мягкого или песчаного грунта толщиной не менее…
Почему делать на заказ в разы дороже, чем купить готовую учебную работу на СтудИзбе? Наши учебные работы продаются каждый год, тогда как большинство заказов выполняются с нуля. Найдите подходящий учебный материал на СтудИзбе!
Да! У нас любой человек может выложить любую учебную работу и зарабатывать на её продажах! Но каждый учебный материал публикуется только после тщательной проверки администрацией.
Вернём деньги! А если быть более точными, то автору даётся немного времени на исправление, а если не исправит или выйдет время, то вернём деньги в полном объёме!
Да! На равне с готовыми студенческими работами у нас продаются услуги. Цены на услуги видны сразу, то есть Вам нужно только указать параметры и сразу можно оплачивать.
Отзывы студентов
Ставлю 10/10 Все нравится, очень удобный сайт, помогает в учебе. Кроме этого, можно заработать самому, выставляя готовые учебные материалы на продажу здесь. Рейтинги и отзывы на преподавателей очень помогают сориентироваться в начале нового семестра. Спасибо за такую функцию. Ставлю максимальную оценку.
Лучшая платформа для успешной сдачи сессии Познакомился со СтудИзбой благодаря своему другу, очень нравится интерфейс, количество доступных файлов, цена, в общем, все прекрасно. Даже сам продаю какие-то свои работы.
Студизба ван лав ❤ Очень офигенный сайт для студентов. Много полезных учебных материалов. Пользуюсь студизбой с октября 2021 года. Серьёзных нареканий нет. Хотелось бы, что бы ввели подписочную модель и сделали материалы дешевле 300 рублей в рамках подписки бесплатными.
Отличный сайт Лично меня всё устраивает - и покупка, и продажа; и цены, и возможность предпросмотра куска файла, и обилие бесплатных файлов (в подборках по авторам, читай, ВУЗам и факультетам). Есть определённые баги, но всё решаемо, да и администраторы реагируют в течение суток.
Маленький отзыв о большом помощнике! Студизба спасает в те моменты, когда сроки горят, а работ накопилось достаточно. Довольно удобный сайт с простой навигацией и огромным количеством материалов.
Студ. Изба как крупнейший сборник работ для студентов Тут дофига бывает всего полезного. Печально, что бывают предметы по которым даже одного бесплатного решения нет, но это скорее вопрос к студентам. В остальном всё здорово.
Спасательный островок Если уже не успеваешь разобраться или застрял на каком-то задание поможет тебе быстро и недорого решить твою проблему.
Всё и так отлично Всё очень удобно. Особенно круто, что есть система бонусов и можно выводить остатки денег. Очень много качественных бесплатных файлов.
Отзыв о системе "Студизба" Отличная платформа для распространения работ, востребованных студентами. Хорошо налаженная и качественная работа сайта, огромная база заданий и аудитория.
Отличный помощник Отличный сайт с кучей полезных файлов, позволяющий найти много методичек / учебников / отзывов о вузах и преподователях.
Отлично помогает студентам в любой момент для решения трудных и незамедлительных задач Хотелось бы больше конкретной информации о преподавателях. А так в принципе хороший сайт, всегда им пользуюсь и ни разу не было желания прекратить. Хороший сайт для помощи студентам, удобный и приятный интерфейс. Из недостатков можно выделить только отсутствия небольшого количества файлов.
Спасибо за шикарный сайт Великолепный сайт на котором студент за не большие деньги может найти помощь с дз, проектами курсовыми, лабораторными, а также узнать отзывы на преподавателей и бесплатно скачать пособия.
Этот сайт использует файлы cookie и рекомендательные технологии для улучшения работы и персонализации контента. Продолжая использовать сайт, вы соглашаетесь с этим.