Готовая курсовая работа расчет сооружений для очистки сточных вод физико-химическими методами (коагуляция, флотация, адсорбция)
Описание
В работе исследуются понятия «сточные воды», «коагуляция», «флотация», «адсорбция» и другие. Рассматриваются основные аспекты проектирования сооружений для очистки сточных вод.
Большое место уделено рассмотрению в целом физико-химическим методам.
Главное внимание обращается на расчет сооружений для очистки сточных вод физико-химическими методом флотокамеры.
В работе особо подчеркнуто, что промышленные сточные воды представляют собой важный источник загрязнения окружающей среды. Они содержат различные химические вещества, которые могут быть вредными для экосистемы и здоровья человека.
Работа представляет интерес с точки зрения техносферной безопасности.
Работа содержит 28 листов текста, 3 рисунка.
Содержание
Введение
1 Анализ особенностей промышленных сточных вод
1.1 Состав и свойства производственных сточных вод
1.2 Системы водоотведения городов и промышленных предприятий
1.3 Основные показатели качества сточных вод
2 Методы и сооружения для очистки производственных сточных вод
2.1 Метод коагуляции
2.2 Метод флотации
2.3 Метод абсорбции
3 Расчет и проектирование флотационных установок для очистки сточных вод
3.1 Правила проектирования систем пожаротушения
3.2 Расчет флотатора
Заключение
Список использованных источников
Введение
Промышленные сточные воды являются одним из основных источников загрязнения окружающей среды. Они содержат различные химические вещества, которые могут быть вредными для экосистемы и здоровья человека. Анализ особенностей промышленных сточных вод позволяет определить состав и концентрацию загрязняющих веществ, а также оценить степень их воздействия на окружающую среду.
Целью курсовой работы является расчет сооружений для очистки сточных вод физико-химическими методами (коагуляция, флотация, адсорбция).
Для достижения поставленной цели, были решены следующий перечень задач:
- проанализировать литературу по теме курсовой работы;
- проанализировать особенности промышленных сточных вод;
- провести анализ очистки физико-химическими методами (коагуляция, флотация, адсорбция);
Рисунок 1 – Схема флотатора-отстойника
Рисунок 2 – Схема флотатора
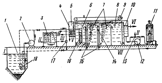
Рисунок 3 – Схема флотационной установки ЦНИИ-5Показать/скрыть дополнительное описание
Курсовая работа посвящена анализу и расчету сооружений для очистки сточных вод физико-химическими методами (коагуляция, флотация, адсорбция). В работе исследуются понятия «сточные воды», «коагуляция», «флотация», «адсорбция» и другие. Рассматриваются основные аспекты проектирования сооружений для очистки сточных вод. Большое место уделено рассмотрению в целом физико-химическим методам. Главное внимание обращается на расчет сооружений для очистки сточных вод физико-химическими методом флотокамеры. В работе особо подчеркнуто, что промышленные сточные воды представляют собой важный источник загрязнения окружающей среды. Они содержат различные химические вещества, которые могут быть вредными для экосистемы и здоровья человека.
Для осуществления процесса удаления загрязнений из нефтесодержащих сточных вод используется флотокамера радиального типа, разработанная Союзводоканалпроактом совместно с ВНИИ ВОДГЕО и ЦНИИ МПС. Экспериментальный проект этого сооружения выполнен на производительность 300, 600, 900 м3/ч, принципиальная схема флотатора-отстойника представлена на рисунке 1. Эта флотокамера наряду с ранее принятыми сооружениями, имеющими только непрерывное удаление пены, оборудована механизмами для удаления осадка, а также новым распределительным устройством для ввода обрабатываемой воды в сооружения.На рисунке 1 цифрами отмечено следующее: 1 – отводящий лоток; 2 – водораспределитель; 3 – пеносборный лоток; 4 – труба подачи воды; 5 – флотокамера; 6 – труба опорожнения и отвода осадка; 7 – скребки для сбора осадка; 8 – труба отвода пены (в плоскости разреза показана условно).
Сооружения представляют собой прямоугольный открытый бак, разделенный перегородками на четыре последовательно соединенные камеры, каждая из которых рассчитана на пребывание в ней воды в течение 6 мин. В камерах 5 и 7 происходит флотация частиц нефти и хлопьев коагулянта, а в камере 8 – окончательное выделение мелких пузырьков воздуха. В первой камере размещен вихревой смеситель, в котором очищаемая вода перемешивается с раствором коагулянта, подаваемым эжектором из затворно-дозирующего бака. Смеситель представляет собой вертикальный закрытый сверху цилиндр с коническим раструбом внизу. Очищаемая вода вводится в верхнюю часть смесителя через тангенциально расположенный патрубок и благодаря этому приобретает быстрое вращательное движение, используемое для смешивания воды с коагулянтом.
На рисунке 2 цифрами указано: 1 – вращающий водораспределитель; 2 – трубопровод опорожнения и отвода осадка; 3 – пеносборный лоток; 4 – трубопровод подачи воды на флотацию; 5 – отвод пены; 6 – отводящий лоток; 7 – окна опорожнения..
ОГУ
wise owl
















