Для студентов по предмету Процессы и аппараты химических технологий (ПАХТ)Насос перекачивает жидкость плотностью 960 кг/м3 из резервуара с атмосферным давлением в аппарат, давление в котором составляет Pизб=37 кгс/см2. ВысотНасос перекачивает жидкость плотностью 960 кг/м3 из резервуара с атмосферным давлением в аппарат, давление в котором составляет Pизб=37 кгс/см2. Высот
5,0051
2022-06-132022-06-13СтудИзба
Насос перекачивает жидкость плотностью 960 кг/м3 из резервуара с атмосферным давлением в аппарат, давление в котором составляет Pизб=37 кгс/см2. Высота подъёма 16 м. Общее сопротивление всасывающей и нагнетательной линий 65,6 м. Определить полный нап
Описание
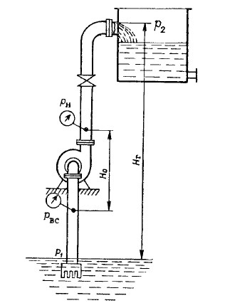
Насос перекачивает жидкость плотностью 960 кг/м3 из резервуара с атмосферным давлением в аппарат, давление в котором составляет Pизб=37 кгс/см2. Высота подъёма 16 м. Общее сопротивление всасывающей и нагнетательной линий 65,6 м. Определить полный напор, развиваемый насосом.
Характеристики решённой задачи
Номер задания
Вариант
Программы
Просмотров
19
Качество
Идеальное компьютерное
Размер
1,54 Mb
Список файлов
2.2.pdf
