Главная » Учебные материалы » Основы расчета и проектирования систем электроснабжения » Курсовые работы » СФУ » 8 семестр » Курсовой проект - Электроснабжение механического цеха тяжелого машиностроения
Для студентов СФУ по предмету Основы расчета и проектирования систем электроснабженияКурсовой проект - Электроснабжение механического цеха тяжелого машиностроенияКурсовой проект - Электроснабжение механического цеха тяжелого машиностроения
5,005106
2021-11-03СтудИзба

Курсовая работа: Курсовой проект - Электроснабжение механического цеха тяжелого машиностроения

Бестселлер

Описание

ЭСН и ЭО механического цеха тяжелого машиностроения
Краткая характеристика производства и потребителей ЭЭ
Механический цех тяжелого машиностроения (МЦТМ) предназначен для серийного производства изделий.
Он является крупным вспомогательных цехом завода машиностроения и выполняет заказы основных цехов. Станочное отделение выполняет подготовительные операции (обдирку) изделий для дальнейшей обработки их на анодно-механических станках.
Для этой цели установлено основное оборудование: обдирочные, шлифовальные, анодно-механические станки и др.
В цехе предусмотрены производственные, вспомогательные, служебные и бытовые помещения.
МЦТМ получает ЭСН от ГПП или ПГВ завода.
Расстояние от ГПП до цеховой ТП – 1,2 км. Напряжение 6 и 10 кВ. На ГПП подается ЭСН от ЭНС, расстояние – 8 км. Количество рабочих смен – 2.
Потребители цеха относятся к 2 и 3 категории надежности ЭСН, работают в нормальной окружающей среде. Грунт в районе цеха – песок с температурой + 20 С.
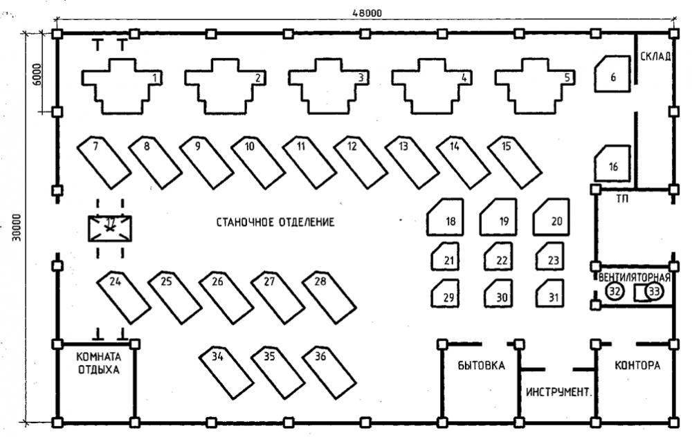
Каркас здания МЦТМ смонтирован из блоков-секций длиной 6 м каждый.
Размеры цеха А*В*H = 48*30*9 м.
Вспомогательные, бытовые и служебные помещения двухэтажные высотой 4 м.
Перечень оборудования цеха дан в таблице 1.
Мощность электропотребителя (Рэп) указана для одного электроприемника.
Расположение основного оборудования показано на плане (рис.1).
СОДЕРЖАНИЕ
Введение ...................................................................................................................5
1 Краткая характеристика потребителей цеха ..............................................6
2 Выбор схемы электрической сети ..................................................................8
3 Расчет электрических нагрузок цеха ............................................................8
3.1 Определение номинальных параметров электроприемников ............8
3.2 Определение расчетных трехфазных нагрузок .......................................9
3.3 Определение пиковых нагрузок ...................................................................15
4 Выбор числа и мощности цеховых трансформаторов ..............................16
4.1 Выбор оптимального числа цеховых трансформаторов ........................17
4.2 Выбор мощности конденсаторных батарей ..............................................17
4.3 Уточнение мощности трансформаторов с учетом компенсирующих устройств ....................................................................................................................18
4.4 Выбор комплектной трансформаторной подстанции ............................19
5 Выбор шинопроводов и кабельных линий .....................................................19
5.1 Выбор и проверка комплектных шинопроводов ........................................19
5.2 Выбор кабельной линии 10 кВ, питающей ЦТ ............................................21
5.3 Выбор питающей линии для РП .....................................................................22
5.4 Выбор кабелей для одиночных электроприемников ..............................23
6 Расчет токов короткого замыкания .................................................................23
7 Выбор силового электрооборудования напряжением до 1 000 В ...........27
7.1 Выбор силовых распределительных пунктов ..............................................27
7.2 Выбор автоматических выключателей .........................................................28
8 Проверка правильности выбора защитной аппаратуры ............................29
8.1 Проверка автоматических выключателей ................................................... 29
8.1 Проверка сечений на соответствие выбранному аппарату защиты ....30
Список использованных источников ...................................................................33
Приложение А .............................................................................................................34
Приложение Б .............................................................................................................38

В архиве пояснительная записка + 2 чертежа (однолинейная схема, план цеха с электрической сетью)

Характеристики курсовой работы

Учебное заведение
Семестр
Просмотров
244
Качество
Идеальное компьютерное
Размер
2,11 Mb

Список файлов

Однолинейная схема.cdw
План.cdw
Однолинейная схема.cdw
Однолинейная схема.jpg
План _U2014 копия.cdw
План _U2014 копия.jpg
курс.docx
Картинка-подпись
Если нужен другой вариант работы или отдельная задача из любой работы, пишите в комментарии

Комментарии

tddd: Нету
Поняла, спасибо большое что ответили на вопросы
eruchin: А есть возможность скорректировать работу по варианту?
Нету
eruchin: А есть возможность скорректировать работу по варианту?
Мне нужны расчеты: 3,4,5-Шлифовальные станки; 6,16,18,19,20-Обдирочные станки типа РТ-341; 17- Кран мостовой 60 кВА; 23,29,30,31-Обдирочные станки типа РТ-250; 24,25,28,34,35,36-Анодно-механические станки типа МЭ–31; 7-13 - Анодно-механические станки типа МЭ–12; 32-Вентилятор вытяжной 28; 33 Вентилятор приточный 30
tddd: № на плане Наименование Рэп, кВт 1-5 Шлифовальные станки 88,5 6, 16, 18-20 Обдирочные станки типа РТ-341 45 17 Кран мостовой 60 кВА 21-23, 29-31 Обдирочные станки типа РТ-250 35 24-28, 34-36 Анодно-ме
А есть возможность скорректировать работу по варианту?
eruchin: Подскажите пожалуйста, работа по варианту сделана?
№ на плане Наименование Рэп, кВт
1-5 Шлифовальные станки 88,5
6, 16, 18-20 Обдирочные станки типа РТ-341 45
17 Кран мостовой 60 кВА
21-23, 29-31 Обдирочные станки типа РТ-250 35
24-28, 34-36 Анодно-механические станки типа МЭ–31 18,4
7-15 Анодно-механические станки типа МЭ–12 10
32 Вентилятор вытяжной 28
33 Вентилятор приточный 30
Подскажите пожалуйста, работа по варианту сделана?
Поделитесь ссылкой:
Цена: 1 000 руб.
Расширенная гарантия +3 недели гарантии, +10% цены
Несколько человек купили за последний месяц
Рейтинг покупателей
5 из 5
Поделитесь ссылкой:
Сопутствующие материалы

Подобрали для Вас услуги

-17%
Вы можете использовать курсовую работу для примера, а также можете ссылаться на неё в своей работе. Авторство принадлежит автору работы, поэтому запрещено копировать текст из этой работы для любой публикации, в том числе в свою курсовую работу в учебном заведении, без правильно оформленной ссылки. Читайте как правильно публиковать ссылки в своей работе.
Свежие статьи
Популярно сейчас
Почему делать на заказ в разы дороже, чем купить готовую учебную работу на СтудИзбе? Наши учебные работы продаются каждый год, тогда как большинство заказов выполняются с нуля. Найдите подходящий учебный материал на СтудИзбе!
Ответы на популярные вопросы
Да! Наши авторы собирают и выкладывают те работы, которые сдаются в Вашем учебном заведении ежегодно и уже проверены преподавателями.
Да! У нас любой человек может выложить любую учебную работу и зарабатывать на её продажах! Но каждый учебный материал публикуется только после тщательной проверки администрацией.
Вернём деньги! А если быть более точными, то автору даётся немного времени на исправление, а если не исправит или выйдет время, то вернём деньги в полном объёме!
Да! На равне с готовыми студенческими работами у нас продаются услуги. Цены на услуги видны сразу, то есть Вам нужно только указать параметры и сразу можно оплачивать.
Отзывы студентов
Ставлю 10/10
Все нравится, очень удобный сайт, помогает в учебе. Кроме этого, можно заработать самому, выставляя готовые учебные материалы на продажу здесь. Рейтинги и отзывы на преподавателей очень помогают сориентироваться в начале нового семестра. Спасибо за такую функцию. Ставлю максимальную оценку.
Лучшая платформа для успешной сдачи сессии
Познакомился со СтудИзбой благодаря своему другу, очень нравится интерфейс, количество доступных файлов, цена, в общем, все прекрасно. Даже сам продаю какие-то свои работы.
Студизба ван лав ❤
Очень офигенный сайт для студентов. Много полезных учебных материалов. Пользуюсь студизбой с октября 2021 года. Серьёзных нареканий нет. Хотелось бы, что бы ввели подписочную модель и сделали материалы дешевле 300 рублей в рамках подписки бесплатными.
Отличный сайт
Лично меня всё устраивает - и покупка, и продажа; и цены, и возможность предпросмотра куска файла, и обилие бесплатных файлов (в подборках по авторам, читай, ВУЗам и факультетам). Есть определённые баги, но всё решаемо, да и администраторы реагируют в течение суток.
Маленький отзыв о большом помощнике!
Студизба спасает в те моменты, когда сроки горят, а работ накопилось достаточно. Довольно удобный сайт с простой навигацией и огромным количеством материалов.
Студ. Изба как крупнейший сборник работ для студентов
Тут дофига бывает всего полезного. Печально, что бывают предметы по которым даже одного бесплатного решения нет, но это скорее вопрос к студентам. В остальном всё здорово.
Спасательный островок
Если уже не успеваешь разобраться или застрял на каком-то задание поможет тебе быстро и недорого решить твою проблему.
Всё и так отлично
Всё очень удобно. Особенно круто, что есть система бонусов и можно выводить остатки денег. Очень много качественных бесплатных файлов.
Отзыв о системе "Студизба"
Отличная платформа для распространения работ, востребованных студентами. Хорошо налаженная и качественная работа сайта, огромная база заданий и аудитория.
Отличный помощник
Отличный сайт с кучей полезных файлов, позволяющий найти много методичек / учебников / отзывов о вузах и преподователях.
Отлично помогает студентам в любой момент для решения трудных и незамедлительных задач
Хотелось бы больше конкретной информации о преподавателях. А так в принципе хороший сайт, всегда им пользуюсь и ни разу не было желания прекратить. Хороший сайт для помощи студентам, удобный и приятный интерфейс. Из недостатков можно выделить только отсутствия небольшого количества файлов.
Спасибо за шикарный сайт
Великолепный сайт на котором студент за не большие деньги может найти помощь с дз, проектами курсовыми, лабораторными, а также узнать отзывы на преподавателей и бесплатно скачать пособия.
Популярные преподаватели
Добавляйте материалы
и зарабатывайте!
Продажи идут автоматически
6710
Авторов
на СтудИзбе
287
Средний доход
с одного платного файла
Обучение Подробнее