Для студентов МГТУ им. Н.Э.Баумана по предмету Основы программированияЛабораторная работа №10Лабораторная работа №10
5,0058
2021-05-262024-08-10СтудИзба
Лабораторная работа 10: Лабораторная работа №10 вариант 3
-82%
Описание
Лабораторная работа №10
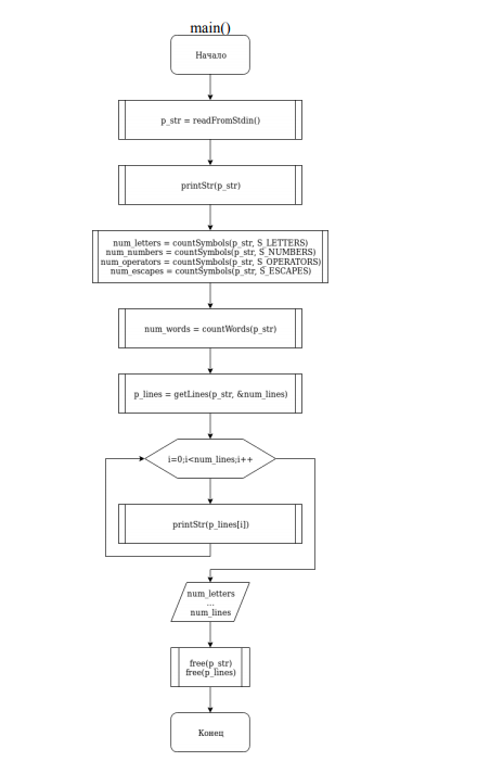
Цель работы
Изучение функций управления динамической памятью. Применение этих функций для организации динамических массивов.
![]()
Цель работы
Изучение функций управления динамической памятью. Применение этих функций для организации динамических массивов.



Характеристики лабораторной работы
Предмет
Учебное заведение
Семестр
Номер задания
Вариант
Просмотров
97
Размер
140,5 Kb
Список файлов
Лабораторная работа №10.pdf

Друзья, спасибо за доверие! Если вам понравилась работа – поставьте 5⭐ и напишите отзыв. Это поможет другим студентам, а мне даст силы делать ещё больше качественных материалов для вас 🔥