Для студентов МГТУ им. Н.Э.Баумана по предмету Метрология, стандартизация и сертификация (МСиС)Допуски и посадкиДопуски и посадки
5,00521
2021-10-112024-09-03СтудИзба
ДЗ 1: Допуски и посадки вариант 10
-66%
Описание
Вариант 10 – ДЗ №1 – Эскиз №4 - Допуски и посадки
Зачтено на максимальный балл 💥💥💥
Спасибо за покупку 🥰🥰🥰
Условие:
Пример решения
Дано:
Дано:
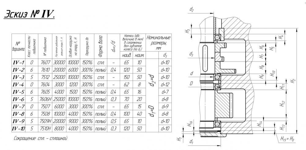
Класс точности подшипника: 5
Номер подшипника: 7510A
Расчетная радиальная реакция опоры: Fr=8000 H
Осевая нагрузка на опору: Fa=4000 H
Перегрузка до 150%
Форма вала: полый
Номинальные размеры, мм: d1=D, d2=d, d3=d+10
Натяги в сопряжении вал – зубчатое колесо (по d3): наибольший – 120 мкм
наименьший – 50 мкм
Зачтено на максимальный балл 💥💥💥
Спасибо за покупку 🥰🥰🥰
Условие:
Пример решения
Дано:

Класс точности подшипника: 5
Номер подшипника: 7510A
Расчетная радиальная реакция опоры: Fr=8000 H
Осевая нагрузка на опору: Fa=4000 H
Перегрузка до 150%
Форма вала: полый
Номинальные размеры, мм: d1=D, d2=d, d3=d+10
Натяги в сопряжении вал – зубчатое колесо (по d3): наибольший – 120 мкм


наименьший – 50 мкм
Файлы условия, демо
Характеристики домашнего задания
Учебное заведение
Номер задания
Вариант
Программы
Просмотров
1018
Размер
424,35 Kb
Список файлов
Вариант 10 - Домашнее задание №1 - Эскиз 4.docx

Друзья, спасибо за доверие! Если вам понравилась работа – поставьте 5⭐ и напишите отзыв. Это поможет другим студентам, а мне даст силы делать ещё больше качественных материалов для вас 🔥