Для студентов МГТУ им. Н.Э.Баумана по предмету Метрология, стандартизация и сертификация (МСиС)Допуски и посадкиДопуски и посадки
4,745313
2021-04-162025-04-13СтудИзба
ДЗ 1: Допуски и посадки вариант 7
-66%
Описание
Вариант 7 – ДЗ №1 – Эскиз №4 - Допуски и посадки
Зачтено на максимальный балл 💥💥💥
Спасибо за покупку 🥰🥰🥰
Условие:
Пример решения
Дано:
![]()
Зачтено на максимальный балл 💥💥💥
Спасибо за покупку 🥰🥰🥰
Условие:
Пример решения
Дано:
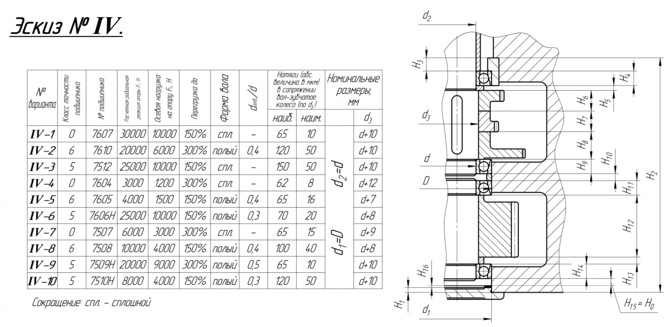
Дано:
Класс точности подшипника: 0
Номер подшипника: 7507А
Расчетная радиальная реакция опоры: Fr=6000 H
Осевая нагрузка на опору: Fa=3000 H
Перегрузка до 300%
Форма вала: сплошной
Номинальные размеры, мм: d1=D, d2=d, d3=d+9
Натяги в сопряжении вал – зубчатое колесо (по d3): наибольший – 65 мкм
наименьший – 15мкм


Файлы условия, демо
Характеристики домашнего задания
Учебное заведение
Номер задания
Вариант
Программы
Просмотров
1006
Качество
Идеальное компьютерное
Размер
489 Kb
Список файлов
Вариант 7 - ДЗ №1 - Эскиз 4.docx

Друзья, спасибо за доверие! Если вам понравилась работа – поставьте 5⭐ и напишите отзыв. Это поможет другим студентам, а мне даст силы делать ещё больше качественных материалов для вас 🔥
Комментарии

Отзыв
Есть небольшие недочёты, для их исправления необходимы минимальные знания предмета. Но в целом всё отлично

Здравствуйте! Уже исправил ошибки ^^

Отзыв
Сделан по тому же шаблону, что и все варианты этого автора. Везде одинаковые чертежи. Не все надписи по ГОСТу. Некоторые поля допусков некорректно начерчены (-13 почему то ниже - 15). В некоторых местах разница квалитетов более 2 (и нет, речь не про крышку, а про вал и втулку). Сдать лайтовому преподу на отвали пойдёт, но для хороших баллов это надо допиливать.