Для студентов МГТУ им. Н.Э.Баумана по предмету Механика жидкости и газа (МЖГ или Гидравлика)Задача № 4.8Задача № 4.8
5,0056
2025-09-072025-10-09СтудИзба
Задача 4: Задача № 4.8 вариант 8
Описание
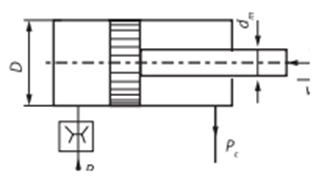
Определить значение силы F, преодолеваемой штоком гидроцилиндра при движении его против нагрузки со скоростью υ = 20 мм/с. Давление на входе в дроссель pН = 20 МПа; давление на сливе pс = 0,3 МПа; коэффициент расхода дросселя μ = 0,62; диаметр отверстия дросселя d = 1,2 мм; D = 70 мм; dШ = 30 мм; ρ = 900 кг/м3.

Характеристики решённой задачи
Учебное заведение
Номер задания
Вариант
Программы
Просмотров
27
Качество
Идеальное компьютерное
Размер
23,69 Kb
Список файлов
4.8.docx
Комментарии
Нет комментариев
Стань первым, кто что-нибудь напишет!
МГТУ им. Н.Э.Баумана
A45162



















