Задача 3: Задача 3-10 вариант 10
Описание
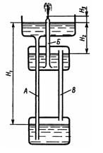
На рисунке изображена схема устройства, известного под названием «Геронов фонтан». Трубы А и Б заполнены водой, а труба В - воздухом. Объяснить принцип действия и определить скорость истечения воды из насадка (сопла) этого фонтана, если размеры H1 = 24 м, H2 = 4 м, H3 = 0,4 м. Потерями напора в системе и весом воздуха в трубе В пренебречь.
![]()

Характеристики решённой задачи
Номер задания
Вариант
Программы
Теги
Просмотров
24
Качество
Идеальное компьютерное
Размер
19,91 Kb
Список файлов
3-10.docx
Комментарии
Нет комментариев
Стань первым, кто что-нибудь напишет!
A45162





















