Жидкость вытекает из открытого резервуара в атмосферу через трубу, имеющую плавное сужение до диаметра d1, а затем постепенное расширение до d2. Истечение происходит под действием напора H = 3 м. Пренебрегая потерями энергии, определить абсолютное да
Описание
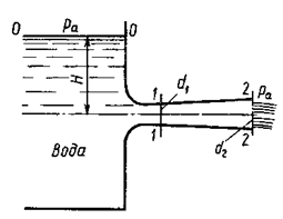
Жидкость вытекает из открытого резервуара в атмосферу через трубу, имеющую плавное сужение до диаметра d1, а затем постепенное расширение до d2. Истечение происходит под действием напора H = 3 м. Пренебрегая потерями энергии, определить абсолютное давление в узком сечении трубы 1-1, если соотношение диаметров d2/d1=; атмосферное давление соответствует Pа = 750 мм рт. ст.; плотность жидкости р=1000 кг/м3. Найти напор Нкр, при котором абсолютное давление в сечении 1-1 будет равно нулю.
Указание. Уравнение Бернулли следует записать два раза, например для сечения 0 - 0 и 2 - 2, а затем для сечений 1-1 и 2 - 2.

A45162























