Задача 9: Задача 9-2 вариант 2
Описание
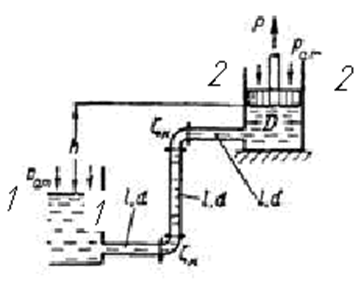
Поршень диаметром D = 200 мм движется равномерно вверх в цилиндре, засасывая воду из открытого резервуара с постоянным уровнем. Диаметр трубопровода d = 50 мм; длина каждого из его участков l = 4 м; коэффициент сопротивления каждого из колен ξк=0,5; коэффициент сопротивления трения λ = 0,03. Когда поршень находится выше уровня в резервуаре на h = 2 м, потребная для его перемещения сила равна P = 2350 Н.
Определить скорость подъема поршня vn и найти, до какой высоты hmax его можно поднимать с такой скоростью без опасности отрыва от него жидкости, если давление насыщенных паров воды Pнп = 4,25 кПа, ее плотность р = 995 кг/м3 (t = 30°С), а атмосферное давление Pат = 98,7 кПа. Весом поршня, трением его о стенки и потерями напора в цилиндре пренебречь.

A45162





















