Для студентов по предмету Механика жидкости и газа (МЖГ или Гидравлика)При внезапном расширении трубопровода скорость жидкости в трубе большего диаметра равна υ. Отношение диаметров труб D/d=2. Определить h - разность покПри внезапном расширении трубопровода скорость жидкости в трубе большего диаметра равна υ. Отношение диаметров труб D/d=2. Определить h - разность пок
5,00518031
2022-07-182022-07-18СтудИзба
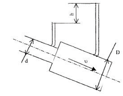
При внезапном расширении трубопровода скорость жидкости в трубе большего диаметра равна υ. Отношение диаметров труб D/d=2. Определить h - разность показателей пьезометров. Дано: υ2=2,87 м/с.
Описание
При внезапном расширении трубопровода скорость жидкости в трубе большего диаметра равна υ. Отношение диаметров труб D/d=2. Определить h - разность показателей пьезометров.
Дано: υ2=2,87 м/с.
Файлы условия, демо
Характеристики решённой задачи
Номер задания
Вариант
Просмотров
2
Качество
Скан рукописных листов
Размер
456,46 Kb
Список файлов
1.jpg
