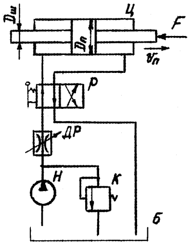
Для студентов НГТУ им. Р.Е. Алексеева по предмету Механика жидкости и газа (МЖГ или Гидравлика)Гидропривод поступательного движения приводится от насоса, характеристика которого определена точками (0л/с, 5,5МПа), (0,5л/с, 5,0МПа), (0,6л/с, 0,0МПГидропривод поступательного движения приводится от насоса, характеристика которого определена точками (0л/с, 5,5МПа), (0,5л/с, 5,0МПа), (0,6л/с, 0,0МП
5,0057
2022-04-162022-04-16СтудИзба
Гидропривод поступательного движения приводится от насоса, характеристика которого определена точками (0л/с, 5,5МПа), (0,5л/с, 5,0МПа), (0,6л/с, 0,0МПа). Шток гидроцилиндра нагружен силой F, поршень имеет диаметр Dп, шток Dш=0,5Dп, механический КПД г
Описание

Характеристики решённой задачи
Учебное заведение
Номер задания
Вариант
Теги
Просмотров
52
Качество
Фото рукописных листов
Размер
753,71 Kb
Список файлов
10.9.1.JPG
10.9.2.JPG
10.9.3.JPG
