Для студентов по предмету Механика жидкости и газа (МЖГ или Гидравлика)Насос подает жидкость с плотностью ρ = 830 кг/м3 и кинематической вязкостью 0,00005 м2/с в гидроцилиндр по трубопроводу длиной l, диаметром d, необходНасос подает жидкость с плотностью ρ = 830 кг/м3 и кинематической вязкостью 0,00005 м2/с в гидроцилиндр по трубопроводу длиной l, диаметром d, необход
5,00517997
2021-10-192021-10-19СтудИзба
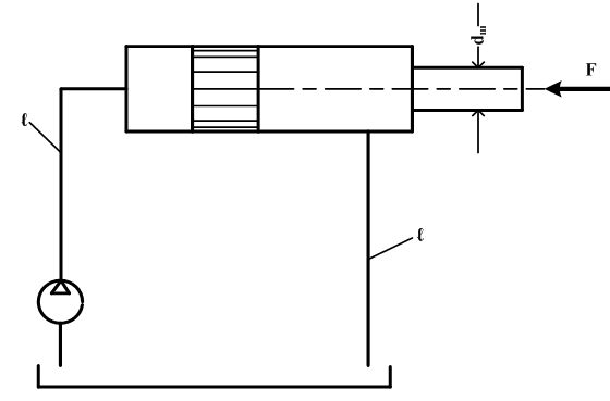
Насос подает жидкость с плотностью ρ = 830 кг/м3 и кинематической вязкостью 0,00005 м2/с в гидроцилиндр по трубопроводу длиной l, диаметром d, необходимо определить создаваемое насосом давление, если его производительность – Q. Потерями напора на мес
Описание
Насос подает жидкость с плотностью ρ = 830 кг/м3 и кинематической вязкостью 0,00005 м2/с в гидроцилиндр по трубопроводу длиной l, диаметром d, необходимо определить создаваемое насосом давление, если его производительность – Q. Потерями напора на местных сопротивлениях пренебречь. Диаметр поршня D = 0,1 м; диаметр штока dш = 0,05 м, сила, действующая на шток – F, Н. Исходные данные в табл. 5.

Таблица 5
l, м | d, м | Q, м3/с | F, Н |
0,23 | 0,0103 | 0,0023 | F = 1030 |
Характеристики решённой задачи
Просмотров
2
Качество
Идеальное компьютерное
Размер
188,71 Kb
Список файлов
