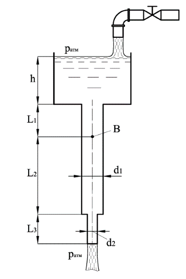
Для студентов по предмету Механика жидкости и газа (МЖГ или Гидравлика)Определить расход воды, вытекающей из трубы, и манометрическое давление в точке В, расположенной на расстоянии L1=9м от дна резервуара. Уровень в резеОпределить расход воды, вытекающей из трубы, и манометрическое давление в точке В, расположенной на расстоянии L1=9м от дна резервуара. Уровень в резе
5,0059
2017-01-262020-12-22СтудИзба
Определить расход воды, вытекающей из трубы, и манометрическое давление в точке В, расположенной на расстоянии L1=9м от дна резервуара. Уровень в резервуаре поддерживается постоянным h=8м. Длина верхнего участка трубы L1=9м и L2=14м, диаметр d1=150мм
Описание

Подробное решение с пояснениями в word13.
Характеристики решённой задачи
Программы
Просмотров
1284
Качество
Идеальное компьютерное
Размер
70,33 Kb
Список файлов
17499-12393-1485456410-zadacha-.docx
