Для студентов ННГАСУ по предмету Механика жидкости и газа (МЖГ или Гидравлика)Расчет гидростатических нагрузок на элементы докаРасчет гидростатических нагрузок на элементы дока
4,945211
2025-09-232025-09-23СтудИзба
Вопросы/задания к контрольной работе: Расчет гидростатических нагрузок на элементы дока
Описание
Вариант 9
3Расчет нагрузок на рабочую секцию.. 5
4Расчет нагрузок на переходную секцию.. 7
5Расчет нагрузок на носовую часть. 10
6Определение расположения ригелей на торцевой стенке кормовой части. 16
7Определение грузоподъемности дока. 21
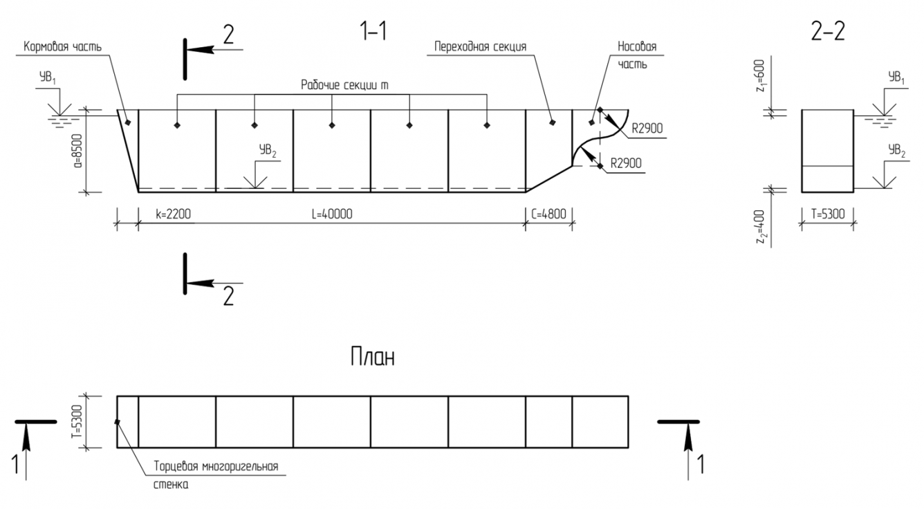
Исходные данные
Геометрические размеры, м | Количество | Масса дока, т | ||||||||
a | c | L | R | T | z1 | z2 | k | рабочих секций m | ригелей n | |
8,5 | 4,8 | 40,0 | 2,9 | 5,3 | 0,6 | 0,4 | 2,2 | 5 | 4 | 935,0 |
Тип схемы - №2

Характеристики вопросов/заданий к КР
Учебное заведение
Просмотров
1
Размер
973,62 Kb
Список файлов
RGR_Raschet_doka.docx