Для студентов по предмету Эксплуатационные материалыОпределение температуры вспышки дизельного топлива в закрытом тиглеОпределение температуры вспышки дизельного топлива в закрытом тигле
5,0059
2023-04-032023-04-03СтудИзба
ОПРЕДЕЛЕНИЕ ТЕМПЕРАТУРЫ ВСПЫШКИ ДИЗЕЛЬНОГО ТОПЛИВА В ЗАКРЫТОМ ТИГЛЕ
Лабораторная работа 2: Определение температуры вспышки дизельного топлива в закрытом тигле
Описание
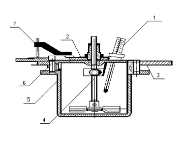
Цель: Определить температуру вспышки испытуемого образца дизельного топлива, сделать вывод о его пожароопасности и пригодности к применению, возможности транспортирования и хранения.

химмотология, топливо и смазочные материалы, практикум .
Характеристики лабораторной работы
Предмет
Семестр
Номер задания
Программы
Просмотров
1
Качество
Идеальное компьютерное
Размер
29,59 Kb
Список файлов
Лабораторная Температура вспышки ДТ.docx