Для студентов по предмету Инженерная графикаОбойма крюкаОбойма крюка
5,0058
2026-01-272026-01-27СтудИзба
Задача 23: Обойма крюка
Новинка
Описание
Обойма крюка 00-000.06.23.23.00 ЧЕРТЕЖ
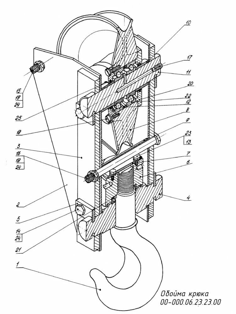
Обойма крюка применяется в грузоподъемных устройствах.Блок в сборе (детали: блок 8, ось 11, подшипники 22, кольцо 12, крышки 20, кольца уплотнительные 25, винты 18, втулки 10, винт 17) и крюк в сборе (детали: крюк 1, траверса 4, гайка 6, подшипник 21, планка 7, болты 13, шайбы 23) втавляются в отверстия ф60 и листов 3.
Поворот траверсы 4 и оси 11 предотвращают оседержатели 5, соединенные с листами 3 и щеками 2, болтами 15 и 16, вставленными в распорные втулки 9, при помощи гаек 19 и шайб 24.
Через блок 8 обоймы крюка пропущен трос грузоподъемной лебетки.
Груз подвешивается на крюк 1.
Обойма крюка 00-000.06.23.23.00 сборочный чертеж
Обойма крюка 00-000.06.23.23.00 спецификация
Обойма крюка 00-000.06.23.23.00 3д модель
Обойма крюка 00-000.06.23.23.00 чертежи
Крюк 00-000.06.23.23.01
Щека 00-000.06.23.23.02
Лист 00-000.06.23.23.03
Траверса 00-000.06.23.23.04
Оседержатель 00-000.06.23.23.05
Гайка 00-000.06.23.23.06
Планка 00-000.06.23.23.07
Блок 00-000.06.23.23.08
Втулка 00-000.06.23.23.09
Втулка 00-000.06.23.23.10
Ось 00-000.06.23.23.11
Кольцо 00-000.06.23.23.12
Все чертежи и 3d модели (все на скриншотах показано и присутствует в архиве) выполнены в КОМПАС 3D.Также открывать и просматривать, печатать чертежи и 3D-модели, выполненные в КОМПАСЕ можно просмоторщиком КОМПАС-3D Viewer.
Обойма крюка применяется в грузоподъемных устройствах.Блок в сборе (детали: блок 8, ось 11, подшипники 22, кольцо 12, крышки 20, кольца уплотнительные 25, винты 18, втулки 10, винт 17) и крюк в сборе (детали: крюк 1, траверса 4, гайка 6, подшипник 21, планка 7, болты 13, шайбы 23) втавляются в отверстия ф60 и листов 3. Поворот траверсы 4 и оси 11 предотвращают оседержатели 5, соединенные с листами 3 и щеками 2, болтами 15 и 16, вставленными в распорные втулки 9, при помощи гаек 19 и шайб 24.
Через блок 8 обоймы крюка пропущен трос грузоподъемной лебетки.
Груз подвешивается на крюк 1.
Обойма крюка 00-000.06.23.23.00 сборочный чертеж
Обойма крюка 00-000.06.23.23.00 спецификация
Обойма крюка 00-000.06.23.23.00 3д модель
Обойма крюка 00-000.06.23.23.00 чертежи
Крюк 00-000.06.23.23.01
Щека 00-000.06.23.23.02
Лист 00-000.06.23.23.03
Траверса 00-000.06.23.23.04
Оседержатель 00-000.06.23.23.05
Гайка 00-000.06.23.23.06
Планка 00-000.06.23.23.07
Блок 00-000.06.23.23.08
Втулка 00-000.06.23.23.09
Втулка 00-000.06.23.23.10
Ось 00-000.06.23.23.11
Кольцо 00-000.06.23.23.12
Все чертежи и 3d модели (все на скриншотах показано и присутствует в архиве) выполнены в КОМПАС 3D.Также открывать и просматривать, печатать чертежи и 3D-модели, выполненные в КОМПАСЕ можно просмоторщиком КОМПАС-3D Viewer.Файлы условия, демо
Характеристики решённой задачи
Предмет
Семестр
Номер задания
Программы
Теги
Просмотров
0
Качество
Идеальное компьютерное
Размер
1,05 Mb
Список файлов
00-000.06.23.23
00-000.06.23.23.00 СБ_Обойма крюка.a3d
00-000.06.23.23.00 СБ_Обойма крюка.cdw
00-000.06.23.23.00 СП_Обойма крюка.cdw
00-000.06.23.23.01 Крюк.cdw
00-000.06.23.23.01_Крюк.m3d
00-000.06.23.23.02 Щека.cdw
00-000.06.23.23.02_Щека.m3d
00-000.06.23.23.03 Лист.cdw
00-000.06.23.23.03_Лист.m3d
00-000.06.23.23.04 Траверса.cdw
00-000.06.23.23.04_Траверса.m3d
00-000.06.23.23.05 Оседержатель.cdw
00-000.06.23.23.05_Оседержатель.m3d
00-000.06.23.23.06 Гайка.cdw
00-000.06.23.23.06_Гайка.m3d
00-000.06.23.23.07 Планка.cdw
00-000.06.23.23.07_Планка.m3d
00-000.06.23.23.08 Блок.cdw
00-000.06.23.23.08_Блок.m3d
00-000.06.23.23.09 Втулка.cdw
00-000.06.23.23.09_Втулка.m3d
00-000.06.23.23.10 Втулка.cdw
00-000.06.23.23.10_Втулка.m3d
00-000.06.23.23.11 Ось.cdw
00-000.06.23.23.11_Ось.m3d
00-000.06.23.23.12 Кольцо.cdw
00-000.06.23.23.12_Кольцо.m3d
Поз.20_Крышка.m3d
Комментарии
Нет комментариев
Стань первым, кто что-нибудь напишет!
coolns
























