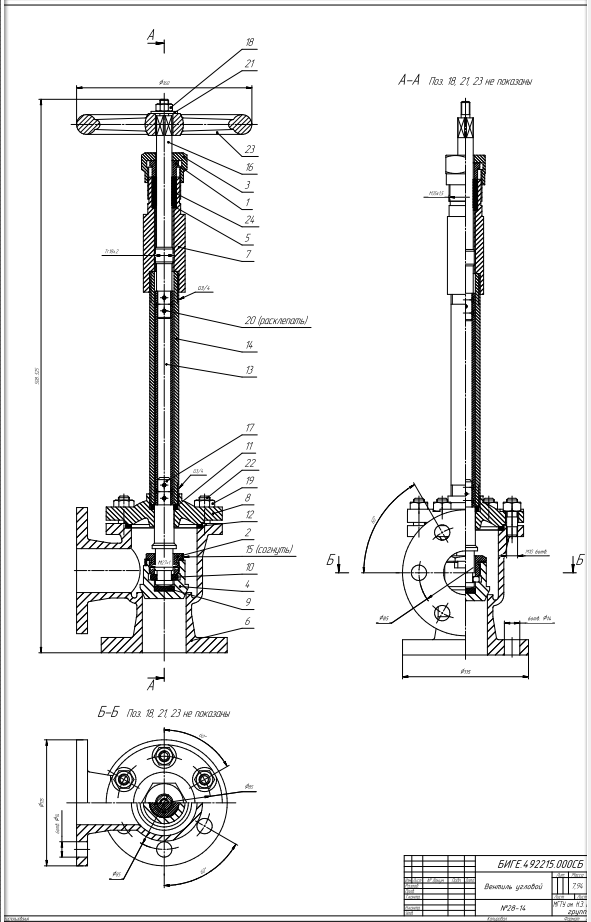
Для студентов МГТУ им. Н.Э.Баумана по предмету Инженерная графика2022г - Вентиль угловой - № 28-142022г - Вентиль угловой - № 28-14
5,00512
2022-11-202024-11-27СтудИзба
ДЗ 28: 2022г - Вентиль угловой - № 28-14 вариант 14
-55%
Описание
Файлы условия, демо
Характеристики домашнего задания
Предмет
Учебное заведение
Семестр
Номер задания
Вариант
Программы
Просмотров
169
Качество
Идеальное компьютерное
Размер
6,37 Mb
Список файлов
StudFiles.net.html
Корпус14 (для избы).cdw
Корпус14.m3d
Корпус14.m3d.bak
КорпусБОЛШ (для избы).cdw
КорпусБОЛШ.m3d
КорпусБОЛШ.m3d.bak
Крышка1.
Крышка1.m3d.bak
Крышка15 (для избы).cdw
Крышка15.m3d
СБ_(для_избы).cdw
Шпиндель23 (для избы).cdw
Шпиндель23.m3d
втулка8.m3d
гайка9.m3d
гайка9.m3d.bak
гайка10.m3d
заклепка3.m3d
клапан11.m3d
клапан11.m3d.bak
кольцо12.m3d
маховичОК_6.m3d
маховичОК_6.m3d.bak
подпятник16.m3d
подпятник16.m3d.bak
полукольцо17.m3d
прокладка18.m3d
прокладка18.m3d.bak
прокладка19.m3d
прокладка19.m3d.bak

Ваше удовлетворение является нашим приоритетом, если вы удовлетворены нами, пожалуйста, оставьте нам 5 ЗВЕЗД и позитивных комментариев. Спасибо большое!. Смотрите файлы в моем профиле, там есть много полезных !
Комментарии

У меня v20 версия

Компас какой версии?