Для студентов МГТУ им. Н.Э.Баумана по предмету Инженерная графикаВ-221В-221
4,90546454
2021-04-142024-10-06СтудИзба
ДЗ В: В-221 вариант 221
-55%
Описание
Характеристики домашнего задания
Предмет
Учебное заведение
Семестр
Номер задания
Вариант
Просмотров
437
Размер
195,05 Kb
Список файлов
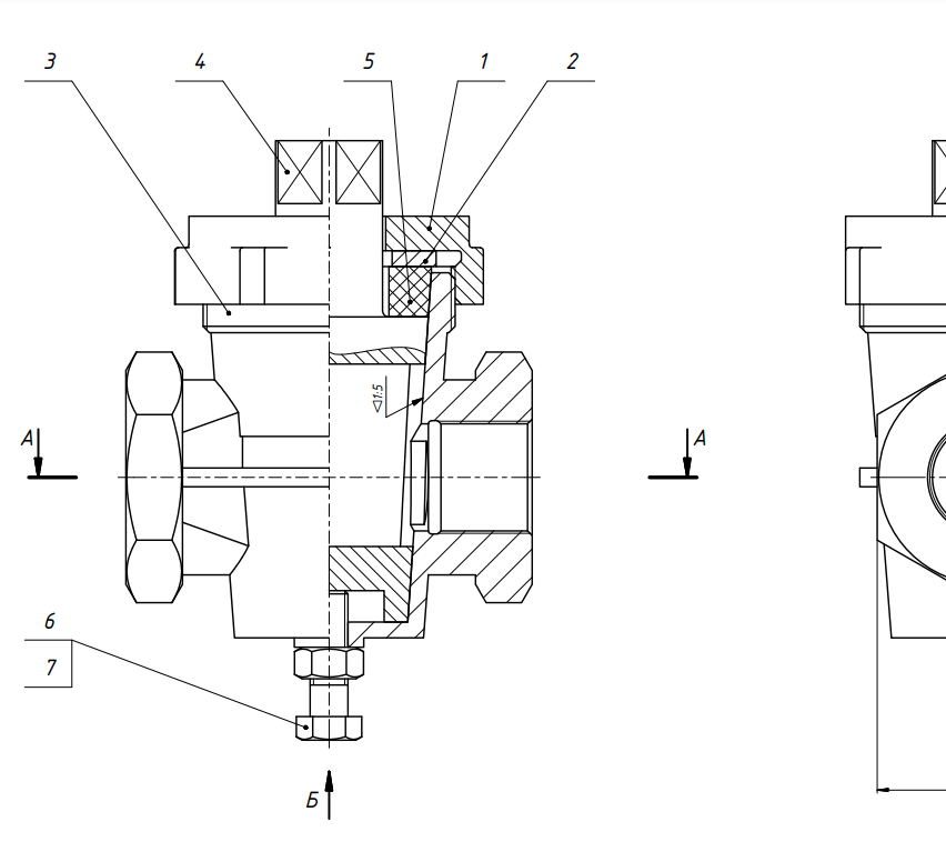
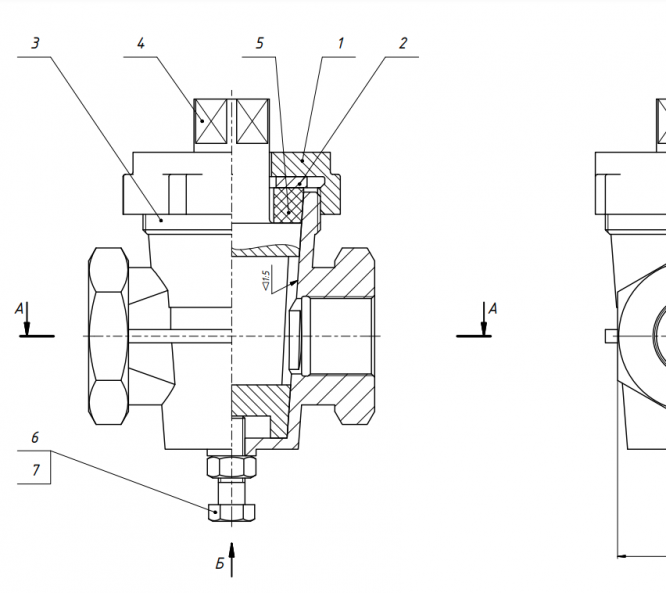
В-221 кран пробковый
Гайка накидная.pdf
Кольцо.pdf
Корпус.pdf
Кран пробковый.pdf
Пробка.pdf

Друзья, спасибо за доверие! Если вам понравилась работа – поставьте 5⭐ и напишите отзыв. Это поможет другим студентам, а мне даст силы делать ещё больше качественных материалов для вас 🔥