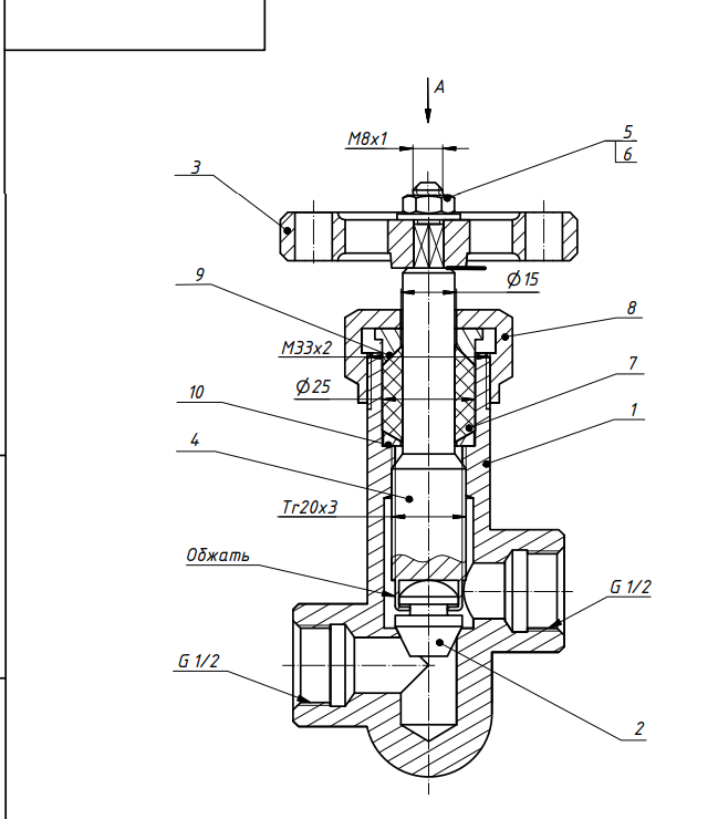
Для студентов МГТУ им. Н.Э.Баумана по предмету Инженерная графикаВентильВентиль
5,0056
2021-04-142024-10-06СтудИзба
ДЗ Б: Вентиль вариант 137
-55%
Описание
Чертеж PDF формат А1 ![]()

Характеристики домашнего задания
Предмет
Учебное заведение
Семестр
Номер задания
Вариант
Просмотров
455
Размер
193,07 Kb
Список файлов
Б-137
Б-137.pdf
Спецификация.pdf
Чертеж.pdf

Друзья, спасибо за доверие! Если вам понравилась работа – поставьте 5⭐ и напишите отзыв. Это поможет другим студентам, а мне даст силы делать ещё больше качественных материалов для вас 🔥