Для студентов МГТУ им. Н.Э.Баумана по предмету Инженерная графикаСборка 19 - Клапан переливнойСборка 19 - Клапан переливной
5,0052
2020-06-012020-10-14СтудИзба
ДЗ: Сборка 19 - Клапан переливной
Описание
Характеристики домашнего задания
Предмет
Учебное заведение
Семестр
Просмотров
246
Размер
5,06 Mb
Список файлов
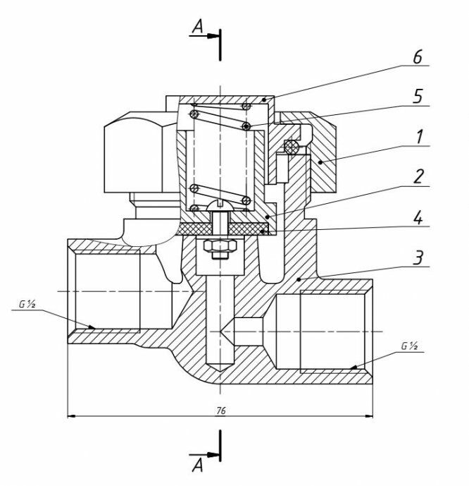
Клапан переливной
OldVersions
1 Корпус.0003.ipt
2 Гайка.0006.ipt
6 Пружина.0001.ipt
6 Пружина.0004.ipt
Гайка M4 ГОСТ 5915-70.0001.ipt
Гайка M4 ГОСТ 5915-70.0002.ipt
Клапан переливной сборка.0006.idw
Клапан переливной сборка.0008.iam
Клапан переливной №19.0008.idw
Клапан переливной №19.0012.iam
Клапан переливной.0005.idw
1 Корпус.ipt
2 Гайка.ipt
3 Клапан.ipt
4 Прокладка.ipt
5 Тарелка.ipt
6 Пружина.ipt
Гайка M4 ГОСТ 5915-70.ipt
Клапан переливной сборка.iam
Клапан переливной спецификация.xls
Клапан переливной чертеж.pdf
Клапан переливной
МГТУ им. Н.Э.Баумана
TemaFlex

















