Для студентов УГГУ по предмету ЭлектроснабжениеСистема внешнего электроснабжения предприятияСистема внешнего электроснабжения предприятия
5,0053297
2025-05-052025-05-05СтудИзба
Курсовая работа: Система внешнего электроснабжения предприятия
Описание

№ | Наименование потребителей группы электроприемников | Кол-во потреб. в одно-временной работе шт. | Уст. мощность одного ЭП кВт/кВА* | Уст. мощность ЭП общая кВт/кВА* | Расчетные коэффициенты | Расчетная мощность | |||
Спроса Загрузки | кВт | кВАр | кВА | ||||||
1 | 2 | 3 | 4 | 5 | 6 | 7 | 8 | 9 | 10 |
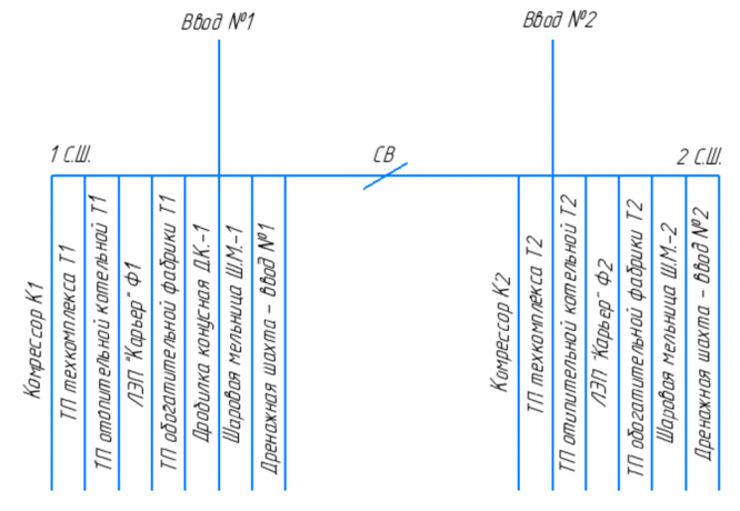
1 | 1 секция шин ГПП: | ||||||||
1.1 | Компрессор К-1 | 1 | 630 | 630 | 0,9 | 567 | -272 | 629 | |
1.2 | Шаровая мельница ШМ-1 | 1 | 540 | 540 | 0,9 | 486 | -233 | 539 | |
1.3 | Обогатительная фабрика, Т1 | 1 | 1600* | 1600* | 0,7 | 896 | 672 | 1120 | |
1.4 | Отопительная котельная, Т1 | 1 | 630* | 630* | 0,7 | 353 | 264 | 441 | |
1.5 | Промплощадка техкомплекса, Т1 | 1 | 1000* | 1000* | 0,7 | 560 | 420 | 700 | |
1.6 | ЛЭП «Карьер», Ф1 | 1 | 1500 | 1500 | 0,6 | 900 | -432 | 998 | |
1.7 | Дробилка конусная ДК-1 | 1 | 320 | 320 | 0,7 | 224 | 139 | 264 | |
1.8 | Дренажная шахта, ввод 1 | 1 | 520 | 520 | 0,85 | 442 | 332 | 553 | |
Итог по 1-ой секции шин | 4428 | 890 | - | ||||||
С учетов равномерности нагрузок и компенсации р/м | 3764 | | | ||||||
2 | 2 секция шин ГПП: | ||||||||
2.1 | Компрессор К-2 | 1 | 630 | 630 | 0,9 | 567 | -272 | 629 | |
2.2 | Шаровая мельница ШМ-2 | 1 | 540 | 540 | 0,9 | 486 | -233 | 539 | |
2.3 | Обогатительная фабрика, Т2 | 1 | 1600* | 1600* | 0,7 | 896 | 672 | 1120 | |
2.4 | Отопительная котельная, Т2 | 1 | 630* | 630* | 0,7 | 353 | 264 | 441 | |
2.5 | Промплощадка техкомплекса, Т2 | 1 | 1000* | 1000* | 0,7 | 560 | 420 | 700 | |
2.6 | ЛЭП «Карьер», Ф2 | 1 | 1500 | 1500 | 0,6 | 900 | -432 | 998 | |
2.7 | Дренажная шахта, ввод 2 | 1 | 520 | 520 | 0,85 | 442 | 332 | 553 | |
Итог по 1-ой секции шин | 4204 | 751 | - | ||||||
С учетов равномерности нагрузок и компенсации р/м | 3574 | | | ||||||
Итого по ГПП |
Cодержание
1. РАСЧЕТ ЭЛЕКТРИЧЕСКИХ НАГРУЗОК........................................................ 4
2. ВЫБОР СИЛОВЫХ ТРАНСФОРМАТОРОВ ГПП........................................... 8
2.1 Расчёт потерь напряжения в трансформаторах ГПП:.................................... 11
3 РАСЧЁТ ЭЛЕКТРИЧЕСКИХ СЕТЕЙ.............................................................. 12
3.1 Расчёт питающей ЛЭП от РПС до ГПП......................................................... 12
3.2 Расчёт ЛЭП КТП 6/0,4 отопительной котельной........................................... 14
3.3 Расчёт ЛЭП КТП 6/0,4 обогатительная фабрика........................................... 17
3.4 Расчёт ЛЭП КТП 6/0,4 техкомплекса промплощадки................................... 18
3.5 Расчёт ЛЭП для шаровой мельницы.............................................................. 20
3.6 Расчёт ЛЭП «Карьера».................................................................................. 21
3.6.1 Расчёт кабельной вставки для ЛЭП карьера............................................... 21
3.7 Расчёт ЛЭП для конусной дробилки............................................................. 22
3.8 Расчёт ЛЭП до дренажной шахты................................................................. 23
3.9 Расчёт ЛЭП до компрессора.......................................................................... 25
4 РАСЧЁТ ТОКОВ КОРОТКОГО ЗАМЫКАНИЯ.............................................. 28
4.1 Ток КЗ в точке К1.......................................................................................... 34
4.2 Ток КЗ в точке К2.......................................................................................... 35
4.3 Ток КЗ в точке К3.......................................................................................... 39
5 РАСЧЁТ И ВЫБОР УСТРОЙСТВА ТОКООГРАНИЧЕНИЯ.......................... 45
6 ВЫБОР ОСНОВНОГО ЭЛЕКТРООБОРУДОВАНИЯ ДЛЯ ОРУ ВН И ЗРУ-6 кВ ГПП............................................................................................................................. 49
6.1 Выбор коммутационной аппаратуры РУ 6 кВ............................................... 52
7 РАСЧЕТ УСТРОЙСТВ ЗАЗЕМЛЕНИЯ И ГРОЗА-ЗАЩИТЫ ЭЛЕКТРООБОРУДОВАНИЯ ГПП 35/6 кВ.......... 57
7.1 Расчет устройств заземления......................................................................... 57
7.2 Расчет гроза-защиты...................................................................................... 59
Список использованных источников.................................................................. 61
Характеристики курсовой работы
Предмет
Учебное заведение
Просмотров
2
Качество
Идеальное компьютерное
Размер
10,11 Mb
Список файлов
starikov-snabjenie-1.docx

Если нужен другой вариант работы или отдельная задача из любой работы, пишите в комментарии