Лабораторная: устройство и расчёт параметров смесителя
Лабораторная работа: Изучение устройства и работы смесителя для перемешивания жидких сред
Лабораторная работа №3
Изучение устройства и работы смесителя для перемешивания жидких сред
Цель работы
Ознакомиться с видами и конструктивными особенностями механических перемешивающих устройств.
Определить влияние скорости вращения на образование воронки и расход мощности.
Описание лабораторной установки
Установка состоит из цилиндрической емкости 1, сверху которой устанавливается смеситель (рис. 1).
Рис. 1. Схема лабораторного смесителя:
1 – цилиндрическая емкость; 2 – съёмные мешалки; 3 – шток;
4 – электродвигатель постоянного тока; 5 – выпрямитель;
6 – автотрансформатор; 7 – ваттметр; 8 – тахометр
Исходные данные
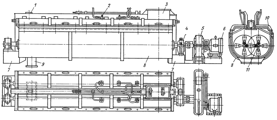
На рис. 2 показана схема двухвального быстроходного смесителя непрерывного действия типа СМС-95, предназначенного для приготовления силикатной массы.
Рис. 2. Смеситель СМС-95Показать/скрыть дополнительное описание
Изучение устройства и работы смесителя для перемешивания жидких сред
Цель работы
Ознакомиться с видами и конструктивными особенностями механических перемешивающих устройств.
Определить влияние скорости вращения на образование воронки и расход мощности.
Описание лабораторной установки
Установка состоит из цилиндрической емкости 1, сверху которой устанавливается смеситель (рис. 1).
Рис. 1. Схема лабораторного смесителя:
1 – цилиндрическая емкость; 2 – съёмные мешалки; 3 – шток;
4 – электродвигатель постоянного тока; 5 – выпрямитель;
6 – автотрансформатор; 7 – ваттметр; 8 – тахометр
Исходные данные
| Тип смеси-теля | Производи-тельность, м3/ч | длина корыта, мм | Диаметр окружности лопастей, мм | Линейная скорость вращения, м/сек | Мощность двигателя, КВт |
| СМС-95 | 95 | 4120 | 850 | 4,1 | 55 |
На рис. 2 показана схема двухвального быстроходного смесителя непрерывного действия типа СМС-95, предназначенного для приготовления силикатной массы.
Рис. 2. Смеситель СМС-95Показать/скрыть дополнительное описание
Работа описывает лабораторную установку и промышленный смеситель СМС-95, содержит формулы для критерия мощности и числа Рейнольдса, таблицы экспериментальных данных (N, n, KN, Re) и практические выводы для подбора режимов перемешивания..
Характеристики лабораторной работы
Предмет
Учебное заведение
Семестр
Просмотров
1
Размер
140,68 Kb
Список файлов
Лабораторная_работа_3.docx
🎓 Никольский - Помощь студентам 📚 Любые виды работ: тесты, сессии под ключ, практики, курсовые и дипломные с гарантией результата ✅ Все услуги под ключ ✅ Знаем все тонкости именно вашего ВУЗа ✅ Сдадим или вернем деньги
Комментарии
Нет комментариев
Стань первым, кто что-нибудь напишет!
Росдистант
nikolskypomosh














