Курсовая работа: Редуктор
Описание
ВВЕДЕНИЕ
Редуктор – это механизм, состоящий из зубчатых или червячных передач, заключённый в отдельный закрытый корпус.
Назначение редуктора состоит в том, чтобы понижать частоту вращения и, соответственно повышать вращающий момент ведомого вала по сравнению с валом ведущим. Редуктор соединяется с двигателем и рабочей машиной муфтами. Это принципиально отличает его от зубчатой передачи, встраиваемой в исполнительный механизм.
В корпусе редуктора на валах на валах неподвижно закреплены зубчатые или червячные передачи. Валы опираются в основном на подшипники качения. Подшипники скольжения применяются лишь в тех случаях, когда к редуктору предъявляются повышенные требования по уровню вибраций и шума, при очень высоких частотах вращения, при отсутствии подшипников качения нужного размера или при очень близком расположении параллельных валов редуктора.
Редукторы широко применяют в разных отраслях народного хозяйства, в связи с чем, число разновидностей редукторов велико. Ориентироваться во всём многообразии редукторов поможет классификация их по типам, типоразмерам и исполнениям.
- Исходные данные
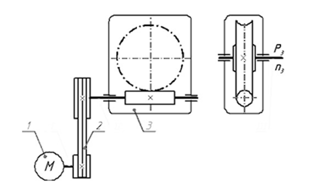
Вычерчиваем кинематическую схему червячного редуктора с нижним расположением червяка, соединённого с электродвигателем через плоскоременную передачу (рисунок 1.1).
Рисунок 1.1 – Кинематическая схема привода
1 – двигатель; 2 – плоскоременная передача; 3 – червячная передача;
Исходные данные:
- Мощность на выходном валу – Р = 6,1 кВт;
- Частота вращения выходного вала редуктора – n = 40 об/мин;
- Срок службы привода – L= 2000 час;
ЗАКЛЮЧЕНИЕ
В курсовом проекте рассчитан и спроектирован привод, на основе одноступенчатогочервячного редуктора.
На основании кинематического расчета выбран электродвигатель 4A132M4Y3 с номинальной мощностью Рном = 11,0 кВт и номинальной частотой вращения n = 1447 об/мин.
При расчете зубчатых передач определен главный параметр – межосевое расстояние, подобран материал и произведен проверочный расчет.
При проведении проектного расчета подшипников вычислили динамическую грузоподъемность подшипников и их базовую долговечность. При сравнении этих параметров с базовой грузоподъемностью и требуемой долговечностью определена пригодность подшипников.
Произведен проектный и проверочный расчеты плоскоременной передачи.
Выбран картерный способ смазки редуктора смазочным маслом марки И-Г-А-68 ГОСТ 174794-87.
Определен порядок сборки редуктора.
all_at_700















