Для студентов по предмету Детали машин (ДМ)Рассчитать шпильки, которыми стальная крышка крепится к стальному цилиндрическому сосуду. Давление в цилиндре p=0,2МПа, внутренний диметр сосуда D=430Рассчитать шпильки, которыми стальная крышка крепится к стальному цилиндрическому сосуду. Давление в цилиндре p=0,2МПа, внутренний диметр сосуда D=430
5,0051
2021-12-062021-12-06СтудИзба
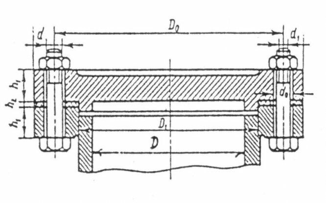
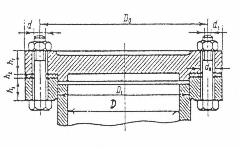
Рассчитать шпильки, которыми стальная крышка крепится к стальному цилиндрическому сосуду. Давление в цилиндре p=0,2МПа, внутренний диметр сосуда D=430мм.,материал шпилек сталь 40Х, число шпилек Z=12.шпильки поставлены с предварительной затяжкой. Про
Описание
Рассчитать шпильки, которыми стальная крышка крепится к стальному цилиндрическому сосуду. Давление в цилиндре p=0,2МПа, внутренний диметр сосуда D=430мм.,материал шпилек сталь 40Х, число шпилек Z=12.шпильки поставлены с предварительной затяжкой. Прокладка толстая из резины.
Характеристики решённой задачи
Предмет
Программы
Просмотров
13
Качество
Идеальное компьютерное
Размер
117,95 Kb
Список файлов
Задача1.docx
