Вопросы/задания к контрольной работе: Кинетостатическое исследование механизма
Описание
ЗАДАНИЕ НА РГР
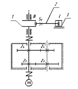
Рис. 1 «Структурная схема машины»
Вращательное движение от асинхронного электродвигателя передаётся через муфту на входной вал цилиндрического двухступенчатого соосного зубчатого редуктора. Первая ступень, называемая быстроходной, образована шестерней с числом зубьев Z1 и колесом с числом зубьев Z2 на промежуточном валу. Вторая ступень (тихоходная) образована шестерней на промежуточном валу с числом зубьев Z3 и колесом с числом зубьев Z4, смонтированным на выходном валу редуктора (Рис. 1).
При исследовании механизма приняты следующие допущения:
1.Звенья механизма располагаются в одной плоскости.
2.Считаем, что силы трения в кинематических парах отсутствуют.
При проведения кинематического анализа решаются следующие задачи:
а) Построение кинематической схемы механизма в заданном положении.
б) Определение угловых скоростей звеньев и скоростей их точек.
в) Определение угловых ускорений звеньев и ускорений их точек.
Кривошип 1, являющийся входным и ведущим звеном, соединен шарниром В с шатуном 2, который в свою очередь соединен шарниром С с ползуном 3, являющимся выходным звеном механизма, связанным с рабочим органом машины.
Табл. 1 – Числовые данные для расчёта
Вар. | nм | Z1 | Z2 | Z3 | Z4 | η | φ | L | λ | m2 | JS2 | m3 | e |
об/мин | - | - | - | - | - | град | м | - | кг | кг·м2 | кг | м | |
100 | 2500 | 20 | 80 | 25 | 75 | 0,89 | 65 | 0,04 | 4,2 | 1,3 | 0,056 | 2,7 | 0,02 |
РГАУ — МСХА им. К. А. Тимирязева
vitalievnatalia

















