Лабники кучкой (989648), страница 9
Текст из файла (страница 9)
б) распределение напряжения по нулевому проводнику.
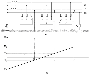
Если нулевой проводник оборван (рис. 8, а), т. е. (rн = ), то напряжение на поврежденном корпусе будет ниже фазного
но корпуса подключенные до места обрыва (рис 8, б) в этом случае окажутся под напряжением
U0 = Uкорп 1 = Uкорп 2 = Uф
. (10)
Рис. 8 Короткое замыкание фазы 3 на корпус электроустановки 3 с оборванным нулевым проводником:
а) принципиальная схема;
б) распределение напряжения по нулевому проводнику до и после места обрыва.
Следует отметить, что имеющее место в этом случае замыкание на заземленный через повторный заземлитель корпус 3, приведет к протеканию в фазном проводнике тока Iз , значительно меньшего, чем ток короткого замыкания. Поэтому максимальная токовая защита не сработает и корпуса электроустановок будут находиться под напряжением.
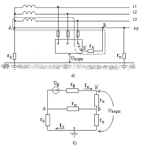
При наличии всех элементов цепи зануления (нулевого проводника и повторного заземлителя) распределение напряжения вдоль нулевого проводника имеет вид прямой между двумя точками с координатами, соответствующими напряжению на поврежденном корпусе (7) и напряжению на нулевой точке относительно земли (рис. 9):
Рис. 9 Короткое замыкание фазы 3 на зануленный корпус электроустановки 3:
а) принципиальная схема;
б) распределение напряжения по нулевому проводнику.
Сдвиг графика (рис. 9, б) относительно нуля обусловлен направлением обхода контура 2 при определении напряжений на элементах эквивалентной схемы (рис. 6).
Практическое применение зануления базируется на выполнении ряда требований к электрической сети. Так номинальные сечения нулевых защитных проводников (Sн) выбирается в зависимости от сечения фазных проводников.(Sф).
| Сечение фазных проводников, мм2 | Наименьшее сечение защитных проводников |
| Sф 16 16 < Sф 35 Sф 35 | Sн = Sф Sн =16 мм2 Sн = Sф /2 |
При использовании для электропитания однофазных потребителей, нулевого проводника одновременно и в качестве рабочего и в качестве защитного проводников: Sн = Sф и zн = zф. При монтаже и эксплуатации оборудования необходимо следить, чтобы переходное сопротивление контакта (rк) в месте подключения нулевого проводника к корпусу электроустановки (рис. 10) не превышало 0,05 Ом.
Рис. 10 Сопротивление контакта (rк) в месте подключения нулевого проводника к корпусу электроустановки:
а) принципиальная схема;
б) эквивалентная схема.
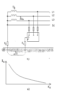
Рассмотрим как влияет на характеристики зануления изменение сопротивления контакта. Для простоты проведем анализ схемы без повторного заземления (рис. 11).
Напряжение на корпусе в этом случае будет равно напряжению т. В относительно земли (рис. 11, б), то есть
UВ = Iк ( rн + rк ). (12)
Т
ок короткого замыкания в этом случае уменьшится до величины
а напряжение на корпусе возрастет до величины
Рис. 11 Влияние сопротивления контакта в месте подключения нулевого проводника к корпусу электроустановки:
а) эквивалентная схема цепи зануления;
б) распределение напряжения по нулевому проводнику (Uв – напряжение на корпусе электроустановки);
в) зависимость тока короткого замыкания от сопротивления контакта.
Если rк будет превышать 0,05 Ом, то есть будет сравнимо или больше сопротивлений нулевого и фазного проводников, которые имеют значения 0,01 - 0,1 Ом, то автоматическая защита может не сработать и корпус электроустановки будет находиться под напряжением UВ’ (рис. 11, б).
Максимальная токовая защита может также не сработать, если вместо зануления корпуса электроустановки использовать его заземление (система ТТ, рис. 12).
Рис. 12 Короткое замыкание фазы 3 на заземленный корпус.
Ток, протекающий по контуру “заземлитель корпуса - заземлитель нейтрали- обмотка трансформатора- замкнувшийся фазный проводник” и равный (при допущении rтр << r0 + rз , rф << r 0 + rз)
будет намного меньше тока короткого замыкания. Напряжение на корпусе электроустановки будет зависеть от соотношения между r0 и rз. При увеличении, например, rз напряжение на корпусе будет возрастать. Ввиду указанных недостатков заземление как единственная мера защиты (без защитного автоматического отключения сети) в сетях с глухозаземленной нейтралью до 1000 В не применяется.
В сетях ТТ электробезопасность обеспечивается использованием устройств защитного отключения (УЗО) на дифференциальном токе.
1 Рецепторы - клетки организма, преобразующие внешнюю информацию (в нашем случае о температуре) в нервные импульсы для передачи в обрабатывающий центр мозга гипоталамус. Эффекторные клетки - исполнительные клетки, вырабатывающие ту или иную реакцию организма в зависимости от поступающих управляющих импульсов от гипоталамуса, например увеличение потовыделения.
21 условно ее можно назвать информационной системой
32 скорее исполнительная система, так как контролирует образование гормонов, секреций (например, потовыделение), состав крови и т.п. В обоих системах заложена информационная основа в виде молекул ДНК.
4 В технике радиосвязи диапазон СВЧ определен лишь для частот 3 - 30 ГГц, называемый см диапазоном
5 При нормировании плотности потока энергии используют единицы измерения 1мкВт/см2 или мВт/см2; 1 Вт/м2 =102 мкВт/см2 = 10-1 мВт/см2.
















