ЛР_1 (987830)
Текст из файла
Лабораторная работа №1
По курсу:
«Технология материалов и изделий электронной техники»
«Выращивание кристаллов методами направленной кристаллизации»
Выполнили студенты: Будкина Л.
Балдина А.
Хамин Р.
Группа: Эл-15-05
Проверил: Арсеньев П.А.
2008
Метод горизонтально направленной кристаллизации (метод Багдасарова)
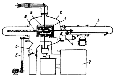
Схема установки
Д
ля реализации метода горизонтально направленной кристаллизации разработана специальная кристаллизационная установка "Сапфир-1-М" 111 , а ее принципиальная схема дана на рис. 1.
Рис. 1. Блок-схема установки “Сапфир-1М”
1- нагреватель;
2- вакуумная камера;
3- приемник кристаллов;
4- механизм перемещения;
5- механизм подъема колпака вакуумной камеры;
6- диффузионный насос;
7- блок электрического питания;
8- контейнер с кристаллизуемым веществом;
9- система молибденовых экранов.
Нагревательный элемент представляет собой прямоугольную спираль, изготовленную из четырех витков пруткового вольфрама, диаметром 8 мм.
Витки этой спирали расположенные перпендикулярно к направлению движения контейнера с веществом. Спираль подвешена на 6 опорах, которые приварены к нагревателю. Для изоляции нагревателя от системы экранов использованы керамические пластины из окиси алюминия, которые подложены под опоры. Теплоизоляция создается многослойными экранами 9, состоящими из наружного и внутреннего слоев. Экраны выполнены в виде отдельных блоков, что обеспечивает их разборку и для свободного доступа к нагревательному элементу и быструю смену вышедших из строя экранов.
Ближайший от нагревателя экран набирается из отдельных вольфрамовых стержней, диаметром 5 мм., укладываемых плотно друг к другу. Он формирует зоны плавления и зоны отжига, что позволяет используя только один нагреватель, осуществлять и плавление вещества, и отжиг кристалла в процессе его выращивания.
Молибденовый контейнер с исходным веществом устанавливается на платформу, выполненную из пруткового вольфрама, которая по специальным роликам с помощью механизма перемещения движется вдоль кристаллизационной камеры. Путем изменения величины анодного напряжения с помощью программного устройства добиваются соответствующего программированного изменения температуры.
Описание метода
Метод горизонтально направленной кристаллизации, схематично показанный на рис.2, заключается в следующем: в контейнер, имеющий форму лодочки, загружают шихту (в виде порошка, кристаллического боя или керамики) расплавляют ее и путем перемещения контейнера сквозь зону нагрева, закристаллизовывают.
Рис.2 Схема метода горизонтально направленной кристаллизации(метод Багдасарова): 1- затравка; 2 - кристалл; 3 - расплав; 4 - контейнер; 5- нагреватель
Для получения строго ориентированного кристалла в вершину лодочки устанавливают затравку и визуально наблюдает как за моментом затравления, так и за формой фронта кристаллизации в процессе выращивания монокристалла, так как в данном методе высота расплава много меньше среднего радиуса поверхности расплава, то возникают условия эффективного удаления примесей из расплава за счет испарения.
Для данного метода, характеризуемого изменяющейся величиной зеркала расплава, эффективный коэффициент распределения К с учетом испарения будет иметь вид
С=С0K(1-x)K-1 (1-δ2 l0 /h0 x) φ/γ-1
где h0 - первоначальная высота расплава в прямоугольной лодочке; l0 - первоначальная длина расплава.
Основные операции выращивания высококачественных кристаллов:
1) Подготовка исходной шихты
2) Изготовление молибденового контейнера и очистка его от оксидных пленок
3) Установка затравочного кристалла и наполнение контейнера исходной шихтой
4) Установка контейнера на платформу кристаллизационной установки
5) Соединение приемной и кристаллизационной камер
6) Введение контейнера в зону нагревателя с помощью ручного перемещения
7) Создание вакуума в кристаллизационной камере
8) Подъем температуры и расплавление вещества
9) Затравление путем визуального наблюдения через верхнее окно кристаллизационной камеры и включение механизма перемещения контейнера
10) Снижение температуры нагревателя после завершения кристаллизации
11) Отделение и поворот приемной камеры с помощью каретки, извлечение контейнера с кристаллом
Meтод вертикально направленной кристаллизации
В
контейнер, имеющий форму трубки в уплотненном виде, помещают исходную шихту, расплавляют ее и путем перемещения сквозь зону нагрева сверху вниз закристаллизовывают. Для получения строго ориентированного кристалла в нижней части трубки устанавливают затравочный кристалл изготовленный в форме цилиндра.
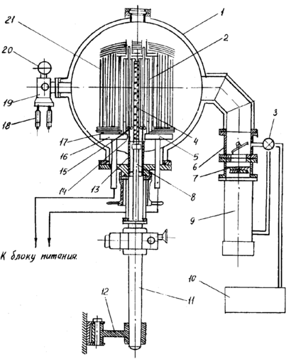
Рис.3
Схема установки вертикально направленной кристаллизации:
1- корпус камеры,
2-нагреватель,
3-вентель,
4-контейнер с материалом,
5-подставка для экрана,
6-промежуточная камера,
7-вентель ДН,
8-шток,
9-диффузионный насос (ДН),
10-форвакуумный насос,
11-корпус подвижного механизма,
12-кронштейн,
13-огнеупорная трубка,
14-насадка,
15-изолятор,
16-токоввод,
17-диэлектрическая прокладка,
18-монометрические лампы,
19-натекатель,
20-вентель,
21-экран
В отличие от горизонтально направленной кристаллизации в этом методе поверхность расплава сравнительно мала и определяется диаметром трубки. Поэтому процессы испарения замедленны, в результате чего требования к чистоте исходной шихты повышаются. Выражение для эффективного коэффициента распределения примеси с учетом испарения выглядит так
C=K*C0(1-x)*(K+1)/(K+2)-1
При реализации метода вертикально направленной кристаллизации технологически просто сознать малоградиентное температурное поле, что позволяет выращивать ненапряженные монокристаллы. Основные механические напряжения возникают из-за прямого механизма контакта между кристаллом и контейнером. В методе вертикально направленной кристаллизации градиент температуры на фронте роста характеризуется двумя составляющими: осевой и радиальной. В процессе кристаллизации из-за перемещении контейнера с расплавом относительно нагревателя происходит изменение температуры в расплаве и кристалле, показанное на рис. 4.
Р
ис.4. Распределение температуры по высоте столба расплава иттрий-алюминиевого граната в контакте с молибденом контейнера и монокристаллом:
1 - температура на нагревателе;
2 - расплав в контакте с монокристаллическим веществом;
3, 4, 5, - различные стадии кристаллизации
Характерно явно нелинейное распределение температуры в расплаве, причем знак осевого градиента температуры вдоль высоты расплава меняется. Это обстоятельство оказывает решающее воздействие на характер конвективных потоков в расплаве, в результате чего они могут быть направлены как в сторону фазовой границы, так и от нее. Учет характера конвективных потоков важен но двум причинам, Во-первых, их интенсивность существенно сказывается на колебания температур, а во-вторых, их направление во многом определяет перенос примесей вблизи фронта роста. Для реализации метода вертикально направленной кристаллизации разработана кристаллизационная установка "Гранат-lM". Установка снабжена оптическим нагревателем, хотя допускает применение и высокочастотного нагрева. Она состоит из кристаллизационной камеры, в которой устанавливается нагреватель, и механизма вертикального перемещения. Для управления мощностью нагрева имеется отдельный блок управления и стабилизации, схема которого аналогична схеме установки "Сапфир-2 М". Решающим узлом установки является коаксильный нагреватель, схема которого представлена на рис. 5. Этот нагреватель имеет три трубки, вставленные друг в друга, и соединенные последовательно.
Р
ис. 5. Коаксильный нагреватель
Для получения рабочих .температур в области 2473 К внутренняя трубка выполнена из вольфрама, а две остальные - из молибдена. В том случае, когда требуется получение температур до 2973 К, все трубки изготавливаются из вольфрама. Соединение отдельных элементов нагревателя осуществляется с помощью аргонодуговой сварки в инертной среде. Нагревательный элемент устанавливается в центре кристаллизационной камеры так, чтобы его ось совпала с вертикальной осью камеры. На шток механизма перемещения навинчивается держатель трубки контейнера (рис. 6).
В число основных операций для получения высококачественных монокристаллов входят: 1) подготовка исходной шихты;
2) очистка трубчатого контейнера;
3) заполнение контейнера исходной шихтой;
4) установка контейнера с держателем на механизм опускания;
5) создание предварительного вакуума и заполнение кристаллизационной камеры инертным газом;
6) введение контейнера с шихтой в нагреватель;
7) подъем температуры и расплавление вещества;
8) проведение кристаллизации за счет перемещения контейнера с помощью механизма опускания;
9) снижение температуры нагревателя после завершения кристаллизации.
Первые три операции аналогичны уже описанным. Остальные операции несколько отличны, так как в методе вертикально направленной кристаллизации нельзя визуально наблюдать протекание межфазной границы. Наиболее просто в этом методе вести кристаллизацию в режиме спонтанного зарождения. В этом случае вначале шихта полностью расплавляется.
Р
ис. 6. Держатель контейнера:1 - держатель; 2 – контейнер
Центры кристаллизации образуются случайно по мере перемещения контейнера в более холодную зону. Если необходима кристаллизация на затравку, то предварительно с помощью термопар определяется распределение температуры на нагревателе. С целью создания зоны кристаллизации, т.е. зоны с несколько большим осевым градиентом в нижнюю часть нагревателя вваривается диафрагма, представляющая собой вольфрамовое кольцо.
Метод направленной кристаллизации успешно применяется для выращивания монокристаллов халькогенидов РЗ в молибденовых, танталовых и вольфрамовых контейнерах. Атмосфера кристаллизации обеспечивалась либо системой подпитки халькогеном, либо использованием заваренных ампул.
Достоинства:
1) Открытая поверхность расплава позволяет вводить в расплав активирующую примесь на любом этапе выращивания монокристалла.
2) Этот метод также позволяет проводить многократную перекристаллизацию вещества. 3) Имеется возможность выращивать монокристаллы различных геометрических форм и осуществлять непрерывный процесс выращивания кристаллов путем направленного перемещения серии контейнеров через зону кристаллизации.
4) При реализации данного метода технически просто создать малоградиентное температурное поле, что обеспечивает выращивание ненапряженных монокристаллов таких крупных размеров, которые другими способами получить практически невозможно.
Недостатки:
-
Попадание примесей из тигеля в кристалл.
-
Не равномерное распределение примеси по длине готового слитка.
Характеристики
Тип файла документ
Документы такого типа открываются такими программами, как Microsoft Office Word на компьютерах Windows, Apple Pages на компьютерах Mac, Open Office - бесплатная альтернатива на различных платформах, в том числе Linux. Наиболее простым и современным решением будут Google документы, так как открываются онлайн без скачивания прямо в браузере на любой платформе. Существуют российские качественные аналоги, например от Яндекса.
Будьте внимательны на мобильных устройствах, так как там используются упрощённый функционал даже в официальном приложении от Microsoft, поэтому для просмотра скачивайте PDF-версию. А если нужно редактировать файл, то используйте оригинальный файл.
Файлы такого типа обычно разбиты на страницы, а текст может быть форматированным (жирный, курсив, выбор шрифта, таблицы и т.п.), а также в него можно добавлять изображения. Формат идеально подходит для рефератов, докладов и РПЗ курсовых проектов, которые необходимо распечатать. Кстати перед печатью также сохраняйте файл в PDF, так как принтер может начудить со шрифтами.















