Протокол к лабораторной работе №1 (987607)
Текст из файла
Московский Энергетический Институт
(технический университет)
Кафедра ПТС
Лабораторная работа № 1
По курсу
ОСНОВЫ ТРАНСФОРМАЦИИ ТЕПЛА И ПРОЦЕССОВ ОХЛАЖДЕНИЯ
«ИСПЫТАНИЕ НЕПРЯМОТОЧНОГО
ПОРШНЕВОГО ДЕТАНДЕРА С ВНУТРЕННИМ
ПРИВОДОМ КЛАПАНОВ»
| Группа: | |
| Студент: | |
| Бригада: | |
| Преподаватель: | |
| К работе допущен: | |
| Дата выполнения: | |
| Работу сделал: | |
| Работу сдал: |
МОСКВА 2006
Назначение работы: В настоящей работе испытывается поршневой непрямо-точный детандер с внутренним приводом клапанов.
Целью работы является углубление знаний по разделу «Ожижение и замораживание газов». На основе проделанной работы осваивается пуск и остановка машины. Определяются характерные температуры, хо-лодопроизводительность, число оборотов, эффективность, степень отсечки и степень наполнения детандера.
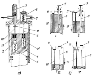
| Рис. 1. Схема непрямоточного детандера: а—конструктивная схема цилиндра; б —схема фазового движения поршня: I, II фазы - впуск и наполнение, III - расширение, IV - выпуск |
На рис. 1, б показаны фазы движения поршня детандера с последовательными положениями толкателей и клапанов.
На рис. 2, а приведена теоретическая индикаторная диаграмма детандера в координатax p—V(S), снимаемая походу поршня.
На рис. 2, б показана реальная индикаторная диаграмма (осциллограмма), снятая по времени.
При движении поршня I вверх (рис. 1, б,.фаза I) впускной клапан 7 открывается с помощью подпружиненного толкателя 8, расположенного в поршне. При этом происходит впуск воздуха, сопровождаемый мгновенным повышением давления с р0 до рс (рис. 2, процесс 6—1). Затем при движении поршня / вниз происходит процесс наполнения цилиндра газом при давлении рс (фаза II, процесс 1—2). Пластица впускного клапана 7 в процессе наполнения находится в поднятом положении, так как пружина 6 клапана значительно мягче пружины 14 толкателя. Степень наполнения определяется величиной свободного хода толкателя 5.
Расширение воздуха происходит при закрытых клапанах 7 и 11 (фаза III, процесс.2—3). При приближении поршня
| Рис. 3. Принципиальная схема установки:1 -вентиль подачи сжатого воздуха; 2, 7 -вентили подачи воды; 3 -подогреватель; 4 -расходомер; 5 -частотомер; 6 -осциллограф; 8 -концевой холодильник; 9 -сепаратор; 10 -Вентиль |
Величина обратного поджатая воздуха регулируется из-менением расстояния от втулки-упора 15 до подпружиненного упора 2.
Пружины 9 и 14 должны быть более жесткими, чем соответственно пружины 6 и 13.
Журнал испытаний
Начало ______ Конец ______
| Наименование | Размер - ность | Пусковой | Рабочий | Среднее значение в рабочем жиме | ||
| 1 замер и т.д. через 30 с. | 2 замер | 1 замер и т.д. через 10 мин | 2 замер | |||
| Время замера τ | мин | |||||
| Давление на впуске P1 | кг/см2 | |||||
| атм | ||||||
| Давление на выпуске P2 | кг/см2 | |||||
| атм | ||||||
| Температура воздуха на впуске t1 | mV | |||||
| °С | ||||||
| Температура воздуха на выпуске t2 | mV | |||||
| °С | ||||||
| Температура воздуха после электропечи t3 | mV | |||||
| °С | ||||||
| Расход воздуха G | дел. | |||||
| кг/ч | ||||||
| Число оборотов детандера n | об/мин | |||||
Характеристики
Тип файла документ
Документы такого типа открываются такими программами, как Microsoft Office Word на компьютерах Windows, Apple Pages на компьютерах Mac, Open Office - бесплатная альтернатива на различных платформах, в том числе Linux. Наиболее простым и современным решением будут Google документы, так как открываются онлайн без скачивания прямо в браузере на любой платформе. Существуют российские качественные аналоги, например от Яндекса.
Будьте внимательны на мобильных устройствах, так как там используются упрощённый функционал даже в официальном приложении от Microsoft, поэтому для просмотра скачивайте PDF-версию. А если нужно редактировать файл, то используйте оригинальный файл.
Файлы такого типа обычно разбиты на страницы, а текст может быть форматированным (жирный, курсив, выбор шрифта, таблицы и т.п.), а также в него можно добавлять изображения. Формат идеально подходит для рефератов, докладов и РПЗ курсовых проектов, которые необходимо распечатать. Кстати перед печатью также сохраняйте файл в PDF, так как принтер может начудить со шрифтами.
















