Протокол 7-й лабораторной работы (987605)
Текст из файла
Московский Энергетический Институт
(технический университет)
Кафедра ПТС
Лабораторная работа № 7
По курсу
ОСНОВЫ ТРАНСФОРМАЦИИ ТЕПЛА И ПРОЦЕССОВ ОХЛАЖДЕНИЯ
«ИСПЫТАНИЕ ПАРОВОГО КОМПРЕССИОННОГО
ТРАНСФОРМАТОРА ТЕПЛА ПРИ РАБОТЕ
В НЕРАСЧЕТНЫХ УСЛОВИЯХ »
| Группа: | |
| Студент: | |
| Бригада: | |
| Преподаватель: | |
| К работе допущен: | |
| Дата выполнения: | |
| Работу сделал: | |
| Работу сдал: |
МОСКВА 2006
Целью работы: является углубление знаний по курсу «Основы трансформации тепла и процессов охлаждения».
При проведении работы осваивается процесс регулирования холодильной установки для получения холода на различных температурных уровнях. На основе полученных данных проводится анализ работы установки в нерасчетных условиях.
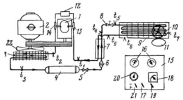
| Рис.1. Схема фреонового компрессионного трансформатора тепла: 1 - компрессор; 2 - электродвигатель; 3 - конденсатор; 4 - ресивер жидкого фреона; 5 - вентиль после ресивера; 6 - фильтр жидкостный; 7 - регенеративный теплообменник; 8 - регулирующий вентиль; 9 - испаритель; 10 - вентилятор испарителя; 11 - шибер; 12 - реле давления; 13 - всасывающий вентиль; 14 - нагнетательный вентиль; 15 - щит с приборами; 16 - манометры; 17 - тумблер вентилятора 10; 18 - амперметр; 19 - тумблер компрессора; 20 - переключатель термопар; 21 - переключатель направления тока термопар; 22 - вентилятор компрессора |
| Рис.2. Изображение процесса в Т - s диаграмме ------- 1й режим; -- -- -- 2й режим |
Описание установки: Фреоновая компрессионная установка ФАК-1,5 МЗ производительностью 1500 ккал/ч состоит из вертикального двухцилиндрового компрессора марки 2 Ф.В-4, электродвига-теля, мощностью 1,7 кВт, конденсатора, испарителя, ресивера жидкого фреона, теплообменника, регулирующего вентиля и двух вентиляторов (рис. 1).
Компрессор (диаметр цилиндров 40 мм, ход поршня 45 мм, число оборотов 950 об/мин) смонтирован на одной станине с электродвигателем и соединен с ним клиноременной передачей. На станине установлен конденсатор воздушного' охлаждения.
Под компрессором и электродвигателем укреплен горизонтальный ресивер жидкого фреона с запорным вентилем и сетчатым фильтром. Для охлаждения конденсатора на валу электродвигателя укреплен двухлопастной вентилятор.
Над компрессором укреплен ребристый испаритель воздушного охлаждения. Регенеративный фреоновый теплообменник состоит из двух спаянных трубок прямого и обратного потоков.
Журнал испытаний (для установившегося режима)
| № п/п. | Наименование параметров | Обозначени | Размерност | Замеры 1-го режима | Замеры 2-го режима | |||||||
| 1 | 2 | 3 | Среднее значение | 1 | 2 | 3 | Среднее значение | |||||
| 1 | Давление на всасывании | P0 | ати /ата | |||||||||
| 2 | Давление на нагнетании | Pк | ати /ата | |||||||||
| 3 | Температура фреона в испарителе | t0 | °С | |||||||||
| 4 | Температура фреона во всасывающем трубопроводе компрессора | t1 | мВ /°С | |||||||||
| 5 | Температура фреона на нагнетании | t2 | мВ /°С | |||||||||
| 6 | Температура фреона после конденсатора | t3 | мВ /°С | |||||||||
| 7 | Температура фреона перед дроссельным вентилем | t4 | мВ /°С | |||||||||
| 8 | Температура фреона на входе в испаритель | t5 | мВ /°С | |||||||||
| 9 | Температура фреона на выходе из испарителя | t6 | мВ /°С | |||||||||
| 10 | Температура воздуха на входе в испаритель | t7 | мВ /°С | |||||||||
| 11 | Температура воздуха на выходе из испарителя | t8 | мВ /°С | |||||||||
| 12 | Скорость воздуха, выходящего из испарителя | ω | м/с | |||||||||
| 13 | Ток в цепи электродвигателя | I | А | |||||||||
Характеристики
Тип файла документ
Документы такого типа открываются такими программами, как Microsoft Office Word на компьютерах Windows, Apple Pages на компьютерах Mac, Open Office - бесплатная альтернатива на различных платформах, в том числе Linux. Наиболее простым и современным решением будут Google документы, так как открываются онлайн без скачивания прямо в браузере на любой платформе. Существуют российские качественные аналоги, например от Яндекса.
Будьте внимательны на мобильных устройствах, так как там используются упрощённый функционал даже в официальном приложении от Microsoft, поэтому для просмотра скачивайте PDF-версию. А если нужно редактировать файл, то используйте оригинальный файл.
Файлы такого типа обычно разбиты на страницы, а текст может быть форматированным (жирный, курсив, выбор шрифта, таблицы и т.п.), а также в него можно добавлять изображения. Формат идеально подходит для рефератов, докладов и РПЗ курсовых проектов, которые необходимо распечатать. Кстати перед печатью также сохраняйте файл в PDF, так как принтер может начудить со шрифтами.
















