[11] Методы Выращивания Кристаллов В Электронной Технике (987513), страница 2
Текст из файла (страница 2)
\/лок=V0-2πωΔT/GL=соs2π·ωt (11.1.9)
где V0-скорость вытягивания; ΔT-изменение температуры за один цикл вращения; ω- частота вращения; GL- градиент температуры в расплаве; t - время.
Теоретическое исследование пульсации скорости кристаллизации при выращивании по методу Чохральского показывает, что уже при очень малом расстоянии между температурной осью тигельного устройства и осью вращения (порядка 0,1 мм) локальная скорость роста в более горячей части расплава может стать даже отрицательной, т.е. может наблюдаться эффект повторного расплавления. Подобное явление наблюдается и в результате неточной центровки или ориентации затравки относительно оси вытягивания. Меры, предпринимаемые для предотвращения появления дефектов, вызванных этими процессами, направлены как на совершенствование технологии выращивания, так и на улучшение технических параметров установок.
В методах с большим объемом расплава обычно применяются контейнеры (тигли) в силу чего их еще называют контейнерными. Основным критерием применимости контейнерных методов является отсутствие взаимной растворимости и химического взаимодействия кристаллизуемого вещества и материала контейнера. К материалу контейнера предъявляются следующие требования: достаточная механическая прочность, обрабатываемость материала, близость коэффициентов расширения (сжатия) материала контейнера и кристаллизуемого вещества, определенная величина электропроводности (в случае высокочастотного нагрева) и возможность предварительной очистки стенок контейнера химическими или другими методами. При выращивании из тиглей тугоплавких монокристаллов оксидных соединений характерно наличие в последних металлических включений.
В качестве посторонней фазы наблюдались иридиевые или родиевые частицы в виде дисков определенной геометрической формы (с диаметром порядка 30 мкм и толщиной 1-2 мкм). Как было показано, диспергирование тигельного материала связано с его химическим взаимодействием с газообразными окислителями, содержащимися в инертной атмосфере, а также с распадом нестабильных летучих оксидов иридия. Наблюдается корреляция между степенью загрязнения кристалла и чистотой инертного газа. Кроме выбора подходящей атмосферы на захват кристаллом металлических частиц влияет и степень стабилизации условий роста. При выборе материала контейнера следует учитывать, что его взаимодействие с расплавом может быть вызвано влиянием посторонних веществ, содержащихся в исходной шихте или адсорбированных на стенках контейнера, кристаллизационной камеры на рабочих элементах печи и т.д., а также влиянием веществ (например, кислорода и влаги), попадающих в расплав из атмосферы. В табл. 11.1.1 приведены основные контейнерные материалы, используемые при выращивании монокристаллов различных соединений РЗЭ.
Роль атмосферы может быть как пассивной, так и активной, в последнем случае атмосфера взаимодействует с расплавом, тормозя те или иные процессы или способствуя их протеканию. При выращивании монокристаллов различают кристаллизацию в вакууме, в нейтральной (гелий, аргон, азот), в окислительной (воздух, кислород) или восстановительной (водород, угарный газ) атмосферах. Вакуум используется для химической очистки расплава от диссоциации. С целью снижения интенсивности испарения вещества широко используется нейтральная атмосфера. Преимущественное использование при кристаллизации гелия, аргона и азота обусловлено тем, что для этих газов разработаны эффективные отечественные системы химической очистки. Подавляющее большинство тугоплавких соединений в процессе плавления диссоциирует, при этом изменяются физико-химические свойства расплава и нарушается стехиометрия кристалла. В связи с термической диссоциацией тугоплавких оксидов следует обратить внимание на два обстоятельства: с одной стороны, насыщение расплава низшими оксидами придает ему восстановительные свойства, что положительно сказывается на стойкости металлических контейнеров, из. которых ведется выращивание, а с другом стороны - нарушение стехиометрии расплава способствует образованию в кристалле дефектов. Восстановительная атмосфера используется для предотвращения в расплаве реакций окисления. Кислородсодержащая атмосфера желательна при кристаллизации любых оксидных соединений, особенно тех, которые характеризуются недостаточно сильной химической связью по кислороду, В последнее время предприняты попытки вести кристаллизацию халькогенидов в атмосфере паров серы или сероуглерода.
Таблица 11.1.1
Материалы контейнеров, используемые для выращивания монокристаллов высокотемпературных веществ
| Материал контейнера | Максимально допустимые рабочие температуры, К | Кристаллизуемое вещество | Атмосфера кристаллизации |
| Иридий | 2473 | Редкоземельные оксиды, алюминаты, гранаты скандаты, паллаты, РЗЭ, скандат бария | Вакуум, инертная, восстановительная и окислительная |
| Молибден | 2473 | Редкоземельные оксиды, алюминаты, гранаты скандаты РЗЭ, сульфиды РЗЭ | Вакуум, инертная и восстановительная |
| Вольфрам | 3273 | ″ | ″ |
| Тантал | 2500 | ″ | ″ |
| Сплав вольфрам-молибден | 2773 | ″ | ″ |
| Платина | 1773 | Вакуум, инертная, и окислительная | |
| Родий | 1973 | ″ | ″ |
| Платино-родиевые сплавы | 1923 | ″ | ″ |
| Пирографит | 2500 | сульфиды | Вакуум, инертная и восстановительная |
11.1.1.3. Метод Вернейля
Метод Вернейля, названный так по имени автора впервые опубликовавшего его описание в 1902 г., является одним из наиболее разработанных методов получения монокристаллов соединений, имеющих достаточно высокие температуры плавления. До начала 50-х годов этот метод применялся в основном для выращивания рубина шпинелей, которые большей частью находили применение в приборостроении и ювелирной промышленности. В настоящее время по Вернейлю выращиваются монокристаллы сотен наименований. Метод достаточно полно описан в литературе. Отметим только его достоинства и недостатки.
Метод Вернейпя обладает рядом преимуществ, среди которых следует выделить следующее.
Метод является бесконтейнерным, в результате чего снимаются. проблемы физико-химического взаимодействии расплава с материалом контейнера, а также проблема возникновения остаточных напряжений из-за упругого .воздействия стенок контейнера.
Метод дает возможность проведения кристаллизации в области порядка 2300 К на воздухе, причем окислительно-восстановительный потенциал атмосферы кристаллизации регулируется за счет изменения относительного содержания кислорода и водорода в пламени.
Метод обеспечивает техническую простату проведения процесса и доступность наблюдения за ростом кристаллов.
Метод дает возможность быстрого получения достаточно больших кристаллов.
Однако имеются и определенные недостатки, к которым следует отнести:
1. Трудность подбора оптимального соотношения между скоростью опускания затравки, подачей шихты и расходов рабочих газов.
2. Возможность попадания в расплав примесей из рабочих газов, поскольку расход их весьма значителен (О2-0,7 м3 /ч, Н2-— 1,5- 2 м3/ч), а также из воздуха и керамики кристаллизатора.
3. Наличие больших высоких температурных градиентов в зоне кристаллизации (30-50 град/мм), способствующих возникновению в кристаллах внутренних напряжений (до 10 -15 кг/мм2).
4. Невысокое качество получаемых кристаллов вследствие неравномерности подачи исходной шихты, дестабилизации процесса горения, а также причин, отраженных в п. 1, 2 и 3.
5. Ограничения метода, возникающие вследствие использования кислородно-водородной горелки - максимально допустимая температура в зоне кристаллизации не позволяет выращивать кристаллы целого ряда интересных для квантовой электроники соединений, мощность всей системы в целом ограничена,
6. Выход готовых кристаллов по отношению к исходному порошку не превышает 60%, так как часть материала проносится газом мимо растущего кристалла. Это обстоятельство приобретает особое значение при выращивании дорогостоящих кристаллов, например монокристаллов соединений РЗЭ.
7. Атмосфера выращивания является окислительно-восстановительной, что существенно снижает возможности управления валентностями примесей, вводимых в кристалл.
Попытка усовершенствовать классический метод Вернейля с целью устранения присущих ему недостатков привела к созданию ряда методик. Рассмотрим некоторые из них. Одним из возможных вариантов является изменение способа подачи материала в зону кристаллизации. Например, можно использовать смесь паров хлористого алюминия, углекислого газа и водорода, которые изолированно друг от друга подаются в зону кристаллизации и там смешиваются. В результате взаимодействия образуется оксид алюминия. В качестве реагентов могут применяться AlCl3 b O2 с использованием инертного газа в качестве носителя. Величина парциального давления хлористого алюминия достаточно велика даже при сравнительно низких температурах, поэтому транспортировка его по прогретым трубопроводам не вызывает больших затруднений, если, конечно, материал трубопровода не взаимодействует с проходящей по нему смесью.
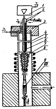
Усовершенствованием метода Вернейля является замена кислородно-водородного факела другим источником дающим более высокие температуры. Речь идет, например, о плазменных разрядах. К их числу относятся электронный (дуговой) разряд и безэлектродный высокочастотный газовый разряд. Дуговой разряд является наиболее изученным видом электрического плазменного разряда. Дуговые плазмотроны представляют из себя системы, в которых электрическая дуга возбуждается между двумя электродами. Если конструкция плазмотрона обеспечивает непрерывную работу электродов, то в принципе такая система не имеет ограничений в отношении величины энергии, выделяемой в зоне разряда. К недостаткам методики относится невысокая чистота получаемых продуктов вследствие тепловой и электрической эрозии электродов. В ряде случаев недостаток можно устранить, применяя электроды, выполненные из металла, соединение которого выращивается. Загрязнение выращиваемого монокристалла не происходит, если источником высоких температур служит высокочастотный газовый безэлектродный разряд. В качестве примера рассмотрим систему, приведенную на рис. 11.1.3. Если в каком-то объеме содержащем газ, возбудить плазменное состояние то можно непосредственно передать энергию высокочастотного электромагнитного поля электронам плазменного состояния (разряда), которые путем многократных столкновений передают эту энергию атомам газов.
Р
ис. 11.1.3. Схема установки для выращивания монокристаллов по газоплазменному методу Вернейля: 1 - бункер, 2 - вход и выход воды для охлаждения сопла; 3 -огнеупорное покрытие; 4, 5 - кварцевые трубки; 6 - водоохлаждаемое сопло; 7 - зона плазменного разряда; 8 – индуктор; 9 - затравка; 10 – кристаллизатор.
Подобные разряды могут существовать в различных, газах при разных давлениях и в вакууме. Фактически рассматривается уже известная нам схема Вернейля, но с плазменным разрядом, зажигаемым в потоке аргона (поток J2). Горелка состоит из двух кварцевых труб 4 и 5 (рис. 11.1.3) и водоохлаждаемого сопла 6, через которое исходная пудра подается в зону плазменного разряда 7, и далее на затравку 9, расположенную в кристаллизаторе 10. Через плазменную горелку протекают три газовых потока: поток аргона J2 (основной), поток J1 который оттесняет разряд от стенок кварцевой трубки 5, предохраняя ее тем самым от расплавления и поток J3 ( несущий), он проходит через бункер 1 и водоохлаждаемое сопло 6, вынося пудру на поверхность растущего кристалла. В качестве основного потока могут применяться аргон, кислород, азот, водород, смеси этих газов, воздух и т.д. Соответствующий подбор газов в: потоках J1, J2, J3 позволяет создать нужную атмосферу в зоне кристаллизации. Зажигание разряда может производиться различными способами, самый распространенный из которых способ создания в зоне 7 коронного разряда с последующим переходом последнего в высокочастотный безэлектродный разряд. Описанная методика практически не имеет тeмпературных ограничений. Недостатками рассмотренного способа являются трудность строгой стабилизации плазменного разряди и сложность проведения процесса в том случае, когда выращивание необходимо вести при повышенном давлении.
11.1.1.4. Метод Чохральского
Монокристаллы достаточно больших размеров, выращенные по методу Чохральского, по степени структурного совершенства являются наиболее совершенными из кристаллов соединений, выращенных другими методами. На рис. 11.1.4 приведена система для выращивания монокристаллов оксидных соединений, имеющих температуры плавления в пределах до 2500 К по этому методу. Стабильность источника энергии определяет постоянство по времени количества подводимого к тиглю тепла. Флуктуация теплового потока тигель - расплав непосредственно связана с колебаниями мощности источника энергии. Существенно влияние конвекционных потоков в расплаве, обусловленных термической конвекцией и конвекцией, вызванной вращением кристалла и тигля. Вследствие опускания уровня расплава в ходе процесса выращивания уменьшается площадь соприкосновения расплава с тиглем, а, следовательно, уменьшается тепловой поток между тиглем и расплавом. Свободная от контакта с расплавом внутренняя поверхность тигля действует как дополнительный нагреватель, влияя на температуру боковой поверхности кристалла и атмосферу в зоне кристаллизации, т.е. на форму роста роста. Параметры массопереноса в тигле и теплопроводность расплава определяют ту величину теплового потока, которая передается через расплав растущему кристаллу. Возможно колебания этой величины вызывают периодическое изменение температуры расплава вблизи границы раздела фаз, что способствует появлению дефектов роста. Величина тепловой энергии, проходящей через диффузионный слой, расположенный перед границей раздела фаз, обратно пропорциональна толщине этого слоя и возрастает пропорционально относительной частоте вращения ω.
Qδ ~ 1/δ ~ ω (11.11.1)
















