Вопросы на три (Alex.BiT & Рома Edition) (987495), страница 7
Текст из файла (страница 7)
Таблица 1. — Температурные коэффициенты линейного расширения некоторых кристаллов вдоль главной оси симметрии кристалла и в перпендикулярном ей направлении
|
| α//·106, град-4 | α·106, град-4 |
| Олово | 30,5 | 15,5 |
| Кварц | 13,7 | 7,5 |
| Графит | 28,2 | —1,5 |
| Теллур | —1,6 | 27,2 |
Аналогично различаются удельные электрические сопротивления кристаллов вдоль главной оси симметрии // и перпендикулярно ей .
Таблица 2. — Удельное электрическое сопротивление некоторых кристаллов вдоль главной оси симметрии и перпендикулярно ей (1 ом·см = 0,01 ом·м)
| Магний | //·106, ом·см | ом·см |
| 3,37 | 4,54 | |
| Цинк | 5,83 | 5,39 |
| Кадмий | 7,65 | 6,26 |
| Олово (белое) | 13,13 | 9,05 |
При распространении света в прозрачных кристаллах (кроме кристаллов с кубической решёткой) свет испытывает двойное лучепреломление и поляризуется различно в разных направлениях (оптическая А.). В кристаллах с гексагональной, тригональной и тетрагональной решётками (например, в кристаллах кварца, рубина и кальцита) двойное лучепреломление максимально в направлении, перпендикулярном к главной оси симметрии, и отсутствует вдоль этой оси. Скорость распространения света в кристалле v или показатель преломления кристалла n различны в различных направлениях. Например, у кальцита показатели преломления видимого света вдоль оси симметрии n// и перпендикулярно ей n равны: n// = 1,64 и n = 1,58; у кварца: n// = 1,53, n = 1,54.
Механическая А. состоит в различии механических свойств — прочности, твёрдости, вязкости, упругости — в разных направлениях. Количественно упругую А. оценивают по максимальному различию модулей упругости. Так, для поликристаллических металлов с кубической решёткой отношение модулей упругости вдоль ребра и вдоль диагонали куба для железа равно 2,5, для свинца 3,85, для бета-латуни 8,7. Кубические монокристаллы характеризуются тремя главными значениями модулей упругости (табл. 3).
Таблица 3. — Главные значения модулей упругости некоторых кубических кристаллов
| Алмаз | 95 | 39 | 49 |
| Алюминий | 10,8 | 6,2 | 2,8 |
| Железо | 24,2 | 14,6 | 11,2 |
Для кристаллов более сложной структуры (более низкой симметрии) полное описание упругих свойств требует знания ещё большего числа значений (компонент) модулей упругости по разным направлениям, например для цинка или кадмия — 5, а для триглицинсульфата или винной кислоты — 13 компонент, различных по величине и знаку. Об А. магнитных свойств см. подробнее в статье Магнитная анизотропия.
Математически анизотропные свойства кристаллов характеризуются векторами и тензорами, в отличие от изотропных свойств (например, плотности), которые описываются скалярными величинами. Например, коэффициент пироэлектрического эффекта (см. Пироэлектричество) является вектором. Электрическое сопротивление, диэлектрическая проницаемость, магнитная проницаемость и теплопроводность — тензоры второго ранга, коэффициент пьезоэлектрического эффекта (см. Пьезоэлектричество) — тензор третьего ранга, упругость — тензор четвёртого ранга. А. графически изображают с помощью указательных поверхностей (индикатрисс): из одной точки во всех направлениях откладывают отрезки, соответствующие константе в этом направлении. Концы этих отрезков образуют указательную поверхность (рис. 2—5).
Поликристаллические материалы (металлы, сплавы), состоящие из множества кристаллических зёрен (кристаллитов), ориентированных произвольно, в целом изотропны или почти изотропны. А. свойств поликристаллического материала проявляется, если в результате обработки (отжига, прокатки и т. п.) в нём создана преимущественная ориентация отдельных кристаллитов в каком-либо направлении (текстура). Так, при прокатке листовой стали зёрна металла ориентируются в направлении прокатки, в результате чего возникает А. (главным образом механических свойств), например для прокатанных сталей предел текучести, вязкость, удлинение при разрыве, вдоль и поперёк направления проката различаются на 15—20% (до 65%).
Причиной естественной А. является упорядоченное расположение частиц в кристаллах, при котором расстояние между соседними частицами, а следовательно, и силы связи между ними различны в разных направлениях (см. Кристаллы). А. может быть вызвана также асимметрией и определённой ориентацией самих молекул. Этим объясняется естественная А. некоторых жидкостей, особенно А. жидких кристаллов. В последних наблюдается двойное лучепреломление света, хотя большинство других их свойств изотропно, как у обычных жидкостей.
А. наблюдается также и в определённых некристаллических веществах, у которых существует естественная или искусственная текстура (древесина и т. п.). Например, фанера или прессованная древесина вследствие слоистости строения могут обладать пьезоэлектрическими свойствами, как кристаллы. Комбинируя стеклянное волокно с пластмассами, удаётся получить анизотропный листовой материал с прочностью на разрыв до 100 кгс/мм2. Искусственную А. можно также получить, создавая заданное распределение механических напряжений в первоначально изотропном материале. Например, при закалке стекла можно получить в нём А., которая влечёт за собой упрочнение стекла.
Искусственная оптическая А. возникает в кристаллах и в изотропных средах под действием электрического поля (см. Электрооптический эффект в кристаллах, Керра явление в жидкостях), магнитного поля (см. Коттон—Мутона эффект), механического воздействия (см. фотоупругость).
М. П. Шаскольская.
А. широко распространена также в живой природе. Оптическая А. обнаруживается в некоторых животных тканях (мышечной, костной). Так, миофибриллы поперечно исчерченных мышечных волокон при микроскопии кажутся состоящими из светлых и тёмных участков. При исследовании в поляризованном свете эти тёмные диски, как и гладкие мышцы и некоторые структуры костной ткани, обнаруживают двойное лучепреломление, т. е. они анизотропны.
В ботанике А. называется способность разных органов одного и того же растения принимать различные положения при одинаковых воздействиях факторов внешней среды. Например, при одностороннем освещении верхушки побегов изгибаются к свету, а листовые пластинки располагаются перпендикулярно к направлению лучей.
Р
ис. 1.2.1. Зависимость энтропии вещества от температуры
Методы выращивания диэлектрических лазерных кристаллов из расплава
1) методы с малым объемом расплава (методы Вернейля и зонной плавки и т.п.);
2) методы с большим объемом расплава (методы Киропулоса, Чохральского, Стокбаргера, Бриджмана и т.п.).
. Основным критерием применимости контейнерных методов является отсутствие взаимной растворимости и химического взаимодействия кристаллизуемого вещества и материала контейнера.
К материалу контейнера предъявляются следующие требования: достаточная механическая прочность, обрабатываемость материала, близость коэффициентов расширения (сжатия) материала контейнера и кристаллизуемого вещества, определенная величина электропроводности (в случае высокочастотного нагрева) и возможность предварительной очистки стенок контейнера химическими или другими методами.
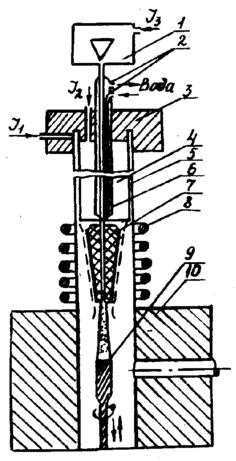
Метод Вернейля
Р
ис. 11.1.3. Схема установки для выращивания монокристаллов по газоплазменному методу Вернейля: 1 - бункер, 2 - вход и выход воды для охлаждения сопла; 3 -огнеупорное покрытие; 4, 5 - кварцевые трубки; 6 - водоохлаждаемое сопло; 7 - зона плазменного разряда; 8 – индуктор; 9 - затравка; 10 – кристаллизатор.
Метод является бесконтейнерным, в результате чего снимаются. проблемы физико-химического взаимодействии расплава с материалом контейнера, а также проблема возникновения остаточных напряжений из-за упругого .воздействия стенок контейнера.
Метод дает возможность проведения кристаллизации в области порядка 2300 К на воздухе, причем окислительно-восстановительный потенциал атмосферы кристаллизации регулируется за счет изменения относительного содержания кислорода и водорода в пламени.
Метод обеспечивает техническую простату проведения процесса и доступность наблюдения за ростом кристаллов.
Метод дает возможность быстрого получения достаточно больших кристаллов.
Однако имеются и определенные недостатки, к которым следует отнести:
1. Трудность подбора оптимального соотношения между скоростью опускания затравки, подачей шихты и расходов рабочих газов.
2. Возможность попадания в расплав примесей из рабочих газов, поскольку расход их весьма значителен (О2-0,7 м3 /ч, Н2-— 1,5- 2 м3/ч), а также из воздуха и керамики кристаллизатора.
3. Наличие больших высоких температурных градиентов в зоне кристаллизации (30-50 град/мм), способствующих возникновению в кристаллах внутренних напряжений (до 10 -15 кг/мм2).
4. Невысокое качество получаемых кристаллов вследствие неравномерности подачи исходной шихты, дестабилизации процесса горения, а также причин, отраженных в п. 1, 2 и 3.
5. Ограничения метода, возникающие вследствие использования кислородно-водородной горелки - максимально допустимая температура в зоне кристаллизации не позволяет выращивать кристаллы целого ряда интересных для квантовой электроники соединений, мощность всей системы в целом ограничена,
6. Выход готовых кристаллов по отношению к исходному порошку не превышает 60%, так как часть материала проносится газом мимо растущего кристалла. Это обстоятельство приобретает особое значение при выращивании дорогостоящих кристаллов, например монокристаллов соединений РЗЭ.
7. Атмосфера выращивания является окислительно-восстановительной, что существенно снижает возможности управления валентностями примесей, вводимых в кристалл.
Усовершенствованием метода Вернейля является замена кислородно-водородного факела другим источником дающим более высокие температуры. Речь идет, например, о плазменных разрядах. К их числу относятся электронный (дуговой) разряд и безэлектродный высокочастотный газовый разряд.
















