Вопросы на три (Alex.BiT & Рома Edition) (987495), страница 3
Текст из файла (страница 3)
При очень малых скоростях роста кристалла из расплава коэффициент распределения вещества перестаёт зависеть от направления и скорости роста и приближаются к равновесному значению, определяемому диаграммой состояния.
ОБРАЗОВАНИЕ ДЕФЕКТОВ ПРИ К. Реальные кристаллы всегда имеют неоднородное распределение примеси (секториальная, зонарная, карандашная структуры). Примесь меняет параметр решётки, и на границах областей разного состава возникают внутренние напряжения. Это приводит к образованию дислокаций и трещин. Дислокации при К. из расплава возникают и как результат упругих напряжений в неравномерно нагретом кристалле, а также при нарастании более горячих новых слоев на более холодную поверхность. Дислокации могут «наследоваться», переходя из затравки в выращиваемый кристалл.
Посторонние газы, хорошо растворимые в маточной среде, но плохо захватываемые растущим кристаллом, образуют на фронте роста пузырьки, которые захватываются кристаллом, если скорость роста превосходит некоторую критическую. Так же захватываются и посторонние твёрдые частицы из маточной среды, становящиеся затем в кристалле источниками внутренних напряжений.
Массовая К. — одновременный рост множества кристаллов — широко используется в промышленности. Для получения кристаллов примерно одинаковой величины и формы используются мельчайшие (~0,1 мм) затравочные кристаллы; процесс ведётся в той области температур, где новые зародыши самопроизвольно не возникают.
Спонтанное массовое появление зародышей и их рост происходят при затвердевании отливок металлов. Кристаллы зарождаются прежде всего на охлаждаемых стенках изложницы, куда заливается перегретый металл. Зародыши на стенках ориентированы хаотично, однако в процессе роста «выживают» те из них, у которых направление максимальной скорости роста перпендикулярно к стенке. В результате у поверхности возникает столбчатая зона, состоящая из почти параллельных узких кристаллов, вытянутых вдоль нормали к поверхности. Конвекционные потоки в расплаве могут обламывать ветви дендритов, поставляя новые затравки. Аналогично действует ультразвук, а также добавление порошков, частицы которых служат центрами К., и поверхностно-активных веществ, облегчающих образование зародышей.
МОНОКРИСТАЛЛ, отдельный однородный кристалл, имеющий непрерывную кристаллическую решётку и характеризующийся анизотропией свойств (см. Кристаллы). Внешняя форма М. обусловлена его атомнокристаллической структурой и условиями кристаллизации. Часто М. приобретает хорошо выраженную естественную огранку, в неравновесных условиях кристаллизации огранка проявляется слабо. Примерами огранённых природных М. могут служить М. кварца, каменной соли, исландского шпата, алмаза, топаза. От М. отличают поликристаллы и поликристаллические агрегаты, состоящие из множества различно ориентированных мелких М.
М. ценны как материал, обладающий особыми физическими свойствами. Например, алмаз и боразон предельно тверды, флюорит прозрачен для широкого диапазона длин волн, кварц — пьезоэлектрик (см. Пьезоэлектричество). М. способны менять свои свойства под влиянием внешних воздействий (света, механических напряжений, электрических и магнитного полей, радиации, температуры, давления). Поэтому изделия и элементы, изготовленные из М., применяются в качестве различных преобразователей в радиоэлектронике, квантовой электронике, акустике, вычислительной технике и др. Первоначально в технике использовались природные М., однако их запасы ограничены, а качество не всегда достаточно высоко. В то же время многие ценные свойства были найдены только у синтетических кристаллов. Поэтому появилась необходимость искусственного выращивания М. Исходное вещество для выращивания М. может быть в твёрдом (в частности, в порошкообразном), жидком (расплавы и растворы) и газообразном состояниях.
Известны следующие методы выращивания М. из расплава: а) Стокбаргера; б) Чохральского; в) Вернейля; г) зонной плавки. В методе Стокбаргера тигель с расплавом 1 перемещают вдоль печи 3 в вертикальном направлении со скоростью 1—20 мм/ч (рис. 1). температура в плоскости диафрагмы 6 поддерживается равной температуре кристаллизации вещества. Т. к. тигель имеет коническое дно, то при его медленном опускании расплав в конусе оказывается при температуре ниже температуры кристаллизации, и в нём происходит образование (зарождение) мельчайших кристалликов, из которых в дальнейшем благодаря геометрическому отбору выживает лишь один. Отбор связан главным образом с анизотропией скоростейhttp://www.cultinfo.ru/fulltext/1/001/009/001/206797919.jpg роста граней М. Этот метод широко используется в промышленном производстве крупных М. флюорита, фтористого лития, сернистого кадмия и др.
В методе Чохральского М. медленно вытягивается из расплава (рис. 2). Скорость вытягивания 1—20 мм/ч. Метод позволяет получать М. заданной кристаллографической ориентации. Метод Чохральского применяется при выращивании М. иттриево-алюминиевого граната, ниобата лития и полупроводниковых М. А. В. Степанов создал на основе этого метода способ для выращивания М. с сечением заданной формы, который используется для производства полупроводниковых М.
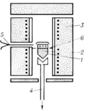
Метод Вернейля бестигельный. Вещество в виде порошка (размер частиц 2—100 мкм) из бункера 1 (рис. 3) через кислородно-водородное пламя подаётся на верхний оплавленный торец затравочного монокристалла 2, медленно опускающегося с помощью механизма 5. Метод Вернейля — основной промышленный метод производства тугоплавких М.: рубина, шпинелей, рутила и др.
В методе зонной плавки создаётся весьма ограниченная по ширине область расплава. Затем благодаря последовательному проплавлению всего слитка получают М. Метод зонного проплавления получил широкое распространение в производстве полупроводниковых М. (В. Дж. Пфанн, 1927), а также тугоплавких металлический М. молибден, вольфрам и др.
Методы выращивания из раствора включают 3 способа: низкотемпературный (растворители: вода, спирты, кислоты и др.), высокотемпературный (растворители: расплавленные соли и др.) и гидротермальный. Низкотемпературный кристаллизатор представляет собой сосуд с раствором 1, в котором создаётся пересыщение, необходимое для роста кристаллов 2 путём медленного снижения температуры, реже испарением растворителя (рис. 4). Этот метод используется для получения крупных М. сегнетовой соли, дигидрофосфата калия (KDP), нафталина и др.
Высокотемпературный кристаллизатор (рис. 5) содержит тигель с растворителем и кристаллизуемым соединением, помещенный в печь. Кристаллизуемое соединение выпадает из растворителя при медленном снижении температуры (раствор-расплавная кристаллизация). Метод применяется для получения М. железоиттриевых гранатов, слюды, а также различных полупроводниковых плёнок.
Гидротермальный синтез М. основан на зависимости растворимости вещества в водных растворах кислот и щелочей от давления и температуры. Необходимые для образования М. концентрация вещества в растворе и пересыщение создаются за счёт высокого давления (до 300 Мн/м2 или 3000 кгс/см2) и перепадом температуры между верхней (T1 ~ 250°C) и нижней (Т2 ~ 500 °С) частями автоклава (рис. 6). Перенос вещества осуществляется конвективным перемешиванием. Гидротермальный синтез является основным процессом производства М. кварца.
Методы выращивания М. из газообразного вещества: испарение исходного вещества в вакууме с последующим осаждением пара на кристалл, причём осаждение поддерживается определённым перепадом температуры Т (рис. 7, а); испарение в газе (обычно инертном), перенос кристаллизуемого вещества осуществляется направленным потоком газа (рис. 7, б); осаждение продуктов химических реакций, происходящих на поверхности затравочного М. (рис. 7, в). Метод кристаллизации из газовой фазы широко используется для получения монокристальных плёнок и микрокристаллов для интегральных схем и др. целей.
Выбор метода выращивания М. определяется требованием к качеству М. (количество и характер присущих М. дефектов). Различают макроскопические дефекты (инородные включения, блоки, напряжения) и микроскопические (дислокации, примеси, вакансии; см. Дефекты в кристаллах).
Существуют специальные методы уменьшения числа дефектов в М. (отжиг, выращивание М. на бездефектных затравочных кристаллах и др.).
При выращивании М. используются различные способы нагревания: омический, высокочастотный, газопламенный, реже плазменный, электроннолучевой, радиационный (в т. ч. лазерный) и электродуговой.
Рис. 1. Схема аппарата для выращивания монокристаллов по методу Стокбаргера: 1 — тигель с расплавом; 2 — кристалл; 3 — печь; 4 — холодильник; 5 — термопара; 6 — диафрагма.
Рис. 2. Схема аппарата для выращивания монокристаллов по методу Чохральского: 1 — тигель с расплавом; 2 — кристалл; 3 — печь; 4 — холодильник; 5 — механизм вытягивания.
Рис. 3. Схема аппарата для выращивания монокристаллов по методу Вернейля: 1 — бункер; 2 — кристалл; 3 — печь; 4 — свеча; 5 — механизм опускания; 6 — механизм встряхивания.
Рис. 4. Схема низкотемпературного кристаллизатора: 1 — раствор; 2 — кристалл; 3 — печь; 4 — термостат; 5 — мешалка; 6 — контактный термометр; 7 — терморегулятор.
Рис. 5. Схема высокотемпературного кристаллизатора: 1 — раствор; 2 — кристалл; 3 — печь; 4 — тигель.
Рис. 6. Схема автоклава для гидротермального синтеза: 1 — раствор; 2 — кристалл; 3 — печь; 4 — вещество для кристаллизации.
Рис. 7. Схема установки для кристаллизации из газовой фазы; пунктиром показано распределение температуры вдоль печи.
ПОЛИКРИСТАЛЛ, агрегат мелких кристаллов какого-либо вещества, иногда называемых из-за неправильной формы кристаллитами или кристаллическими зёрнами. Многие материалы естественного и искусственного происхождения (минералы, металлы, сплавы, керамики и т.д.) являются П. Свойства П. обусловлены свойствами составляющих его кристаллических зёрен, их средним размером, который колеблется от 1—210-6 мкм до нескольких мм, кристаллографической ориентацией зёрен н строением межзёренных границ. Если зёрна ориентированы хаотически, а их размеры малы по сравнению с размером П., то в П. не проявляется анизотропия физических свойств, характерная для монокристаллов. Если в П. есть преимущественная кристаллографическая ориентация зёрен, то П. является текстурированным (см. Текстура) и в этом случае обладает анизотропией свойств. Наличие границ зёрен существенно сказывается на физических, особенно механических, свойствах П., т.к. на границах происходит рассеяние электронов проводимости, фононов, торможение дислокаций и т.п.
П. образуются при кристаллизации, полиморфных превращениях (см. Полиморфизм) и в результате спекания кристаллических порошков. П. менее стабилен, чем монокристалл, поэтому при длительном отжиге П. происходит преимущественный рост отдельных зёрен за счёт других (рекристаллизация), приводящий к образованию крупных кристаллических блоков.















