Пояснительная записка (987155), страница 3
Текст из файла (страница 3)
Также пневмоблок предназначен для циклового управления двумя ориентирующими движениями кисти руки и захватным устройством. Приводы этих движений осуществляются от пневмоцилиндров. Для преобразования поступательного перемещения поршня во вращательное движение кисти руки используются винтовой копир (в приводе поворота кисти руки относительно ее продольной оси) и передача рейка-шестерня (в приводе качания кисти относительно поперечной оси). Привод зажима и разжима губок схвата осуществляется рычажным механизмом, присоединенным к штоку пневмоцилиндра. Соединение механизмов манипулятора между собой и устройством аналогового позиционного программного управления типа АПС-1 производится в соответствии с принципиальной электрической схемой.
3.3. Захватное устройство робота
При выборе типа зажимного устройства для промышленного робота необходимо в качестве исходных данных учитывать:
– тип и конструкцию основного и вспомогательного технологического оборудования (например, станков, накопительных или экспортных устройств и т.д.), обслуживаемых данным ПР;
– характеристики объекта манипулирования;
– тип и конструкцию самого ПР;
– особенности технологического процесса, выполняемого робототехническим комплексом.
В зависимости от формы и габарита объектов манипулирования ЗУ могут быть различных типоразмеров:
-
Для коротких тел вращения типа фланцев диаметром до 160, 200, 250 и 315 мм (массой от 10 до 40 кг).
-
Для длинных тел вращения (типа валов) диаметром до 60, 80, 100 и 160 мм (массой от 10 до 160 кг).
-
Для призматических корпусных изделий размером до 160, 250, 400 мм (массой от 10 до 40 кг) и т.д.
Конструкция ЗУ определяется двигателем привода исполнительного механизма, преобразующего движение привода в необходимое перемещение рабочих элементов схвата. В ЗУ используют различные исполнительные механизмы для преобразования с определенным отношением линейного или углового движения выходного звена привода в поступательное или вращательное перемещение рабочего элемента.
При этом можно выделить две группы исполнительных механизмов:
-
С постоянным коэффициентом передачи рабочего усилия, не зависящим от положения схвата;
-
С переменным коэффициентом передачи усилия в зависимости от положения схвата.
Преимуществом исполнительных механизмов с переменным передаточным отношением является возможность достижения больших усилий зажима. Однако наибольшие усилия достигаются обычно лишь в узком диапазоне рабочих перемещений.
В связи с этим для обеспечения надежного удержания объектов манипулирования при широком диапазоне их размеров необходимо использовать в ЗУ исполнительные механизмы с постоянным передаточным механизмом (например, зубчато-реечные, винтовые, некоторые рычажные и др.) или предусматривать переналадку исполнительных механизмов с переменным передаточным отношением (например, рычажного типа).
Н
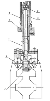
а рисунке 6 показан вариант конструкции однопозиционного схвата для деталей типа дисков и фланцев, имеющих широкий диапазон диаметров. Рассматриваемая конструкция обеспечивает центрирование детали независимо от диаметра. Высокая стабильность установки (0,05 – 0,07 мм) достигается за счет профилирования губок схвата.
Д
Рис. 6. Захватное устройство робота
ве пары рычагов 1, выполненных заодно с зажимными губками, свободно установлены на своих осях 2. На рычагах нарезаны зубчатые секторы, входящие попарно в зацепление с рейками 3, которые связаны между собой рычагами 4, образующими шарнирный параллелограмм. Шарнирный параллелограмм обеспечивает независимую работу каждой пары зажимных рычагов 1, что необходимо для захватывания и центрирования деталей. Место соединения тяги 5 с гнездом, выполненным во втулке 6 привода зажима и разжима схвата, а также байонетное соединение хвостовика 7 схвата с головкой шпинделя 8 кисти руки унифицированы. Предусмотрены два исполнения унифицированного захватного устройства: сменное и быстросменное. В сменном захватном устройстве хвостовик 7 крепится к шпинделю 8 кисти руки при помощи байонетного замка 9, накидного рычага 10 с резьбой и гайки 11. В быстросменном захватном устройстве применяется только байонетное крепление 9, которое может быть использовано и при автоматической смене схвата. При установке хвостовик 7 вводится в гнездо с одновременным отжимом фиксатора 10, который при повороте схвата на 90° входит под действием пружины в отверстие во фланце.4. Транспортно-накопительная система
Для накопления заготовок и позиционирования их пол захват роботом с учетом достаточно большой длительности цикла обработки заготовок выбираем тактовый стол. Тактовый стол является одной из разновидностей тележечных грузонесущих конвейеров. Широкое разнообразие их использования обусловило большое число их конструктивных разновидностей.
4.1. Описание тактового стола
Тактовый стол, используемый в данном РТК, представляет собой горизонтально замкнутый тележечный грузонесущий конвейер с настольным пульсирующим (тактовым) перемещением платформ, предназначенный для подачи заготовок и приема готовых деталей. Габаритные размеры тактового стола (длина
ширина
высота): 2100
1270
900 мм. Разгрузка платформ осуществляется в автоматическом цикле с использованием промышленного робота. На каждой платформе установлена паллета с приспособлением, позволяющим расположить на ней 2 детали на специальных штырях (рис. 7). Учитывая, что среднее время обработки одной детали составляет приблизительно 6 минут, а количество платформ с паллетами 24 (23 – с деталями и заготовками, 1 – свободная для перегрузки готовых деталей), обеспечивается бесперебойная работа РТК в течение около 5 часов (выпуск 48 деталей).
Рис. 7. Схема расположения заготовок на паллете тактового стола
5. Заготовка и деталь
5.1. Способ получение заготовки
Поскольку материал обрабатываемой детали – серый чугун (СЧ20), выберем литье как способ получения заготовки. При отливке заготовка получает некоторые уклоны (≈3°) и припуски (3-4 мм), однако выбранный способ более экономичен в данном случае и не требует сложных операций.
5.2. Базирование и закрепление заготовки на станке
Для закрепления заготовки на станке используем самоцентрирующиеся тиски, зажим в которых осуществляется при подводе их губок с двух сторон к основанию заготовки (рис. 8).
Для обеспечения автоматического закрепления детали в приспособлении используем специальную головку с регулировкой крутящего момента (рис. 9).
Головку устанавливаем в одном из гнезд магазина инструментов, например, в гнездо №3.
Рис. 8. Зажим детали призматическими губками самоцентрирующихся тисков
Рис. 9. Головка для вращения винта зажимного приспособления
6. Выбор инструмента
Инструмент Т1
Сверло с механическим креплением пластинки из твердого сплава.
Dmm = 20 мм;
l1s = 120 мм;
l2s = 160 мм;
l3s = 100 мм;
l4 = 80 мм.
Материал пластинки: ВК6.
Инструмент Т2
Спиральное сверло из быстрорежущей стали.
d = 10 мм;
l = 50 мм;
L = 120 мм.
Материал инструмента: Р6М5.
Инструмент Т3
Зенковка из быстрорежущей стали.
D = 16 мм;
α = 90°;
L = 93 мм;.
Материал инструмента: Р6М5.
Инструмент Т4
Метчик из быстрорежущей стали.
d
= 12 мм;
d1 = 10 мм;
l = 36 мм;
L = 110 мм;.
Материал инструмента: Р6М5.
Инструмент Т5
Дисковая фреза из быстрорежущей стали.
d = 6 мм;
d1 = 16 мм;
L = 3 мм;.
Материал инструмента: Р6М5.
7. Расчетная часть
7.1. Расчет подшипников шпинделя на долговечность
Составим систему уравнений для рассмотренных подшипников шпинделя станка:
Для решения полученной системы уравнений найдем окружную силу, действующую на шпиндель станка:
| Сp = 30 x = 0,83 y = 0,65 u = 1,0 q = 0,83 w = 0 | | (по табл.) для дисковой фрезы из БРС; |
t = 1,5 мм – глубина резания;
Sz = 0,07 мм/зуб – подача на зуб фрезы;
b = 3 мм – ширина резания;
D = 20 мм – диаметр фрезы;
n = 1812 об/мин – частота вращения шпинделя;
KMP = 0,55 (по табл.);
(по табл.) – радиальная нагрузка;
















