Пояснительная записка (987112), страница 2
Текст из файла (страница 2)
Многоцелевые промышленные роботы (ПР) типа «Универсал 5.02» применяются для автоматизации погрузочно-разгрузочных работ, обслуживания различного технологического оборудования, межоперационного и межстаночного транспортирования объектов обработки и выполнения других вспомогательных операций.
3.1. Техническая характеристика робота
| Грузоподъемность | 5 кг |
| Число степеней подвижности | 6 |
| Наибольшая величина перемещения: | |
| – вокруг вертикальной оси I–I | 340 |
| – вдоль оси I-I | 400 мм |
| – вдоль горизонтальной оси III–III | 630 мм |
| – вокруг вертикальной оси II–II | 240 |
| – вокруг оси III–III | 180 |
| – вокруг оси IV–IV | 180 |
| Наибольшая скорость: | |
| – вокруг оси I–I поворота. | 84 град/с |
| – вертикального хода руки вдоль оси I–I | 0.27 м/с |
| – выдвижение руки вдоль оси III–III | 1.08 м/с |
| – поворота руки вокруг оси II–II | 132 град/c |
| Точность позиционирования | 1 мм |
| Масса | 630 кг |
3.2. Основные механизмы робота
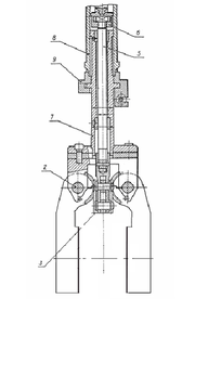
Рис. 3. Общий вид промышленного робота «Универсал 5.02»
Общий вид робота приведен на рисунке 3. Исполнительным механизмом ПР является манипулятор, который обеспечивает установку в пределах рабочей зоны захватного механизма схвата. Манипулятор имеет четыре степени подвижности руки 1 в сферической системе координат, которые реализуются механизмами: поворота 2 относительно оси II–II, выдвижения руки 3 вдоль оси III–III, поворота руки 4 относительно вертикальной оси I–I, подъема руки 5 вдоль оси I–I. Две ориентирующие степени подвижности рабочего органа-схвата 7 создают механизмы вращения кисти руки 6 относительно ее продольной оси III–III и поперечной оси IV–IV. Подвижные механизмы манипулятора защищены от попадания пыли, грязи и масла ограждением 8.
Установочные перемещения руки осуществляются с помощью электромеханических следящих приводов, а ориентирующие движения кисти руки и зажим-разжим схвата – пневмоцилиндрами.
Пневмоблок 9, которым комплектуется ПР, предназначен для подготовки, регулирования подачи сжатого воздуха из заводской сети и блокирования работы манипулятора при падении давления ниже допустимого.
Блок тиристорных электроприводов 10 формирует управляющие напряжения в якорной цепи электродвигателей постоянного тока.
Устройство программного управления 11 позиционного типа имеет возможность записи программы в режиме обучения (по первому циклу) и формирует управляющие сигналы на блок 10, а также технологические команды управления циклом работы манипулятора и обслуживаемого оборудования.
Блоки тиристорного электропривода ЭПТ6-У5.02 обеспечивают управление в следящем режиме электродвигателями постоянного тока типа СЛ-569 и СЛ-661, установленными в механизмах четырех программируемых степеней подвижности манипулятора.
Механизмы электроприводов включают в себя зубчатые или червячные редукторы, параметры которых, даны в кинематической схеме. Обратная связь исполнительных механизмов манипулятора по положению, и скорости осуществляется потенциометрическими датчиками типа ППМЛ, приводящимися с помощью зубчатых редукторов и тахогенераторов типа СЛ-121, которые приводятся в движение специальными зубчатыми или ременными механизмами.
Также пневмоблок предназначен для циклового управления двумя ориентирующими движениями кисти руки и захватным устройством. Приводы этих движений осуществляются от пневмоцилиндров. Для преобразования поступательного перемещения поршня во вращательное движение кисти руки используются винтовой копир (в приводе поворота кисти руки относительно ее продольной оси) и передача рейка-шестерня (в приводе качания кисти относительно поперечной оси). Привод зажима и разжима губок схвата осуществляется рычажным механизмом, присоединенным к штоку пневмоцилиндра. Соединение механизмов манипулятора между собой и устройством аналогового позиционного программного управления типа АПС-1 производится в соответствии с принципиальной электрической схемой.
3.3. Захватное устройство робота
Преимуществом исполнительных механизмов с переменным передаточным отношением является возможность достижения больших усилий зажима. Однако наибольшие усилия достигаются обычно лишь в узком диапазоне рабочих перемещений.
В связи с этим для обеспечения надежного удержания объектов манипулирования при широком диапазоне их размеров необходимо использовать в ЗУ исполнительные механизмы с постоянным передаточным механизмом (например, зубчато-реечные, винтовые, некоторые рычажные и др.) или предусматривать переналадку исполнительных механизмов с переменным передаточным отношением (например, рычажного типа).
Н
а рисунке 4 показан вариант конструкции однопозиционного схвата для деталей типа дисков и фланцев, имеющих широкий диапазон диаметров. Рассматриваемая конструкция обеспечивает центрирование детали независимо от диаметра. Высокая стабильность установки (0,05 – 0,07 мм) достигается за счет профилирования губок схвата.
Д
Рис. 4. Захватное устройство робота
ве пары рычагов 1, выполненных заодно с зажимными губками, свободно установлены на своих осях 2. На рычагах нарезаны зубчатые секторы, входящие попарно в зацепление с рейками 3, которые связаны между собой рычагами 4, образующими шарнирный параллелограмм. Шарнирный параллелограмм обеспечивает независимую работу каждой пары зажимных рычагов 1, что необходимо для захватывания и центрирования деталей. Место соединения тяги 5 с гнездом, выполненным во втулке 6 привода зажима и разжима схвата, а также байонетное соединение хвостовика 7 схвата с головкой шпинделя 8 кисти руки унифицированы. Предусмотрены два исполнения унифицированного захватного устройства: сменное и быстросменное. В сменном захватном устройстве хвостовик 7 крепится к шпинделю 8 кисти руки при помощи байонетного замка 9, накидного рычага 10 с резьбой и гайки 11. В быстросменном захватном устройстве применяется только байонетное крепление 9, которое может быть использовано и при автоматической смене схвата. При установке хвостовик 7 вводится в гнездо с одновременным отжимом фиксатора 10, который при повороте схвата на 90° входит под действием пружины в отверстие во фланце.4. Транспортно-накопительная система
Для накопления заготовок и позиционирования их пол захват роботом с учетом достаточно большой длительности цикла обработки заготовок выбираем тактовый стол. Тактовый стол является одной из разновидностей тележечных грузонесущих конвейеров. Широкое разнообразие их использования обусловило большое число их конструктивных разновидностей.
4.1. Описание тактового стола
Рис. 5. Схема расположения заготовок на паллете тактового стола
актовый стол, используемый в данном РТК, представляет собой горизонтально замкнутый тележечный грузонесущий конвейер с настольным пульсирующим (тактовым) перемещением платформ, предназначенный для подачи заготовок и приема готовых деталей. Габаритные размеры тактового стола (длина5. Заготовка и деталь
5.1. Способ получение заготовки
Поскольку материал обрабатываемой детали – серый чугун (СЧ20), выберем литье в песчаную форму как способ получения заготовки. При отливке заготовка получает некоторые уклоны (≈3°) и припуски (3–4 мм), однако выбранный способ более экономичен в данном случае и не требует сложных операций.
5.2. Базирование и закрепление заготовки на станке
Для закрепления детали на станке (рис. 6) используем специализированное переналаживаемое приспособление тисочного типа для станков. Центрирование заготовки происходит при схождении тисков с двух сторон. Зажим тисков осуществляется автоматически от привода шпинделя станка. Также деталь с одной стороны фиксирует специальный упор.
Рис. 6. Схема закрепления заготовки на станке
6. Выбор инструмента
Инструмент Т1
Концевая фреза для обработки плоских поверхностей из твердого сплава.
Концевые фрезы предназначены для обработки плоскостей, уступов и пазов. Их изготовляют с цилиндрическим и коническим хвостовиком. Используем фрезу с коническим хвостовиком, чтобы закрепить ее в шпиндельной головке.
Диаметр фрезы: 25 мм.
Материал: ВК6.
















