пояснительная по КР(1713 6Р13РФ3) (987044), страница 2
Текст из файла (страница 2)
Вертикальная, продольная и поперечная подачи и ускоренные перемещения осуществляются от шаговых двигателей ШД5Д1 с гидроусилителями моментов Э32Г18-24. Вертикальная подача осуществляется от двигателя М4 через передачи z = 27-54, z = 39-65 и винт-гайку качения с шагом Р = 8 мм. В кинематическую цепь вертикальной подачи встроена пружинная гидравлическая муфта М1, предохраняющая консоль от самопроизвольного опускания при остановке станка. Консоль имеет зажимное устройство, работающее от программ и действующее при опускании вертикального перемещения.
Продольная подача осуществляется от шагового двигателя М5 через беззазорный редуктор z = 27-45, z = 26-52 и винт-гайку качения XX с шагом З= 8 мм. Величина продольного хода ограничена кулачками.
Кинематические цепи ускоренных подач те же, что и для рабочих подач. Гнезда рукояток ручных подач имеют конечные выключатели, осуществляющие блокировку: при вытаскивании рукоятки из гнезда размыкается электрическая цепь механической подачи от программы.
Гидропривод станка обеспечивает перемещение рабочих органов по трем координатам; разгрузку, зажим и блокировку консоли; фиксацию и зажим револьверной головки; переключение передвижных блоков коробки скоростей.
| Основные параметры | 6Р13РФ3 |
| Размер рабочей поверхности стола (длина Х ширина), мм | 1600 Х 400 |
| Число инструментов в револьверной головке | 6 |
| Число частот вращения шпинделя | 18 |
| Частота вращения шпинделя, мин-1 | 40 - 2000 |
| Пределы рабочих подач по осям X’, Y’, Z’ , мм/мин | 1200 |
| Скорость быстрого перемещения по осям X’, Y’, Z’, мм/мин | 2400 |
| Габариты | |
| Ширина, мм | 2575 |
| Длина, мм | 2180 |
| Высота, мм | 2480 |
Промышленные роботы для обслуживания металлорежущих станков.
Наиболее эффективно применение промышленных роботов в составе ГПМ, участков и линий в сочетании с автоматизированными станками средней размерной группы, обрабатывающими штучные заготовки. Основными функциями, выполняемыми промышленными роботами, являются: установка заранее ориентированной заготовки в рабочую зону станка, снятие детали со станка и укладка ее в тару (накопитель), кантование деталей (при необходимости), очистка базовых поверхностей деталей и приспособлений, выдача технологических команд (управление оборудованием), контроль деталей. Расширение функциональных возможностей промышленных роботов может быть обеспечено за счет применения вспомогательной оснастки и механизмов (координатных тактовых столов, подъемных платформ и т.д.)
Новые разработки промышленных роботов отличаются в основном агрегатной конструкцией, что делает возможным получение нескольких конструкционных модификаций базовой модели.
Промышленный робот типа «Циклон-5»
Промышленные роботы типа «Циклон-5» предназначены для автоматизации процессов холодной штамповки в условиях серийного и мелкосерийного производств, а также для загрузки и разгрузки технологического оборудования, межстаночного транспортирования и межоперационного складирования в механических, заготовительных и других цехах.
Промышленный робот «Циклон-5» состоит из манипулятора 1 и устройства 2 циклового программного управления типа УЦМ-30.
Для установки манипулятора на требуемой высоте от уровня пола используются винтовые домкраты 3.
ПР «Циклон-5.02» дополнительно оснащен модулем сдвига, увеличивающим размер зоны обслуживания в горизонтальном направлении).
Манипулятор является исполнительным механизмом ПР и включает в себя следующие основные сборочные единицы: 1)рука (или две руки); 2)механизм подъема и поворота рук; 3)пневмосистема.
Рука манипулятора выполнена в виде унифицированной конструкции, предназначенной для захвата, удержания и ориентации в пространстве заготовок, деталей или технологической оснастки массой до 5кг.
Для осуществления указанных выше операций механизм руки включает в себя приводы выдвижения и поворота кисти, а также захватное
устройство (схват) с приводом зажима.
Захват и зажим объекта манипулирования производится губками 1, установленными на шарнирах в корпусе, который крепится к фланцу 4, сидящему на шлицевом хвостовике вала 3.
Размеры и конфигурации губок могут быть разнообразными в зависимости от формы и массы детали; в случае необходимости допускается замена всего схвата.
Зажим и разжим схвата осуществляется сжатым воздухом, который через штуцер 22 и отверстие во втулке 15 подводится во внутреннюю полость валов 17 и 3, а затем поступает в рабочую полость пневмоцилиндра 2. Под давлением воздуха шток-поршень пневмоцилиндра 2 перемещается влево и при помощи закрепленного на штоке водила и рычагов сжимает губки схвата. Разжим схвата происходит под действием пружины при выключении давления воздуха в пневмоцилиндре 2.
Привод поворота схвата состоит их двух пневмоцилиндров 23, расположенных на корпусе 14. При подаче сжатого воздуха в рабочую полость одного из цилиндров (например, левого) поршень 24 вместе с рейкой 26 движется вправо, приводя во вращение шестерню 27, валы 17 и 3. Полость правого цилиндра при этом сообщается с атмосферой.
Для поворота схвата в противоположную сторону сжатый воздух подается в правый цилиндр. Угол поворота схвата регулируется винтами-ограничителями 25.
Для обеспечения равномерной скорости поворота схвата имеется гидродемфер 16, который крепится к корпусу 14. Лопасть 28 демпфера установлена на валу, кинематически связанном с валом 17. При повороте
вала лопасть 28 выжимает масло из полости К в полость Л через дроссель 29, с помощью которого регулируется скорость поворота схвата.
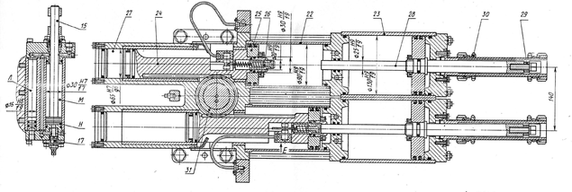
Привод выдвижения руки представляет собой пневмоцилиндр, состоящий из трубы 10 с приваренными на концах фланцами 13 и 18. Внутри трубы размещен полый шток-поршень 11, на переднем конце которого закреплен схват. К фланцам крепятся два корпуса: 14 и 19.
В корпусе 19 запрессована бронзовая втулка 20, которая является направляющей штока 11. На штоке жестко закреплен хомут 5, к которому крепится штанга 6 с двумя упорами 7 и 12, предназначенными для ограничения хода штока. Передвигая упоры по штанге, можно регулировать ход руки. Положение упоров фиксируется винтами 21. Штанга 6 одновременно служит для удержания шток-поршня 11 от проворота относительно продольной оси руки.
Штоковая полость пневмоцилиндра 10 постоянно находится под давлением. Для выдвижения руки сжатый воздух подается в противоположную полость этого пневмоцилиндра: шток 11 вследствие разности эффективных площадей поршня начинает перемещаться влево вместе со штангой 6 и упорами 7, 12, осуществляя выдвижение руки до соприкосновения упора 12 в подпружиненный палец 8 датчика 9 положения.
Датчик выдает сигнал в систему управления о срабатывании механизма выдвижения. Для втягивания руки давление в бесштоковой полости сбрасывается, и поршень под действием давления воздуха в штоковой полости начинает движение назад.
Для увеличения скорости втягивания руки в магистрали подвода воздуха из сети устанавливается клапан быстрого сброса.
В корпусе 19 расположен сдвоенный гидродемпфер, который обеспечивает торможение руки при ее движении вперед или назад при подходе к точке позиционирования.
Движущаяся вместе со штоком рука воздействует на упоры: упор 12
(при выдвижении руки) или упор 7 (при обратном ходе), которые нажимают на выступающие штоки золотников 32, утапливая их в корпусе. Масло при
движении золотника 32 вытесняется из полостей М (или Н) через кольцевое
отверстие, образованное коническим хвостовиком золотника и сверлением в корпусе. При перемещении золотника сечение отверстия уменьшается, плавно увеличивая сопротивление движению руки: происходит торможение руки. Эффективность (время) торможения можно регулировать дросселем. Масло, вытесненное при движении золотника 32, частично перетекает в полость К и перемещает поршень 30 в правую сторону, преодолевая давление постоянно подаваемого через штуцер 31 воздуха.
При обратном движении руки упор 12 (или 7) отходит от хвостовика золотника, и масло из полости К под действием давления воздуха в полости Л открывает обратные клапаны, перетекает в полость М (или Н) и возвращает золотник в исходное положение.
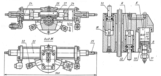
Описание механизма подъема и поворота манипулятора.
Механизм подъема и поворота предназначен для осуществления перемещения рук вдоль вертикальной оси манипулятора и поворота рук вокруг этой оси.
Рука (или руки) крепятся на торце подвижного пневмоцилиндра 1, который является приводом подъема. В устройство подъема рук входит также шток 2 с поршнем 3, установленный на подшипниках 4 и 5 в корпусе 6 и неподвижно закрепленный на стойке станины клапан тормозной 7 с дросселем.
Для подъема руки сжатый воздух через сверления в крышке 8 и в штоке 2
подается в бесштоковую полость цилиндра 1. Верхнее положение цилиндра с закрепленными на нем руками определяется упором 9, который, упираясь в корпус тормозного клапана 7, препятствует дальнейшему перемещению цилиндра 1.
При подъеме рук упор 9 цилиндра подъема нажимает на шток 10 золотника, который, поднимаясь, вытесняет масло из полости П в полость К через дроссель 11 и кольцевое отверстие переменного сечения. Эффективность торможения определяется временем перетекания масла и регулируется посредством дросселя 11. При этом дроссель настраивают так, чтобы обеспечивался безударный останов подвижного цилиндра в верхнем положении.
При опускании рук (при отходе упора 9) возврат штока-золотника 10 в исходное положение осуществляется сжатым воздухом, постоянно подаваемым из сети в полость И, отделенную от полости К поршнем 36. Для
ускорения возврата золотника масло в полость П перетекает через обратный клапан 12.
Интенсивность торможения при опускании рук регулируется дросселем 13. Плавность хода и регулировка скорости подъема и опускания рук осуществляется с помощью двух гидродемпферов 14. Корпус гидродемпферов крепится к стойке станины, а шток 15 соединен с коллектором 16. При подъеме опускании цилиндра 1 вместе со штоком 15 масло выжимается из полости М в полость Н через дроссель 17, с помощью которого регулируется скорость движения.
В нижнем положении цилиндра 1 поршень 3 упирается в заглушку 18. В заданном положении цилиндра срабатывает бесконтактный путевой датчик 19, в паз головки которого входят флажки 20, закрепленные на скалке 21. Датчик сигнализирует о выполнении заданного перемещения.
Устройство поворота состоит из двух малых 22 и двух больших 23 пневмоцилиндров. Штоки 24 поршней 25 выполнены в виде реек. В полости
поршней находятся бесконтактные путевые датчики 26. Передние концы штоков 24 служат плунжерами полостей гидроцилиндра 27 торможения при повороте руки. На штоках 28 больших гидроцилиндров 23 закреплены планки 29, которые, упираясь в регулируемые гайки-упоры 30, ограничивают перемещение этих штоков. Шток-рейки 24 зацепляются с шестерней 31, закрепленной на штоке 2. Передача вращающего момента со штока на подвижный цилиндр 1 осуществляется посредством скалки 32, которая укреплена на кронштейне 33, и приводит в движение водило 34, жестко связанное с подвижным цилиндром 1.
Для осуществления поворота рук сжатый воздух подается в бесштоковую полость одного из пневмоцилиндров 22: шток-рейка, перемещаясь под давлением воздуха до упора в шток 28, приводит во вращение шестерню 21 и связанный с ней подвижный цилиндр 1 с закрепленными на нем механическими руками.















