Пояснительная записка (986907)
Текст из файла
Содержание:
-
Введение 3
-
Станок мод. 16К20Ф3 5
-
Техническая характеристика станка 5
-
Устройство ЧПУ 6
-
Основные узлы и движения в станке 7
-
Кинематика станка 8
-
Командоаппарат резцедержателя станка 12
-
Заготовка и деталь 14
-
Способ получения заготовки 14
-
Базирование и закрепление заготовки на станке 14
-
Чертеж заготовки 15
-
Чертеж детали 16
Транспортно-накопительная система 17
-
Описание тактового стола 17
Напольный промышленный робот 18
-
Техническая характеристика робота 18
-
Основные механизмы робота 19
-
Захватное устройство робота 22
Выбор инструмента 24
Расчетная часть 25
-
Расчет режимов резания 25
-
Расчет шпинделя на прочность и жесткость 28
-
Расчет схвата руки ПР 30
Список литературы 33
Графическая часть:
-
Лист 1. Компоновка РТК.
-
Лист 2. Шпиндельный узел станка.
-
Лист 3. Технологические наладки.
-
Лист 4. Схват руки ПР.
1. Введение
Автоматизация производства в машиностроении представляет собой самостоятельную комплексную проблему. Ее решение направлено на создание нового совершенного оборудования, технологических процессов и систем организации производства, функционирование которых неразрывно связано с улучшением условий труда, ростом качества продукции, сокращением потребности в рабочей силе и с систематическим повышением прибыли.
Эффективность автоматизации прямо зависит от того, насколько рационально организован производственный процесс в целом, как комплексно и полно на всех звеньях технологической цепочки внедрены средства автоматизации, от того, насколько принятая система организации и управления производством позволяет принимать решения на низшем уровне (в целях ликвидации внеплановых простоев). Автоматизация требует рассматривать производственный процесс как единую систему.
Отработка технических решений по созданию автоматизированных технологических комплексов, по-видимому, должна вестись, прежде всего, применительно к серийному производству (оно составляет до 40 % общемашиностроительного производства), поскольку они могут быть применены также в массовом и крупносерийном производстве. Очевидно, что по мере совершенствования технических решений, разработанных для условий серийного производства, внедрения новых исходных средств автоматизации и элементной базы, появится возможность их использования и для автоматизации мелкосерийного производства. Таким образом, принятое направление на развитие автоматизации в серийном производстве не только будет способствовать подъему производительности труда в этой области, но и окажет существенное влияние на уровень мелкосерийного и массового производства.
Появление и развитие промышленных роботов, безусловно, явились одним из крупнейших достижений науки и техники последних лет. Они позволили расширить фронт работ по автоматизации технологических и вспомогательных процессов, открыли широкие перспективы создания автоматических систем машин для гибкого, переналаживаемого производства.
Одной из основных причин разработок и внедрения роботов является экономия средств. По сравнению с традиционными средствами автоматизации применение роботов обеспечивает большую гибкость технических и организационных решений, снижение сроков комплектации и запуска в производство автоматизированных станочных систем. По предварительным данным, использование роботов для автоматической установки и снятия деталей позволяет рабочему обслуживать от четырех до восьми металлорежущих, станков.
С экономическими вопросами, возникающими при применении роботов, тесно связан и социальный аспект их использования. При определении целесообразности применения роботов в том или ином случае (особенно при необходимости замены рабочего на участках с опасными, вредными для здоровья условиями труда) превалирующими должны быть интересы человека, его безопасность и удобство работы. Необходимо также учитывать и фактор непрерывного роста уровня общеобразовательной и специальной подготовки трудящихся. Роботы должны освободить человека от выполнения бездумной механической работы и скомпенсировать потребность в низкоквалифицированном труде. Таким образом, применение роботов в дальнейшем должно оказать существенное влияние (в числе прочих факторов научно-технической революции) на социальную структуру общества.
2. Станок мод. 16К20Ф3.
Станок 16К20Ф3 токарный с ЧПУ предназначен для токарной обработки в замкнутом полуавтоматическом цикле деталей типа тел вращения со ступенчатым и криволинейным профилем, включая нарезание крепежных резьб. Станок выпускают на базе станка 16К20. Станок применяется в индивидуальном, мелкосерийном и серийном производстве с мелкими повторяющимися партиями деталей. Приспособления для зажима заготовки – 3х кулачковый патрон с автоматическим зажимом.
Класс точности станка – П.
2.1. Техническая характеристика станка.
Технические характеристики станка:
| 1 . Наибольший диаметр обрабатываемого изделия над суппортом, мм | 220 |
| 2. Наибольшая длина обработки установленного в центрах изделия, мм | 1000 |
| 3. Наибольшая длина обработки, мм | 905 |
| 4. Диаметр отверстия в шпинделе, мм | 53 |
| 5. Частота вращения шпинделя (бесступенчатое регулирование), мин-1 | 20... 2240 |
| 6. Пределы частот вращения шпинделя, устанавливаемого в ручную, мин-1 диапазон I диапазон II диапазон III | 20. ..325 63... 900 160... 2240 |
| 7. Скорость подачи, мм/об продольного хода поперечного хода | 0,01-40 0,005-20 |
| 8. Скорость быстрых ходов, мм/мин (продольн.) | 7500 |
| 9. Перемещение суппорта на 1 импульс, мм продольного хода поперечного хода | 0,01 0,005 |
| 10. Пределы шагов нарезаемой резьбы, мм | 0,01-40,95 |
| 11. Количество позиций в инструментальной головке | 6 |
2.2. Устройство ЧПУ.
Станок оснащен УЧПУ типа 2Р22 с вводом программы с клавиатуры, магнитной кассеты или при подключении внешнего фотосчитывающего устройства с перфоленты. На УЧПУ 2Р22 программа визуализируется на буквенно-цифровом экране блока отражения символьной информации.
2.3. Основные узлы и движения в станке.
Станок оснащен контурной системой управления типа «4СКFF» и регулируемыми асинхронными двигателями с частотным регулированием главного движения и постоянного тока движения подач. Программа перемещений инструмента, управление приводами и вспомогательные команды вводятся в память системы управления с клавиатуры пульта управления или магнитной ленты и могут корректироваться с помощью клавиатуры и проверяться на экране буквенно-цифровой визуализацией
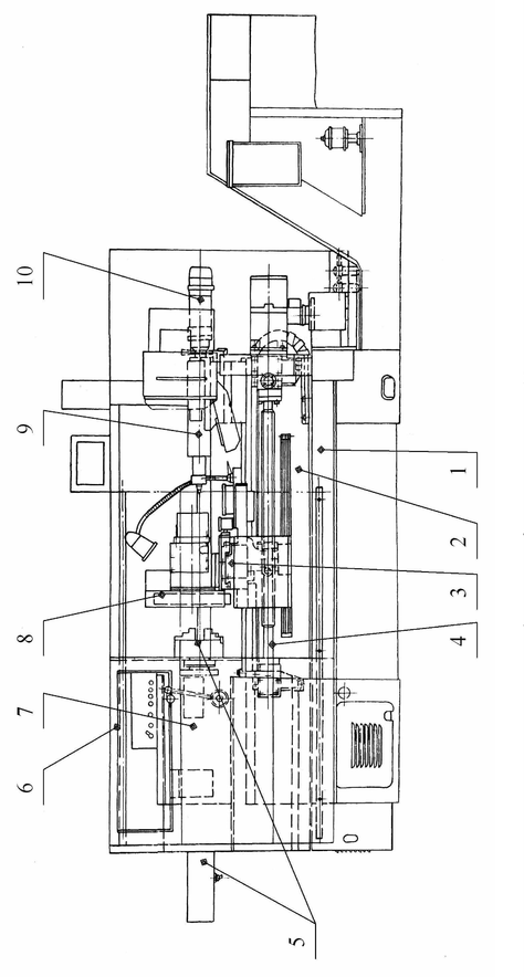
Основные узлы токарного станка с ЧПУ модели 16К20Ф3 в комплекте с транспортером по уборке стружки изображены на Рис. 3: 1 - основание; 2 - станина; 3 - суппортная группа (продольный и поперечный суппорты); 4 - передача винт-гайка качения (ВГК) продольного перемещения; 5 - патрон механизированный с электромеханическим приводом; 6 - ограждение подвижное; 7 - бабка шпиндельная; 8 - головка револьверная шести позиционная автоматическая; 9 - бабка задняя; 10 - электромеханический привод пиноли задней бабки; 11 – транспортер по удалению стружки; 12 – тара для стружки; 13 – система подачи СОЖ.
Основные узлы токарного станка с ЧПУ мод.16К20Ф3
Основание станка 1 представляет собой жесткую отливку с окном для схода стружки и проёмом для установки транспортера удаления стружки, который устанавливается с правой стороны. На основании устанавливаются станина 2, электродвигатель главного движения, станция смазки направляющих суппортной группы и шпиндельной бабки.
Станина 2 станка имеет коробчатую форму с поперечными ребрами П-образного профиля. На станине 2 станка устанавливаются шпиндельная бабка 7, с приводом главного движения с механизированным трех кулачковым патроном 5 имеющем с электромеханический привод зажима, закаленные шлифованные направляющие по которым перемещаются задняя бабка и суппортная группа.
Суппортная группа 3 состоит из продольного и поперечного суппортов. Продольный суппорт осуществляет продольное движение подачи по передней плоской и задней неравнобокой призматической направляющим. Продольное перемещение осуществляется через передачу винт-гайка 4. Поперечный суппорт (каретка) с револьверной автоматической головкой 8 (поворотным резцедержателем) перемещается по неравнобокой призматической передней и плоской задней направляющим, осуществляя поперечное движение подачи. Рабочие поверхности продольных и поперечных направляющих суппортной группы покрываются антифрикционным составом, например УП5221. Антифрикционное покрытие обеспечивает постоянство коэффициента трения при малых и высоких скоростях рабочих перемещений, что способствует повышению точности позиционирования, стабильности и точности обработки.
На станке используется автоматическая универсальная револьверная шести позиционная головка 8 с горизонтальной осью поворота и инструментальным диском на шесть радиальных или осевых инструмента установленная на поперечном суппорте станка. Сверху в головке предусмотрен кран регулирования подачи СОЖ, поворачиваемый при наладке станка.
Задняя бабка 9 перемещается в продольном направлении по передней плоской и задней неравнобокой призматической направляющим. Выдвижение пиноли задней бабки осуществляется от электромеханического привода 10.
Для облегчения перемещения задней бабки по станине и предотвращения износа направляющих применяется пневмооборудование, которое служит для создания воздушной подушки. Пневмооборудование подключается к цеховой сети подачи сжатого воздуха.
Ограждения: неподвижное – щитового типа со съёмными щитками с задней стороны и подвижное 6 - с прозрачным экраном для наблюдения, с передней стороны, закрывают зону резания.
На станке для встраивания в РТК перемещение ограждения осуществляется в автоматическом цикле при помощи гидромотора, на валу которого установлена шестерня, передающая движение рейке, закрепленной на ограждении. С целью контроля положения ограждения установлены конечные выключатели, которые дают сигналы для работы станка в автоматическом цикле с роботом. В крайних положениях ограждения предусмотрено замедление перемещения.
Дополнительно станок оснащается:
- приводом перемещения пиноли с контролем ее положения. Для этого на задней бабке установлены конечные выключатели, которые срабатывают при перемещении пиноли и дают сигналы о положении пиноли в автоматическом цикле работы станка с роботом;
- патроном автоматизированным 5 с электромеханическим приводом и бесконтактным контролем зажима;
транспортером 11 для уборки стружки с устройством по очистке СОЖ и тарой 12 для сбора стружки. На станке также установлена система подачи СОЖ 13.
3. Заготовка и деталь
3.1. Способ получение заготовки
Поскольку материал обрабатываемой детали – серый чугун (СЧ20), выберем литье в песчаную форму как способ получения заготовки. При отливке заготовка получает некоторые уклоны (≈3°) и припуски (2–4 мм), однако выбранный способ более экономичен в данном случае и не требует сложных операций.
Характеристики
Тип файла документ
Документы такого типа открываются такими программами, как Microsoft Office Word на компьютерах Windows, Apple Pages на компьютерах Mac, Open Office - бесплатная альтернатива на различных платформах, в том числе Linux. Наиболее простым и современным решением будут Google документы, так как открываются онлайн без скачивания прямо в браузере на любой платформе. Существуют российские качественные аналоги, например от Яндекса.
Будьте внимательны на мобильных устройствах, так как там используются упрощённый функционал даже в официальном приложении от Microsoft, поэтому для просмотра скачивайте PDF-версию. А если нужно редактировать файл, то используйте оригинальный файл.
Файлы такого типа обычно разбиты на страницы, а текст может быть форматированным (жирный, курсив, выбор шрифта, таблицы и т.п.), а также в него можно добавлять изображения. Формат идеально подходит для рефератов, докладов и РПЗ курсовых проектов, которые необходимо распечатать. Кстати перед печатью также сохраняйте файл в PDF, так как принтер может начудить со шрифтами.
















