Пояснительная записка (986873), страница 3
Текст из файла (страница 3)
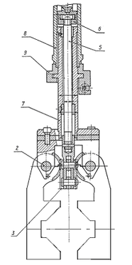
Преимуществом исполнительных механизмов с переменным передаточным отношением является возможность достижения больших усилий зажима. Однако наибольшие усилия достигаются обычно лишь в узком диапазоне рабочих перемещений.
В связи с этим для обеспечения надежного удержания объектов манипулирования при широком диапазоне их размеров необходимо использовать в ЗУ исполнительные механизмы с постоянным передаточным механизмом (например, зубчато-реечные, винтовые, некоторые рычажные и др.) или предусматривать переналадку исполнительных механизмов с переменным передаточным отношением (например, рычажного типа).
Н
а рисунке 9 показан вариант конструкции однопозиционного схвата для деталей типа дисков и фланцев, имеющих широкий диапазон диаметров. Рассматриваемая конструкция обеспечивает центрирование детали независимо от диаметра. Высокая стабильность установки (0,05 – 0,07 мм) достигается за счет профилирования губок схвата.
Д
Рис. 9. Захватное устройство робота
ве пары рычагов 1, выполненных заодно с зажимными губками, свободно установлены на своих осях 2. На рычагах нарезаны зубчатые секторы, входящие попарно в зацепление с рейками 3, которые связаны между собой рычагами 4, образующими шарнирный параллелограмм. Шарнирный параллелограмм обеспечивает независимую работу каждой пары зажимных рычагов 1, что необходимо для захватывания и центрирования деталей. Место соединения тяги 5 с гнездом, выполненным во втулке 6 привода зажима и разжима схвата, а также байонетное соединение хвостовика 7 схвата с головкой шпинделя 8 кисти руки унифицированы. Предусмотрены два исполнения унифицированного захватного устройства: сменное и быстросменное. В сменном захватном устройстве хвостовик 7 крепится к шпинделю 8 кисти руки при помощи байонетного замка 9, накидного рычага 10 с резьбой и гайки 11. В быстросменном захватном устройстве применяется только байонетное крепление 9, которое может быть использовано и при автоматической смене схвата. При установке хвостовик 7 вводится в гнездо с одновременным отжимом фиксатора 10, который при повороте схвата на 90° входит под действием пружины в отверстие во фланце.6. Выбор инструмента
Инструмент Т1
Для сверления отверстия выбираем сверло со сменными пластинами CoroDrill 880.
Инструмент Т2
Для растачивания внутренних поверхностей выбираем расточной резец CoroTurn 107.
7. Расчетная часть
7.1. Расчет режимов резания
Переход 1: Сверление отверстия Ø52 мм
1) Расчет длины рабочего хода (
):
(по табл.) – длина подвода, врезания и перебега инструмента;
– дополнительная длина хода, вызванная в отдельных случаях особенностями наладки и конфигурации детали;
2) Назначение подачи на оборот шпинделя станка (
):
3) Определение стойкости инструмента по нормативам (
):
(по табл.) – стойкость машинной работы станка;
– коэффициент времени резания;
4) Расчет скорости резания (v) и числа оборотов шпинделя в минуту (n):
(по табл.) – коэффициент, зависящий от обрабатываемого материала;
(по табл.) – коэффициент, зависящий от стойкости и материала реж. части;
(по табл.) – коэффициент, от вида обработки;
5) Расчет основного машинного времени обработки (
):
6) Сила резания, мощность, крутящий момент:
Переход 2: Растачивание отверстия до Ø80 мм
1) Расчет длины рабочего хода (
):
(по табл.) – длина подвода, врезания и перебега инструмента;
– дополнительная длина хода, вызванная в отдельных случаях особенностями наладки и конфигурации детали;
2) Назначение подачи на оборот шпинделя станка (
):
3) Определение стойкости инструмента по нормативам (
):
(по табл.) – стойкость машинной работы станка;
– коэффициент времени резания;
4) Расчет скорости резания (v) и числа оборотов шпинделя в минуту (n):
(по табл.) – коэффициент, зависящий от обрабатываемого материала;
(по табл.) – коэффициент, зависящий от стойкости и материала реж. части;
(по табл.) – коэффициент, от вида обработки;
5
) Расчет основного машинного времени обработки (
):
Переход 3: Растачивание отверстия до Ø56 мм
1) Расчет длины рабочего хода (
):
(по табл.) – длина подвода, врезания и перебега инструмента;
– дополнительная длина хода, вызванная в отдельных случаях особенностями наладки и конфигурации детали;
2) Назначение подачи на оборот шпинделя станка (
):
3) Определение стойкости инструмента по нормативам (
):
(по табл.) – стойкость машинной работы станка;
– коэффициент времени резания;
4) Расчет скорости резания (v) и числа оборотов шпинделя в минуту (n):
(по табл.) – коэффициент, зависящий от обрабатываемого материала;
(по табл.) – коэффициент, зависящий от стойкости и материала реж. части;
(по табл.) – коэффициент, от вида обработки;
5
) Расчет основного машинного времени обработки (
):
Переход 4: Растачивание отверстия до Ø65 мм
1) Расчет длины рабочего хода (
):
(по табл.) – длина подвода, врезания и перебега инструмента;
– дополнительная длина хода, вызванная в отдельных случаях особенностями наладки и конфигурации детали;
2) Назначение подачи на оборот шпинделя станка (
):
3) Определение стойкости инструмента по нормативам (
):
(по табл.) – стойкость машинной работы станка;
– коэффициент времени резания;
4) Расчет скорости резания (v) и числа оборотов шпинделя в минуту (n):
(по табл.) – коэффициент, зависящий от обрабатываемого материала;
(по табл.) – коэффициент, зависящий от стойкости и материала реж. части;
(по табл.) – коэффициент, от вида обработки;
5
) Расчет основного машинного времени обработки (
):
7.2. Расчет шпинделя на прочность и жесткость
Рис. 8. Расчетная схема шпинделя:
а) в горизонтальной плоскости;
б) в вертикальной плоскости.
Исходные данные:
Расчетный крутящий момент – Мкш = 17,2 кгс·м.
Сила резания – Pz =1510 кгс, Py =0,5 · Pz = 755 кгс,
кгс.
Расчет:
Перемещение шпинделя на конце и угол поворота его сечения в передней опоре:
После суммирования деформаций в двух плоскостях получим:
Полученные значения удовлетворяют принятым нормативам:
7.3. Расчет схвата руки ПР
Механизм зажима/разжима схвата робота работает от пневмоцилиндра. Необходимо рассчитать силу и давление, которое необходимо создать в пневмосистеме для того, чтобы деталь (заготовка) не выпала из схвата.
Рис. 9. Расчетная схема схвата руки ПР
Исходные данные:
Масса заготовки: mзаг ≈ 9 кг.
Плечи сил: a = 0,03 м, L = 0,09 м.
Поверхности трения: сталь – сталь
Коэффициент трения схвата робота о заготовку: f = 0,15
Расчет зажимной силы:
1) Удержание заготовки в схвате робота обеспечивается силой зажима, следствием действия которой является сила трения:
2) Сила зажима заготовки:
3) Усилие, необходимое для удержания заготовки в схвате:
Расчет пневмоцилиндра:
1) Таблица соответствия диаметров поршня и штока:
| Dпоршня, мм | dштока , мм |
| 50 | 18 |
| 63 | 20 |
| 80 | 25 |
| 100 | 25 |
| 125 | 32 |
Выберем из таблицы: D = 0,063 м, d = 0,020 м.
2) Площади левой части S1 и правой части S2 пневмоцилиндра:
3) Примем давление в левой части пневмоцилиндра p1 = 5 Атм, а в правой части p2 = 1 Атм.
4) Баланс сил определяется соотношением:
где k = 0,9 – эмпирический коэффициент, учитывающий потери на трение поршня о стенки пневмоцилиндра.
Усилие цилиндра Fн = 1085 Н, что больше силы удержания заготовки в схвате Fуд. = 882 Н, следовательно, выбранные из таблицы значения диаметров поршня и штока считаются правильно выбранными.
















