Пояснительная записка (986869), страница 2
Текст из файла (страница 2)
Запишем, например, уравнение кинематического баланса для максимальной подачи в вертикальном направлении бокового суппорта:
Уравнение минимальной подачи в горизонтальном направлении верхнего суппорта:
Быстрые перемещения суппортов осуществляются от электродвигателя М2 (N = 3 кВт; n = 1365 об/мин) через передачи z = 20–66–75 и далее по тем же кинематическим цепям, что и для рабочих подач. Вертикальное перемещение поперечины осуществляется от реверсивного электродвигателя М3 (N = 2 кВт, n = 900 об/мин) через червячные редукторы z = 2–34. Зубчатая муфта М27 служит для установки поперечины параллельно рабочей поверхности планшайбы. Поворот полумуфты на один зуб дает величину перемещения поперечины на 0,005 мм.
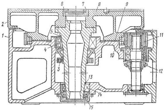
Поворот револьверной головки в следующую позицию происходит от электродвигателя М4 (N = 0,8 кВт, n = 1350 об/мин) через передачи z = 18–34–45 и приводной вал XXXV. Перемещаясь вверх, вал XXXV с рейкой модулем m = 3 мм через косозубое колесо z = 31 (разрез К–К) и винт XXXVI с шагом P = 12 мм отжимает револьверную головку. Вал XXXV перемещается до тех пор, пока рейка не упрется в торец гайки. Перед этим конечный выключатель отключит М26 и гайка с насаженным на нее червяком z = 1 начнет вращаться, тогда через передачи z = 1–25, z = 18–72 произойдет поворот револьверной головки на 1/5 часть. Затем микропереключатель даст команду на реверс электродвигателя, в результате обратным движением вала XXXV через рейку, косозубое колесо-гайку z = 31 и винт XXXVI происходит прижим револьверной головки к ползуну.
В отличие от базовой модели в станке 1512Ф2 имеется механизм автоматической смены позиций у четырехпозиционного резцодержателя. Поворот резцедержателя осуществляется от отдельного электродвигателя через планетарный редуктор и коническую зубчатую пару.
Датчики обратной связи на сельсинах устанавливают на револьверном суппорте:
а) по горизонтали (ось X),
б) по вертикали (ось Z);
на боковом суппорте:
а) по горизонтали (ось W),
б) по вертикали (ось V).
Конструкции всех узлов обеспечивают высокую точность и долговечность работы. Так, на направляющих бокового суппорта сделаны бронзовые накладки для повышения их износоустойчивости. Ползун вертикального суппорта имеет прямоугольное сечение с диагональными ребрами для обеспечения жесткости; ребрами усилены и поперечные салазки. Для выбора зазора, уменьшения износа направляющих и облегчения перемещения суппорта установлены специальные разгрузочные устройства. Перемещения суппортов ограничены конечными выключателями.
2.5. Стол станка
Стол (рис. 3) состоит из корпуса 1, планшайбы 8 со шпинделем 6, круговых направляющих с текстолитовыми накладками 9 и привода планшайбы. Корпус стола имеет большую жесткость за счет ребер. Лабиринт 2 препятствует разбрызгиванию смазки. Планшайба представляет собой полый диск с рядом внутренних и кольцевых ребер. Для точной установки по центру планшайбы деталей или установочных приспособлений в ней расточено центрирующее отверстие, предохраняемое от забоин специальной заглушкой 7.
Для обеспечения плавности работы при значительной быстроходности станков цилиндрические колеса 10, 11 сделаны косозубыми, а коническое колесо 12 с круговым зубом. Шпиндель 6 имеет в качестве опор двухрядные роликовые подшипники 4 и 14. Регулировку подшипников осуществляют гайками 3 и 15 с одновременным подшлифовыванием компенсаторов 5 и 13.
Рис. 3. Стол станка 1512Ф2
3. Напольный промышленный робот
Многоцелевые промышленные роботы (ПР) типа «Универсал-20» применяются для автоматизации погрузочно-разгрузочных работ, обслуживания различного технологического оборудования, межоперационного и межстаночного транспортирования объектов обработки и выполнения других вспомогательных операций.
3.1. Техническая характеристика робота
| Грузоподъемность | 20 кг |
| Число степеней подвижности | 6 |
| Наибольшая величина перемещения: | |
| – вокруг вертикальной оси I–I | 340 |
| – вдоль оси I-I | 400 мм |
| – вдоль горизонтальной оси III–III | 630 мм |
| – вокруг вертикальной оси II–II | 240 |
| – вокруг оси III–III | 180 |
| – вокруг оси IV–IV | 180 |
| Наибольшая скорость: | |
| – вокруг оси I–I поворота. | 84 град/с |
| – вертикального хода руки вдоль оси I–I | 0.27 м/с |
| – выдвижение руки вдоль оси III–III | 1.08 м/с |
| – поворота руки вокруг оси II–II | 132 град/c |
| Точность позиционирования | 1 мм |
| Масса | 870 кг |
3.2. Основные механизмы робота
Рис. 4. Общий вид промышленного робота «Универсал-20»
Общий вид робота приведен на рисунке 4. Исполнительным механизмом ПР является манипулятор, который обеспечивает установку в пределах рабочей зоны захватного механизма схвата. Манипулятор имеет четыре степени подвижности руки 1 в сферической системе координат, которые реализуются механизмами: поворота 2 относительно оси II–II, выдвижения руки 3 вдоль оси III–III, поворота руки 4 относительно вертикальной оси I–I, подъема руки 5 вдоль оси I–I. Две ориентирующие степени подвижности рабочего органа-схвата 7 создают механизмы вращения кисти руки 6 относительно ее продольной оси III–III и поперечной оси IV–IV. Подвижные механизмы манипулятора защищены от попадания пыли, грязи и масла ограждением 8.
Установочные перемещения руки осуществляются с помощью электромеханических следящих приводов, а ориентирующие движения кисти руки и зажим-разжим схвата – пневмоцилиндрами.
Пневмоблок 9, которым комплектуется ПР, предназначен для подготовки, регулирования подачи сжатого воздуха из заводской сети и блокирования работы манипулятора при падении давления ниже допустимого.
Блок тиристорных электроприводов 10 формирует управляющие напряжения в якорной цепи электродвигателей постоянного тока.
Устройство программного управления 11 позиционного типа имеет возможность записи программы в режиме обучения (по первому циклу) и формирует управляющие сигналы на блок 10, а также технологические команды управления циклом работы манипулятора и обслуживаемого оборудования.
Блоки тиристорного электропривода ЭПТ6-У20 обеспечивают управление в следящем режиме электродвигателями постоянного тока типа СЛ-569 и СЛ-661, установленными в механизмах четырех программируемых степеней подвижности манипулятора.
Механизмы электроприводов включают в себя зубчатые или червячные редукторы, параметры которых, даны в кинематической схеме. Обратная связь исполнительных механизмов манипулятора по положению, и скорости осуществляется потенциометрическими датчиками типа ППМЛ, приводящимися с помощью зубчатых редукторов и тахогенераторов типа СЛ-121, которые приводятся в движение специальными зубчатыми или ременными механизмами.
Также пневмоблок предназначен для циклового управления двумя ориентирующими движениями кисти руки и захватным устройством. Приводы этих движений осуществляются от пневмоцилиндров. Для преобразования поступательного перемещения поршня во вращательное движение кисти руки используются винтовой копир (в приводе поворота кисти руки относительно ее продольной оси) и передача рейка-шестерня (в приводе качания кисти относительно поперечной оси). Привод зажима и разжима губок схвата осуществляется рычажным механизмом, присоединенным к штоку пневмоцилиндра. Соединение механизмов манипулятора между собой и устройством аналогового позиционного программного управления типа АПС-1 производится в соответствии с принципиальной электрической схемой.
3.3. Захватное устройство робота
Преимуществом исполнительных механизмов с переменным передаточным отношением является возможность достижения больших усилий зажима. Однако наибольшие усилия достигаются обычно лишь в узком диапазоне рабочих перемещений.
В
связи с этим для обеспечения надежного удержания объектов манипулирования при широком диапазоне их размеров необходимо использовать в ЗУ исполнительные механизмы с постоянным передаточным механизмом (например, зубчато-реечные, винтовые, некоторые рычажные и др.) или предусматривать переналадку исполнительных механизмов с переменным передаточным отношением (например, рычажного типа).
Н
Рис. 5. Захватное устройство робота
а рисунке 5 показан вариант конструкции однопозиционного схвата для деталей типа дисков и фланцев, имеющих широкий диапазон диаметров. Рассматриваемая конструкция обеспечивает центрирование детали независимо от диаметра. Высокая стабильность установки (0,05 – 0,07 мм) достигается за счет профилирования губок схвата.Две пары рычагов 1, выполненных заодно с зажимными губками, свободно установлены на своих осях 2. На рычагах нарезаны зубчатые секторы, входящие попарно в зацепление с рейками 3, которые связаны между собой рычагами 4, образующими шарнирный параллелограмм. Шарнирный параллелограмм обеспечивает независимую работу каждой пары зажимных рычагов 1, что необходимо для захватывания и центрирования деталей. Место соединения тяги 5 с гнездом, выполненным во втулке 6 привода зажима и разжима схвата, а также байонетное соединение хвостовика 7 схвата с головкой шпинделя 8 кисти руки унифицированы. Предусмотрены два исполнения унифицированного захватного устройства: сменное и быстросменное. В сменном захватном устройстве хвостовик 7 крепится к шпинделю 8 кисти руки при помощи байонетного замка 9, накидного рычага 10 с резьбой и гайки 11. В быстросменном захватном устройстве применяется только байонетное крепление 9, которое может быть использовано и при автоматической смене схвата. При установке хвостовик 7 вводится в гнездо с одновременным отжимом фиксатора 10, который при повороте схвата на 90° входит под действием пружины в отверстие во фланце.
4. Транспортно-накопительная система
Для накопления заготовок и позиционирования их пол захват роботом с учетом достаточно большой длительности цикла обработки заготовок выбираем тактовый стол. Тактовый стол является одной из разновидностей тележечных грузонесущих конвейеров. Широкое разнообразие их использования обусловило большое число их конструктивных разновидностей.
















