Воронин 3 вариант (986547)
Текст из файла
Государственное образовательное учреждение
высшего профессионального образования
«Московский государственный технический университет имени Н.Э. Баумана»
(МГТУ им. Н.Э.Баумана)
________________________________________________________________________
Факультет
«Специальное машиностроение»
Домашнее задание по дисциплине
«Эффективность ГМ специального назначения»
Оценка подвижности ГМ по совокупности
внешних условий движения
Выполнила: Воронин А.В.
Группа: СМ9-111
Проверил: Бекетов С.А.
Москва, 2019 г.
Содержание
1. Исходные данные 3
2. Построение функции быстроходности ГМ по 4
тяговым возможностям ФsТ(V) 4
3. Построение функции быстроходности ГМ по 5
прямым ограничениям Фs0(V) 5
4. Построение общей функции быстроходности ГМ 6
с учетом всех ограничений Фs(V) 6
5. Построение функции распределения условного коэффициента 7
сопротивления Fs(fy) 7
7. Список используемой литературы 8
1. Исходные данные
Варианты заданий представлены в таблице 1.
Табл. 1
| № пп | Характеристики ГМ | Характеристики ДГУ (табл.4,6,7) | ||
| Тяговая характеристика (табл. 2) | Удельные потери в ГД (табл. 3) | Скоростная характеристика (табл. 5) | ||
| 3 | 3 | 1 | 3 | 1 |
Тяговая характеристика на ведущих колесах
Табл. 2
| № пп | Характеристики объекта | Тяговая характеристика на ведущих колесах | ||||||||||||
| 3 | N=810кВт G=460кН | Передача | I | II | III | IV | ||||||||
| V,км/ч | 3,2 | 9,6 | 16 | 6,5 | 19,4 | 32,4 | 9,6 | 28,7 | 47,9 | 14 | 42 | 70 | ||
| fвк | 0,66 | 0,45 | 0,28 | 0,33 | 0,22 | 0,14 | 0,22 | 0,15 | 0,09 | 0,15 | 0,1 | 0,064 | ||
Удельные потери в ходовой части
Табл. 3
| Вариант | Скорость V, км/ч | 0 | 10 | 20 | 30 | 40 | 50 | 60 | 70 |
| 1 | Уд. Потери в х.ч. fхч 10-2 | 1,1 | 1,3 | 1,6 | 2,1 | 2,7 | 3,5 | 4,6 | 6,0 |
Функция распределения коэффициента сопротивления движению Fs(fc)
Табл. 4
| Вариант | fc | -0,12 | -0,08 | -0,04 | 0 | 0,04 | 0,08 | 0,12 | 0,16 | 0,2 | 0,28 |
| 1 | Fs(fc) | 0 | 0 | 0,04 | 0,2 | 0,5 | 0,77 | 0,92 | 0,97 | 1,0 | 1,0 |
Скоростная характеристика системы подрессоривания
Табл. 5
| Вариант | Скорость V, км/ч | 8 | 10 | 12 | 14 | 16 | 20 | 25 | 30 |
| 3 | Высоты неровностей h, м | - | 0,26 | 0,21 | 0,19 | 0,17 | 0,16 | 0,15 | 0,15 |
Функция распределения высот неровностей местности Fs(h)
Табл. 6
| Вариант | h, м | 0 | 0,04 | 0,08 | 0,12 | 0,16 | 0,20 | 0,24 | 0,28 | 0,32 |
| 1 | Fs(h) | 0 | 0,35 | 0,65 | 0,85 | 0,93 | 0,99 | 1,0 | 1,0 | 1,0 |
Функция быстроходности ГМ по заносу Фsз(V)
Табл. 7
| Вариант | Скорость V, км/ч | 0 | 15 | 30 | 45 | 60 | 75 |
| 1 | Фsз(V) | 1,0 | 1,0 | 0,96 | 0,83 | 0,66 | 0,45 |
2. Построение функции быстроходности ГМ по
тяговым возможностям ФsТ(V)
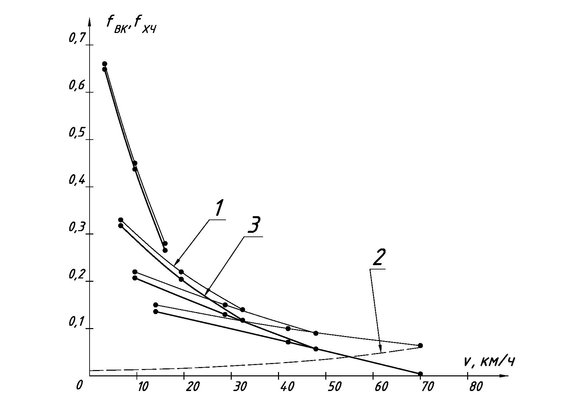
На рисунке 1 представлена тяговая характеристика ГМ на грунте:
-
– Тяговая характеристика ГМ на ведущих колесах (таблица 1)
-
– Зависимость удельных потерь в ходовой части от скорости движения ГМ
-
– Тяговая характеристика на грунте
Рис. 1. Тяговая характеристика ГМ на грунте.
В первом квадранте представлена тяговая характеристика ГМ на грунте. Во втором квадранте стоится функция распределения коэффициента сопротивления движению ГМ. Через вспомогательную прямую строится функция быстроходности по тяговым возможностям ГМ (рисунок 2).
Рис. 2. Функция быстроходности ГМ по тяговым возможностям ФST(V).
3. Построение функции быстроходности ГМ по
прямым ограничениям ФS0(V)
На рисунке 3 представлена функция быстроходности ГМ по прямым ограничения ФSO(V) с учетом функции быстроходности по системе подрессоривания ФSП(V) и по заносу ФSЗ(V):
ФSО(V) = ФSП(V)·ФSЗ(V).
В первом квадранте строится скоростная характеристика подрессоривания (таблица 4). Во втором квадранте строится функция распределения высот неровностей местности Fs(h) (таблица 5). Через вспомогательную прямую строится функция быстроходности по системе подрессоривания. В четвертом квадранте строится функция быстроходности ГМ по заносу ФSЗ(V) (таблица 6).функция быстроходности по прямым ограничениям получается перемножением функции быстроходности по заносу и по системе подрессоривания.
Рис. 3. Функция быстроходности ГМ по прямым ограничениям Фs0(V).
4. Построение общей функции быстроходности ГМ
с учетом всех ограничений Фs(V)
На рисунке 4 представлена функция быстроходности Гм с учетом всех ограничений Фs(V). Перемножается функция быстроходности по тяговым характеристикам ГМ и по прямым ограничениям.
Фs(V) = Фs0(V)·[PTO·ФsT(V)+ PO]
PTO = 0,8; PO = 0,2
Рис. 4. Функция быстроходности ГМ с учетом всех ограничений Фs(V)
5. Построение функции распределения условного коэффициента
сопротивления Fs(fy)
В первом квадранте (с тяговой характеристикой) строится идеальная тяговая характеристика ГМ по следующей формуле:
Принимая что, функция быстроходности для реальной и идеальной машины совпадают, мы можем построить функцию распределения условного коэффициента сопротивления Fs(fy). Площадь под этой функцией – математическое ожидание условного коэффициента сопротивления движению.
Рис. 5. Функция распределения условного коэффициента сопротивления Fs(fy)
Определим среднюю скорость движения гусеничной машины:
6. Заключение
В ходе выполнения оценки подвижности ГМ по совокупности внешних условий графическим методом было получено значение средней скорости движения ГМ:
7. Список используемой литературы
1. Конспект лекций по курсу «Эффективность ГМ специального назначения»
8
Характеристики
Тип файла документ
Документы такого типа открываются такими программами, как Microsoft Office Word на компьютерах Windows, Apple Pages на компьютерах Mac, Open Office - бесплатная альтернатива на различных платформах, в том числе Linux. Наиболее простым и современным решением будут Google документы, так как открываются онлайн без скачивания прямо в браузере на любой платформе. Существуют российские качественные аналоги, например от Яндекса.
Будьте внимательны на мобильных устройствах, так как там используются упрощённый функционал даже в официальном приложении от Microsoft, поэтому для просмотра скачивайте PDF-версию. А если нужно редактировать файл, то используйте оригинальный файл.
Файлы такого типа обычно разбиты на страницы, а текст может быть форматированным (жирный, курсив, выбор шрифта, таблицы и т.п.), а также в него можно добавлять изображения. Формат идеально подходит для рефератов, докладов и РПЗ курсовых проектов, которые необходимо распечатать. Кстати перед печатью также сохраняйте файл в PDF, так как принтер может начудить со шрифтами.
















