Лаб. раб. № 3 (975214)
Текст из файла
4
Л
ЛАБОРАТОРНАЯ РАБОТА №3
ИССЛЕДОВАНИЕ СМЕНЫ РЕЖИМОВ ТЕЧЕНИЯ
абораторная работа №3Исследование смены режимов течения
Задачи работы
Ознакомиться с ламинарным и турбулентным режимами течения вязкой жидкости в круглой трубе и исследовать процессы смены этих режимов.
Описание установки
Кинематические и динамические характеристики потока существенно зависят от режима движения жидкости. Результаты опытов показывают, что в зависимости от числа Рейнольдса Re возможны два резко различающиеся по своим свойствам режимы движения: ламинарный и турбулентный.
Изменение режима движения жидкости можно наблюдать на приборе Рейнольдса (рис. 3.1).
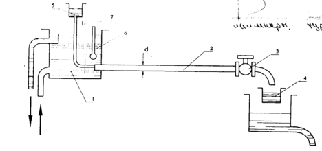
5
1
2
3
4
7
6
d
Рис. 3.1. Схема установки
Прибор состоит из успокоительного бака 1, к которому присоединена прозрачная труба 2 с краном 3 для регулирования расхода воды. В состав установки входит также бачок 5 с краской (плотность краски близка к плотности воды), к которому присоединена тонкая трубка с краном 7.
С помощью крана 3 в трубе устанавливается небольшой расход, при котором режим движения будет ламинарным. Если при этом, открыв кран 7, впускать в поток краску, то резко очерченная тонкая струйка краски, не размываясь, будет двигаться прямолинейно вместе с окружающим потоком воды по всей длине трубы, свидетельствуя о наличии в трубе ламинарного, т.е. слоистого, движения без перемешивания частиц потока.
Постепенное увеличение расхода в трубе, достигаемое открыванием крана 3, приводит в начале к появлению интенсивно нарастающих колебаний струйки краски, а затем (при достижении критической скорости
, соответствующей Reкр) к её быстрому размыванию и перемешиванию с потоком воды. Это свидетельствует о появлении в потоке беспорядочных поперечных движений частиц жидкости, обусловленных переходом режима движения от ламинарного к турбулентному.
При постепенном закрывании крана 3 явление повторяется в обратном порядке. Однако переход от турбулентного режима к ламинарному происходит при скорости, меньшей той, при которой наблюдается переход от ламинарного движения к турбулентному.
Рейнольдс установил наличие двух критических скоростей: одной – при переходе ламинарного режима движения в турбулентный режим (верхней критической скорости
), другой – при переходе турбулентного режима в ламинарный (нижней критической скорости
). Опытным путем доказано, что значение верхней критической скорости зависит от внешних условий опыта: постоянства температуры, уровня вибрации установки и т.д. Нижняя критическая скорость в широком диапазоне изменения внешних условий остается практически неизменной.
При течении жидкости кинематической вязкостью
со средней по сечению скоростью
в круглой трубе диаметром d число Рейнольдса определяется следующим образом:
По опытным данным численные значения нижнего и верхнего критических чисел Рейнольдса соответственно равны: Re н. кр.= 2300, Re в. кр.= 12000–13000 .
Порядок выполнения работы.
1. Записать со стенда численное значение диаметра трубы 2: d=18 мм.
2. Термометром измерить температуру t воды и затем по графику
определить кинематическую вязкость жидкости.
3. С помощью крана 3 установить в трубе 2 ламинарный режим* и измерить при этом расход жидкости весовым способом.
4. Постепенно изменяя открытие крана 3, перейти от ламинарного к турбулентному режиму, а затем осуществить переход в обратном направлении. В каждом случае определить расход жидкости.
5. Для каждого из установленных режимов вычислить среднюю по сечению скорость
жидкости и рассчитать по формуле (3.1) число Рейнольдса.
6. Сделать вывод о совпадении или не совпадении визуальных наблюдений за режимом течения и рассчитанных значений чисел Рейнольдса.
* Визуальное определение режима течения (по поведению подкрашенной жидкости) фиксируется на бланке лабораторной работы в графе «режим течения».
Характеристики
Тип файла документ
Документы такого типа открываются такими программами, как Microsoft Office Word на компьютерах Windows, Apple Pages на компьютерах Mac, Open Office - бесплатная альтернатива на различных платформах, в том числе Linux. Наиболее простым и современным решением будут Google документы, так как открываются онлайн без скачивания прямо в браузере на любой платформе. Существуют российские качественные аналоги, например от Яндекса.
Будьте внимательны на мобильных устройствах, так как там используются упрощённый функционал даже в официальном приложении от Microsoft, поэтому для просмотра скачивайте PDF-версию. А если нужно редактировать файл, то используйте оригинальный файл.
Файлы такого типа обычно разбиты на страницы, а текст может быть форматированным (жирный, курсив, выбор шрифта, таблицы и т.п.), а также в него можно добавлять изображения. Формат идеально подходит для рефератов, докладов и РПЗ курсовых проектов, которые необходимо распечатать. Кстати перед печатью также сохраняйте файл в PDF, так как принтер может начудить со шрифтами.















