11 (970502)
Текст из файла
11) Способы снижения содержания газов в стали:
1) Обработка металла синтетическим шлаком
Синтетический шлак выплавляют и заливают в ковш . В этот же ковш заливают сталь. При перемешивании поверхность контакта резко возрастает и реакции протекают гораздо быстрее., чем в плавильной печи. Таким образом понижают содержание кислорода и примесей.
2) Вакуумирование стали
Вакуумирование стали производят для понижения концентрации водорода, кислорода, азота и неметаллических включений. Вакуумирование может быть: в ковше, циркуляционное и поточное, струйное и порционное. При вакуумной обработке стали происходит раскисление углеродом, т.к. при снижении давления в камере концентрации углерода и кислорода становятся избыточными и появляется возможность окисления углерода. Вакуумирование сопровождается кипением металла.
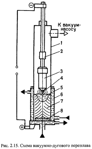
3) Вакуумно-дуговой переплав
| Применяют для удаления газов и неметаллических включений. При подаче напряжений между расходуемым электродом-катодом и затравкой-анодом возникает дуга. Выделяющаяся теплота расплавляет конец электрода. Капли жидкого металла проходя зону дугового разряда дегазируются. |
Характеристики
Тип файла документ
Документы такого типа открываются такими программами, как Microsoft Office Word на компьютерах Windows, Apple Pages на компьютерах Mac, Open Office - бесплатная альтернатива на различных платформах, в том числе Linux. Наиболее простым и современным решением будут Google документы, так как открываются онлайн без скачивания прямо в браузере на любой платформе. Существуют российские качественные аналоги, например от Яндекса.
Будьте внимательны на мобильных устройствах, так как там используются упрощённый функционал даже в официальном приложении от Microsoft, поэтому для просмотра скачивайте PDF-версию. А если нужно редактировать файл, то используйте оригинальный файл.
Файлы такого типа обычно разбиты на страницы, а текст может быть форматированным (жирный, курсив, выбор шрифта, таблицы и т.п.), а также в него можно добавлять изображения. Формат идеально подходит для рефератов, докладов и РПЗ курсовых проектов, которые необходимо распечатать. Кстати перед печатью также сохраняйте файл в PDF, так как принтер может начудить со шрифтами.















