Литье. исправлено (970230), страница 15
Текст из файла (страница 15)
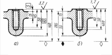
На виде е показана правильная система простановки размеров. В качестве черновой базы выбрана верхняя, необрабатываемая поверхность фланца. К ней размером 15 мм привязана база механической обработки (нижняя плоскость фланца). К базе механической обработки привязана обрабатываемая верхняя плоскость (размер 200 мм). Верхняя черная поверхность, координируется от литейной базы (размер 175 мм) и от нее – толщина верхней стенки (размер 5 мм).
Расстояние
между верхней обрабатываемой плоскостью и верхней черной стенкой становится замыкающим звеном размерной цени и служит компенсатором отклонений расположения поверхностей, получаемых литьем. Поскольку величина к на чертеже не оговорена, ее не принимают в расчет при контроле детали. Разумеется, номинальное значение к должно быть больше максимально возможного смещения верхней стенки в результате неточности литья.
Примеры неправильного и правильного нанесения размеров на литых деталях приведены на рис.6.27 и 6.28 (неправильно нанесенные размеры заключены в прямоугольные рамки).
Рис.6.27. Примеры неправильного и правильного нанесения размеров на литых деталях.
Р
ис.6.28. Правильное и неправильное нанесение размеров на бобышках.
5.Точность размеров отливок
Точность размеров деталей, изготовляемых литьем под давлением, необходимо рассматривать в двух аспектах: во-первых, с точки зрение требований, гарантирующих нормальную работу механизмов пресс-формы и, во-вторых, с точки зрения технологических возможностей достижения минимальных колебаний размеров отливок. Точность размеров реальной отливки оценивается соответствием их номинальным размерам, указанным на чертеже.
Наибольший экономический эффект при изготовлении отливок достигается в тех случаях, когда отливка после удаления из пресс-формы почти не подвергается механической обработке. Вместе с тем решение вопроса о необходимости механической обработки возможно только на основе знания точности, которую можно получить в процессе литья под давлением. Количественным критерием точности должна служить наибольшая величина отклонений действительных размеров отливки от значений размеров, заданных конструктором.
В научно-технической литературе по литью под давлением вопросам точности размеров отливок уделено значительное внимание. Однако литературные данные довольно противоречивы из-за различия методик построения системы допусков. Это приводит к тому, что рекомендуемые в работах [33, 38] допуски на один и тот же размер отливки имеют значительные расхождения, в связи с чем во многих случаях при назначении допусков приходится учитывать производственный опыт.
В тех случаях, когда какой либо размер отливки с требуемой точностью невозможно получить литьем под давлением или экономически неоправданно из-за удорожания стоимости пресс-формы, назначают припуск на механическую обработку, который колеблется от 0,3 до 0,8 мм. В особых случаях допускается припуск на механическую обработку до 1,2 мм. Иногда, чтобы получить отливку требуемой точности без механической обработки, увеличивают затраты на изготовление пресс-фромы. Деталь пресс-фромы, оформляющую этот размер, делают в виде быстросменной вставки, что позволяет после испытания пресс-формы и измерения пробных отливок заменить ее или довести размер.
Факторы, влияющие на точность размеров отливок. При литье под давлением к факторам, вызывающим погрешности размеров отливок относят следующие: точность изготовления оформляющей полости пресс-формы; износ поверхностей пресс-формы; колебания усадки сплава; точность перемещения и сопряжения подвижных частей пресс-формы; деформация отливки при ее извлечении из формы.
Конструктор должен помнить, что точность изготовления оформляющей полости зависит от конфигурации отливки. Например, элементы формы образованные плоскостями, цилиндрическими и коническими поверхностями могут быть выполнены по пятому квалитету точности. Размеры, координирующие более сложные геометрические поверхности второго порядка могут быть выполнены по шестому квалитету с применением ручного труда. Очевидно, что это удорожает форму и снижает точность отливки.
Износ поверхности оформляющей полости формы происходит в результате царапания поверхности формы движущимся сплавом, термодинамическим ударом по поверхности при охлаждении отливки, химического взаимодействия сплава и материала формы. Износ выражается в образовании на поверхности формы трещин и сетки разгара. Дефект исправляется зачисткой формы на 0,05-0,1 мм. После нескольких зачисток форму приходится списывать. Здесь также износ формы зависит от конфигурации отливки. Меньше изнашиваются конические внутренние поверхности, любые поверхности с большим уклоном, стержни изнашиваются быстрее, чем полости. Наибольший износ происходит под действием алюминиевых и медных сплавов, наименьший – магниевых.
Колебания усадки сплава зависят от совокупности таких факторов, как стабильность технологического процесса, типа сплава, толщины стенок отливки, места подвода питателей, Конструкция детали определяет два вида усадки: затрудненную – для внутренних полостей и отверстий детали и свободную – для наружных поверхностей детали.
Все названные факторы являются случайными, приводят к рассеиванию размеров отливки и влияние их на точность очень трудно учитывать.
Для практических целей конструктору можно рекомендовать средние величины расчетных коэффициентов усадки (таб.23), разбив все отливки на две группы: с толщиной стенки до 3 мм и свыше 3 мм.
Таблица 23. Расчетные коэффициенты усадки.
| Сплавы | Толщина стенки отливки, мм | |||
| До 3 | Свыше 3 | |||
| Затрудненная | Свободная | Затрудненная | Свободная | |
| Цинковые | 0,4 | 0,5 | 0,5 | 0,6 |
| Алюминевые | 0,5 | 0,6 | 0,6 | 0,7 |
| Магнивые | 0,6 | 0,7 | 0,7 | 0,8 |
| Латунь | 0,6 | 0,7 | 0,7 | 0,9 |
Точность перемещения и сопряжения подвижных частей пресс-формы влияет на точность отливок, которые из-за сложности конфигурации располагаются в обеих полуформах. Наибольшую точность размеров можно получить, если они оформляются одной частью формы и не зависят от плоскости разъема.
Деформация отливки при извлечении из пресс-формы зависит от конфигурации самой детали (отливки) и во многом определяется правильно выбранными уклонами и конусностью. В тонкостенных отливках конструктор должен предусматривать утолщения, на которые будут давить толкатели.
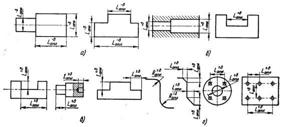
Классификация размеров отливок, изготавливаемых литьем под давлением основана на расположении отливок в форме. По этому признаку все размеры отливок можно разбить на три группы размеров, оформляемых: 1) в одной части формы, 2) в подвижной и неподвижной полуформах, 3) подвижными деталями формы. Кроме того по общим конструктивным признакам все названные размеры делятся на четыре группы: 1) охватываемые, 2) охватывющие, 3) открытые, 4) радиусы, фаски и расстояния между осями (рис.6.29)
Р
ис.6.29. Классификация размеров отливок.
Для литья под давлением очень важно не уменьшать без необходимости допуски на размеры (особенно на свободные размеры), так малые допуски повышают стоимость изготовления и сокращают срок службы формы.
Для практической работы в помощь конструктору с учетом влияния рассмотренных выше факторов приводятся дополнительные данные о допускаемых отклонениях в зависимости от конфигурации детали и положения ее различных элементов в форме, которые сведены в таблицу (см.табл.24) применительно к размерам формы, изображенной на рис.6.30.
Таблица 24. Предельные допускаемые отклонения на размеры отливок из сплавов алюминиевых, магниевых и цинковых, изготовленных способом литья под давлением (рис.6.30) [128, 129].
| Характеристика размеров и их обозначения | Отклонения в мм |
| Расстояние осей отверстий, заливаемых перпендикулярно к плоскости разъема формы, от базы измерения Размеры а и б | ±0,05 для размеров до 40 мм. Прибавляются ±0,025 для каждых последующих 25 мм или их частей. Если стержни размещены в двух различных половинках формы, добавить ±0,07. |
| Расстояние осей отверстий, заливаемых параллельно к плоскости разъема формы, от базы измерения Размеры к и л | ±0,07 для размера к, если стержень б находится в части Б формы; ±0,15 для размера л, если стержень Г находится в части А формы |
| Концентричное положение отверстий Размеры в, г, д, е | 0,025 между в и е для стержня в сквозном отверстии (как Е). 0,10 между г, д, е и в, когда стержень Е находится в стержне Д. Допуск применяется для отверстий диаметром больше 10 мм, длина которых превышает 1,5 диаметра. 0,025 между е, ж и з, если отверстия сделаны в той же части формы. |
| Размеры отверстий и углублений | Для алюминиевых и магниевых сплавов ±0,04 для размеров в, г, д, е, ж, з, не превышающих 20 мм. Добавить ±0,04 для каждых последующих 25 мм или их частей. Для цинковых сплавов ±0,02 для размеров в, г, д, е, ж, з, не превышающих 10 мм. Добавить ±0,025 для каждых последующих 25 мм или их частей |
| Размеры ступиц, приливов | ±0,05 для м < 32 мм, если обе торцовые поверхности находятся в одной части формы. Добавить ±0,025 для каждых последующих 25 мм или их частей. ±0,15 для н < 32 мм. Если обе торцовые поверхности находятся в различных частях формы. Добавить ±0,02 для каждых последующих 25 мм или их частей. ±0,15 для u 50 мм, если торцовая поверхность образована подвижным стержнем В. Добавить ±0,04 для каждых последующих 25 мм. или их частей. |
| Толщина стенок | ±0,07 для вертикальных стенок (размер о). ±0,10 для горизонтальных стенок (размер п) |
Отверстия и щели. В формах для литья под давлением можно заливать отверстия относительно небольшого диаметра (порядка 1-3 мм). Данные, касающиеся минимальных диаметров литых отверстий, а также длины слепых и сквозных отверстий, были приведены в табл. 15. По мере возможности отверстия следует применять недлинные, большого диаметра и расставлять их на небольшом расстоянии одно от другого.
Рис.6.30. Обозначения размеров формы для литья под давлением (допускаемые отклонения на размеры даны в табл.24).
88
О,















